§ 3. Форсунка
Форсунка, как и насос, также является весьма ответственной частью топливной системы дизеля. Служит она для распыла топлива, вводи мого в цилиндр. На дизеле установлена форсунка закрытою типа с диференциальной иглой, т. е. иглой разного диаметра.
Работа форсунки протекает следующим образом. Нефть от насоса по нагнетательной трубке 10 подводится к форсунке и заполняет канал а и камеру б (фиг. 10). Первоначально нефть, подаваемая насосом, не может попасть в цилиндр дизеля, так как конец иглы, плотно притёртый в своём гнезде, закрывает ей проход через сопловые отверстия форсунки.
Но при движении плунжера нефтяного насоса вверх давление нефти в камере б мгновенно возрастает. Это давление передаётся на заплечики иглы форсунки и стремится поднять её вверх, однако нажатие пружины 5 препятствует поднятию иглы.
В дальнейшем, когда давление настолько возрастёт, что сила нажатия нефти на иглу превысит усилие пружины, тогда игла мгновенно поднимется вверх. В момент поднятия иглы нефть через 9 отверстий сопла диаметром 0,3 мм под влиянием разности давления нефти (250 ат) и давления в цилиндре (30—35 ат) при очень большой скорости выбрасывается в цилиндр машины и воспламеняется.
Для хорошего распыла нефти игла должна быть тщательно притёрта к своему гнезду, а сопловые отверстия не должны быть забиты или разработаны.

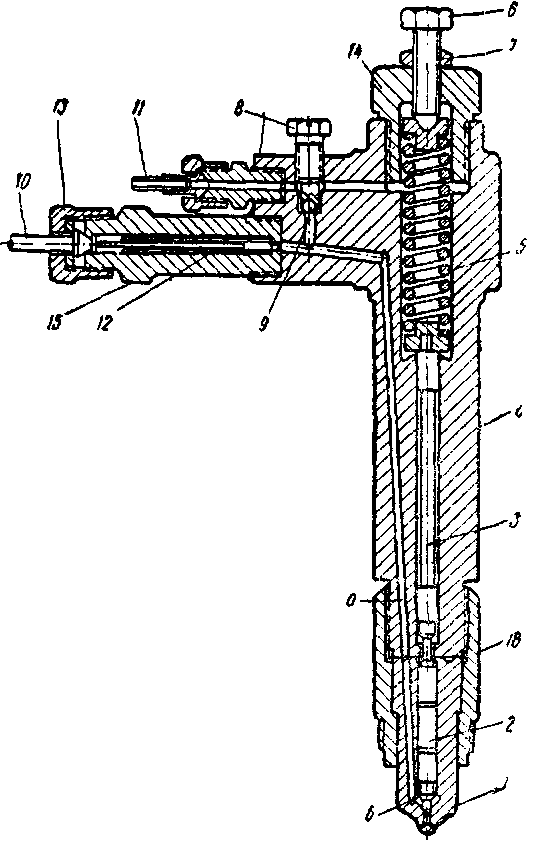
Фиг. 10. Форсунка
1—сопло форсунки, 2-игла,
3— промежуточный стержень,
4— корпус форсунки, 5—пружина, б—регулирующий болт 7—контргайка, 8—контрольный болт, 9- шаровой клапан, 10 — нагнетательная трубка, 11—отводная трубка, 12- фильтр, 13—накидная гайка сопла, /./-стопорная гайка, 15—штуцер
Форсунка перед постановкой на дизель должна быть проверена на специальном испытательном стенде.
Исправная и правильно собранная форсунка должна отвечать следующим требованиям:
1) не давать подтёков (капель);
2) производить хороший распыл нефти по выходе из сопла (в виде тумана);
3) производить подачу топлива одинаково через все отверстия и образовывать правильный конус распыла.
Давление нефти в топливной системе изменяется нажатием пружины при помощи болта 6. При ввёртывании этого болта давление нефти будет возрастать, и наоборот, при вывёртывании уменьшаться. Нормальное давление, устанавливаемое по манометру стенда, считается 250 ат.
При попадании в нефтяную трубку или канал а воздуха насос может отказать в подаче топлива в цилиндр. В этом случае необходимо отвернуть контрольный болт 8, чтобы освободить клапан 9. Тогда воздух уйдёт по отводной трубке 77 в атмосферу, после чего болт 8 должен быть завёрнут. Возможны пропуски нефти через иглу в пространство, где размещена пружина. Эта нефть по отводной трубке 77 сливается в топливные баки. Следует помнить* что при исправном шаровом клапане 9 и хорошо пригнанной и не разработанной игле отлив нефти очень невелик и не превышает 3—5- капель в минуту. При большом отливе неисправность следует искать в форсунке.










