6.5. Охлаждающие устройства для воды, масла и наддувочного воздуха
Назначение и типы охлаждающих устройств. Охлаждающие устройства тепловозных дизелей представляют собой совокупность узлов и агрегатов тепловоза, предназначенных для отвода и рассеивания в окружающую среду тепла от охлаждающих жидкостей (воды и масла), а также для охлаждения рабочего воздуха. К охлаждающим устройствам тепловозных дизелей относятся: теплообменники (водо-воздушные, масловоздушные, водо-масляные и воздуховодяные), вентиляторы охлаждения и их привод. Теплообменники служат для отвода тепла от жидкостей или от воздуха. Теплообменники, отводящие тепло от жидкостей к атмосферному воздуху, называют радиаторами.
Согласно основному уравнению теплопередачи (см. гл. 3) количество отдаваемой теплоты Р пропорционально площади теплопередающей поверхности /•" и разности Ы температур охлаждающей жидкости и воздуха: Р = й/7Д/, где £ — коэффициент теплопередачи.
Так как значение температурного напора М ограничено (температура воды в системах охлаждения, как правило, не превышает 90—95 °С, а масла — 80—85 °С), охлаждающие устройства тепловозных дизелей должны обладать значительными поверхностями охлаждения. Развитие площади теплоотдающих поверхностей достигается за счет их
оребрения и дробления потока на большое число отдельных струй, протекающих в трубках малого сечения. Коэффициент теплопередачи воздушных радиаторов возрастает при увеличении скорости воздуха, которое достигается его просасыва-нием через радиаторы под действием специального вентилятора.
На тепловозах применяются следующие основные схемы охлаждающих устройств:
1) охлаждение воды в водовоздуш-ных радиаторах /, масла в масло-воздушных радиаторах 2 (рис. 6.21, а). По такой схеме выполнены охлаждающие устройства многих тепловозов, в том числе ТЭМ2 и ТЭЗ. Данная схема оказывается малоэффективной при охлаждении форсированных дизелей с большой долей тепла, отводимого в смазочное масло, так как коэффициент теплопередачи у масловоздушных радиаторов значительно ниже, чем у во-довоздушных;
2) охлаждение воды в водовоз-душных радиаторах /, масла в водо-масляном теплообменнике 5 (рис. 6.21, б). Вода, охлаждающая масло, затем охлаждается воздухом так же, как и вода охлаждения двигателя. Такая схема применена на тепловозах 2ТЭ10В(Л), 2ТЭ116, ТЭП60, ТЭП70.
Охлаждение масла промежуточным теплоносителем (водой) позволяет уменьшить общие размеры радиатора на тепловозе и сделать более устойчивой температуру масла, что очень важно при переменных режимах работы дизеля. Обе схемы включают также масляный 3 и водяные насосы: 4 в первой схеме и 4 и 6 во
второй. Наддувочный воздух обычно охлаждается в воздухоохладителе 7 (рис. 6.21, б) водой в качестве промежуточного теплоносителя. На опытных тепловозах ТЭП75 и ТЭ136 применено охлаждение воздуха в воздухо-воздушном теплообменнике. На тепловозах с гидропередачей охлаждающие устройства предназначаются и для охлаждения рабочей жидкости (масла) гидропередачи.
Размещение основных частей охлаждающих устройств. Охлаждающие устройства тепловозных дизелей (радиаторы, вентилятор и его привод) занимают обычно часть кузова тепловоза, называемую шахтой холодильника (рис. 6.22, а), в боковых стенках которой размещаются воз-духоприемники — поворотные жалюзи/и секции радиаторов — водяные 2 и масляные 3 (на тепловозах 2ТЭ10Л первых выпусков. На тепловозах 2ТЭ10В и 2ТЭ10Л с водомас-ляным охлаждением секции 3 также водяные). Охлаждающие жидкости собираются в коллекторах 9. В центре камеры размещается осевой вентилятор 4. Внутренняя часть камеры ограничена наклонными стенками 8, которые, смыкаясь с горизонтальным листом 7, образуют арку («шахту»), которая служит для прохода к торцовым дверям секции.
Воздух засасывается вентилятором через боковые жалюзи / и секции радиаторов 2 и 3 и, охлаждая их, проходит через диффузор 5 вентилятора и выбрасывается наружу. Открытием боковых жалюзи /, а также верхних 6 регулируется подача воздуха, а следовательно, температура воды и масла.


Рис. 6.22. Схемы размещения радиаторов на тепловозах:
а — 2ТЭ10В(М); б— ТЭП60; в — 2ТЭ116; г — ТГ16; д — ТЭ109 (стрелками показано течение охлаждающего воздуха)
Вентилятор 4 имеет либо механический привод—через редуктор // и карданный вал 10 от вала дизеля (см. рис. 6.22, а), либо индивидуальный гидростатический 12 (рис. 6.22, б и г), или электрический 13 привод (см. рис. 6.22, вид). Число вентиляторов зависит от длины фронта радиаторов и схемы компоновки холодильной камеры. При центральном размещении вентиляторов их может быть один (тепловозы ТЭЗ, 2ТЭ10В), два (ТЭП60) или три (ТЭП70, ТЭ109). При двухрядном расположении (см. рис. 6.22, в) на тепловозе 2ТЭ116 установлены четыре вентилятора.
Водомасляные теплообменники обычно размещаются непосредственно на дизеле (дизель Д49) либо вблизи него в машинном помещении тепловоза (2ТЭ10В, ТЭП60), Воздухоохладители размещаются непосредственно на дизелях.
Основные технические данные охлаждающих устройств тепловозных дизелей приведены в табл. 6.5.
Секции радиатора. Общая величина необходимой поверхности охлаждения радиатора на тепловозах довольно велика. При размещении радиатора, например, по схеме (см. рис. 6.22, а) на тепловозе 2ТЭ10В длина радиатора по фронту составляет примерно 3 м, а масса собственно радиатора (без коллекторов) превышает 2600 кг. Такую конструкцию сложно и нецелесообразно изготавливать целиком, так как это создаст большие трудности при эксплуатации. Поэтому радиаторы на тепловозах выполняют составными из отдельных элементов — секций. Это позволяет применять на различных тепловозах стандартные секции.
Водовоздушная секция радиатора (рис. 6.23, а) представляет собой многотрубный теплообменник. Она состоит из двух пакетов тонкостенных плоскоовальных трубок (рис. 6.23, б) из латуни Л96 (томпака); каждый пакет трубок имеет общие ребра из пластин медной фольги
толщиной 0,1 мм (коллективное ореб-рение).
Концы трубок / (см. рис. 6.23, а) вставлены в отверстия верхней и нижней коробок 2 и приварены к ним медно-фосфористым припоем. Трубки в решетке дна коробки размещены в восемь рядов в шахматном порядке (по девять и десять трубок в ряду). Общее число трубок в секции 76, однако рабочими являются 68. Восемь крайних трубок 7 (на разрезе А—А они зачернены) глухие, для них нет отверстий в днищах коробок 2. Упираясь в медные пластины 6, прикрепленные к днищам для усиления коробок 2, глухие трубки служат распорками между ними и воспринимают нагрузки при температурных деформациях секции, снимая их с рабочих трубок и предотвращая нарушение качества их соединений с коробками. Коробки 2 приварены к стальным коллекторам 3 медно-цинковым припоем. Отверстия 4 в коллекторах служат для прохода воды, а отверстия 5 в приливах — для шпилек крепления секций к коллекторам шахты холодильника. Для уплотнения между коллекторами секции и коллектором шахты хо-
лодильника ставят паронитовые прокладки.
Пластины оребрения («ребра») 8 нанизаны на трубки при сборке секции со средним расстоянием между ними (шагом оребрения) 2,3 мм. Ранее выпускались секции с большим шагом оребрения — 2,83 мм и соответственно с меньшим числом ребер и меньшей поверхностью охлаждения со стороны воздуха.
Ребра припаиваются к трубкам методом спекания (предварительно залуженные с наружной поверхности трубки спекаются с ребрами в печи при расплавлении слоя полуды). Ранее применялась припайка методом окунания всего собранного пакета в расплавленный припой. Проконтролировать качество припайки ребер ко всем трубкам в любом случае невозможно. Способ окунания требовал большего расхода припоя. Кроме того, остатки припоя, не успевшие стечь до затвердевания, стесняют живое сечение для прохода воздуха.
На тепловозах применяются секции данного типа с различной рабочей длиной трубок /р: нормальные (1206 мм) и укороченные (535 мм).
Таблица 6.5
|
Параметр |
2ТЭ10В |
Зн ТЭЗ |
ачения пар ТЭП60 |
аметров ш ТЭМ2 |
я теплово: ТГМЗА |
ов 2ТЭ116 |
ТЭП70 |
|
Число воздухоохлади- |
2 |
_ |
1 |
1 |
_ |
1 |
1 |
|
телей на дизель |
|||||||
|
Число секций охлаж- |
|||||||
|
дающего устройства: |
29 |
||||||
|
для воды дизеля |
14+ 14 |
24 |
17 |
16 |
17 |
14 |
|
|
для воды воздухоох- |
24 + 24 |
— |
30 |
6 |
— |
24 |
40 |
|
ладителя и водомас- |
|||||||
|
ляного теплообмен- |
|||||||
|
ника |
|||||||
|
для масла |
— |
36 |
— |
6 |
3 |
— |
— |
|
Рабочая длина трубок |
|||||||
|
секции, мм: |
|||||||
|
для воды |
1206 и 535 |
1206 |
1206 |
1206 |
1206 |
1206 |
535 |
|
» масла |
-- |
1206 |
1206 |
1206 |
— |
— |
|
|
Число водомасляных |
і |
— |
: |
— |
— |
1 |
2 |
|
теплообменников |
|||||||
|
Число вентиляторов |
1 |
1 |
2 |
1 |
1 |
4 |
3 |
|
охлаждения |
|||||||
|
Диаметр вентиляторно- |
2000 |
1600 |
1600 |
1600 |
1200 |
900 |
1400 |
|
го колеса, мм |

Соответственно расстояние между осями крепежных отверстий / для них составляет 1356 и 686 мм. Изменение длины секций обычно связано с особенностями компоновки охлаждающего устройства. На тепловозах 2ТЭ116, ТЭП60 (см. рис. 6.22, бив), ТЭЗ, ТЭМ2 и др. применены нормальные секции с длиной трубок 1206 мм. На тепловозах ТГ16 (см. рис. 6.22, г) весь радиатор собран из укороченных секций, размещенных под потолком кузова над дизелем. На тепловозах 2ТЭ10В (см. рис. 6.22, а) применено двухъярусное размещение секций: нормальных— внизу и укороченных—над ними.
Как видно из рассмотренных схем, секции стандартного типа обычно размещаются в один ряд по обеим боковым стенкам шахты. Исключение составляет тепловоз ТЭЗ, где было применено двухрядное размещение секций. Теплорассеивающая эффективность секций второго ряда, конечно, ниже, чем у первого ряда,
так как они охлаждаются уже подогретым воздухом.
На ряде тепловозов применяются масловоздушные радиаторы для охлаждения масла дизеля (ТЭЗ, ТЭМ2). Масловоздушные секции имеют такие же габаритные размеры, как и водовоздушные, но отличаются размерами, числом и расположением трубок. Они имеют по 80 плоскоовальных трубок сечением 17,5X4 мм, размещенных в восемь рядов по 10 трубок («коридорно»). Большее сечение трубок необходимо из-за вязкости масла.
Коэффициент теплопередачи стандартных масловоздушных секций— в среднем 22—24 Вт/(м2-К) —примерно в 3 раза меньше, чем водо-воздушных секций. Поэтому для охлаждения масла обычно требуется больше секций, чем для охлаждения воды. Именно поэтому в охлаждающем устройстве тепловоза ТЭЗ из 60 секций 36 масловоздушные, хотя в масло от дизеля отводится тепла почти вдвое меньше, чем в воду.
Плохая теплопередача от масла к трубке объясняется его ламинарным течением. Вязкое масло течет параллельными слоями, не перемешиваясь. Поэтому тепло отдают только внешние слои потока, непосредственно соприкасающиеся со стенками. Тепло от внутренних слоев может передаваться лишь теплопроводностью, а она у масла невелика.
Недостаточная эффективность мас-ловоздушных радиаторов, а также трудности с их эксплуатацией в холодное время года (частые случаи течи масла из секций из-за нарушения герметичности соединений трубок с решетками при повышении давления в системе, связанного с загустеванием холодного масла) привели к переходу на тепловозах средней и большой мощности на охлаждение масла водой в качестве промежуточного теплоносителя.
Водомасляные теплообменники. На современных серийных тепловозах 2ТЭ10В, М62, 2ТЭ116, ТЭП60, ТЭП70 и др. установлены кожухо-трубные теплообменники, в которых одна жидкость (вода) протекает по трубкам, а другая (масло) омывает их снаружи, заполняя кожух.
Теплообменник тепловоза 2ТЭ10В (рис. 6.24) представляет собой разъемный кожух, состоящий из верхнего 2, среднего 3 и нижнего 4 корпусов, в котором размещен продольный пучок трубок 15, объединенных верхней 18 и нижней 8 трубными решетками. Нижняя решетка при температурных удлинениях трубок может перемещаться в сальниковом уплотнении //. Трубный пучок состоит из 955 медных трубок (внутренний диаметр 8 мм, наружный 10 мм, рабочая длина 1997 мм) и имеет две продольные перегородки, расположенные между трубными решетками, и 13 поперечных сегментных перегородок 5, перекрывающих поочередно противоположные части его поперечного сечения. Трубки укрепляются в решетках развальцов-
кой их концов. Перегородки 5 плотно охватываются рубашкой 6. Между кожухом в местах его разъема и рубашкой поставлены резиновые кольца 14.
С торцов кожух теплообменника ограничен крышками 10 и 19. Вода из радиатора охлаждающего устройства поступает в теплообменник через патрубок 9 нижней крышки, проходит через часть трубок пучка, отделенных продольной перегородкой, в полость верхней крышки 19, затем снова вниз и вверх и выходит из теплообменника через патрубок 17.
Масло от дизеля поступает в кожух теплообменника двумя потоками через патрубки / и 7. Каждый поток совершает семь поперечных ходов в кожухе, омывая трубный пучок. Затем потоки сливаются, и охлажденное масло отводится из патрубка 13.

Рис. 6.24. Водомасляный теплообменник тепловоза 2ТЭ10В(М)
Патрубки 12 и 16 через предохранительные клапаны соединены с трубопроводом охлажденного масла, отходящим от патрубка 13. При повышении перепада давления масла на теплообменнике более 0,15 МПа клапаны сбрасывают масло в магистраль (оба потока проходят теплообменник напрямую: от патрубка / к патрубку 16 и от патрубка 7 к патрубку 12).
Водомасляные теплообменники других тепловозов в принципе устроены так же.
Они могут отличаться числом трубок и их длиной, числом ходов масла и т. п. На дизелях Д49 тепловозов 2ТЭ116 и ТЭП70 применены теплообменники из трубок, имеющих наружное поперечно-винтовое
оребрение, увеличивающее поверхность теплообмена со стороны масла. Оребрение создается путем накатки (выдавливания) роликами гладких толстостенных медных трубок. Недостатком такой конструкции является трудность очистки масляной полости (внешней поверхности трубок) от загрязнений.
Воздухоохладители, используемые в системах воздухоснабжения дизеля, представляют собой также трубчатые водовоздушные теплообменники, в которых по трубкам протекает вода из системы охлаждения, а пространство между ними омывается воздухом.
Воздухоохладитель дизеля 10Д100 (рис. 6.25) имеет прямоугольный трубный пучок с шахматным распо-

Рис. 6.25. Воздухоохладитель дизеля 1 ОД 100
ложением трубок 8 в трубных решетках 6 и //. Вода поступает в корпус 3 охладителя через патрубок 13 нижней крышки 12, совершает в трубном пучке три хода и отводится через патрубок 5 верхней крышки 4. Воздух проходит через корпус, омывая трубки, от фланца 10 через патрубок 9 к фланцу 2, которым воздухоохладитель крепится к торцу / впускного коллектора дизеля. Трубки 8 для увеличения тепловоспри-нимающей поверхности имеют наружное оребрение, выполненное из медной проволочной спирали 7, навитой на трубку и припаянной к ней.
Воздухоохладитель дизеля 11Д45 пластинчатый, его охлаждающий элемент составляется из набора гофрированных металлических пластин, ограниченных листами. Набор пластин образует несообщающиеся между собой прямые каналы для воздуха и волнообразные каналы для воды.
На мощных тепловозах ТЭП75 и ТЭ136 применены воздуховоздушные теплообменники, представляющие собой сложную сотообразную структуру из алюминиевых гофрированных листов, образующую в соседних слоях взаимно перпендикулярные каналы для горячего и наружного воздуха.
Вентиляторы. В охлаждающем устройстве вентиляторы обеспечивают протекание через радиатор необходимого расхода охлаждающего воздуха. Как известно из основ теплопередачи (см. гл. 3), коэффициент теплопередачи воздушных радиаторов увеличивается с увеличением скорости воздушного потока. Оптимальная эффективность теплопередачи достигается при скорости воздуха через радиатор в его узком сечении примерно 10 м/с.
Тогда, например, для отвода тепла от радиатора тепловоза 2ТЭ10В, состоящего из 38 стандартных и 38 укороченных секций с общей площадью живого сечения для прохода воздуха (0,148 + 0,066)38 = 8,1 м2, не-
обходим расход охлаждающего воздуха не менее 80 м3/с, или 288 тыс. м /ч. Такой расход и должен иметь вентилятор охлаждающего устройства тепловоза. Выбор типа вентилятора для этой цели определяется особенностями условий работы: большие расходы воздуха при относительно небольших потерях давления (1 —1,5 кПа). Поэтому в охлаждающих устройствах тепловозов применяются осевые вентиляторы, обладающие именно такими особенностями: большим расходом при малом давлении. Вентиляторные колеса имеют 6—8 лопастей аэродинамического (крыловидного) профиля.
Применяются вентиляторы типа ЦАГИ серий У (с прямыми лопастями) — тепловоз ТЭЗ и УК-2М (с закрученными лопастями, имеющими переменный угол наклона лопасти, увеличивающийся от периферии к основанию) — тепловозы 2ТЭ10В, 2ТЭ116 и др.
Регулирование температуры охлаждающих жидкостей. Так как тепловыделения дизеля в воду и масло зависят от режима его работы по нагрузке и частоте вращения, то при изменении его режима соответственно должна меняться и теплорассеивающая способность радиатора. Если при уменьшении нагрузки дизеля при работе на одной и той же позиции контроллера производительность вентилятора не изменится (а так будет, если вал вентилятора непосредственно связан с валом дизеля), то радиатор будет рассеивать в атмосферу тепла больше, чем его выделяет дизель. Это приведет к понижению температуры (переохлаждению) воды и масла и неблагоприятно отразится на работе дизеля. Такая картина будет иметь место в эксплуатации очень часто, так как система охлаждения дизеля должна быть рассчитана на отвод тепла в наиболее трудных условиях (при полной мощности дизеля и температуре наружного воздуха 40 °С). Если не управлять производительно-
стью вентилятора, то рабочие жидкости будут почти всегда переохлаждены, так как расчетные режимы в эксплуатации бывают не часто.
Поэтому на тепловозе обязательно должна быть возможность регулировать температуры охлаждающих жидкостей, а точнее, поддерживать их в заданном диапазоне независимо от нагрузки дизеля и температуры наружного воздуха. Для этого необходимо следить за температурами охлаждающих жидкостей и, в зависимости от того, выше или ниже они требуемого диапазона, увеличивать или уменьшать расход охлаждающего воздуха через радиаторы. Осуществлять это можно различными путями. Наиболее простой путь — это прикрытие боковых и верхних жалюзи. Прикрытые жалюзи играют роль задвижки, увеличивающей аэродинамическое сопротивление на пути потока воздуха через шахту холодильника и соответственно уменьшающей его расход. Этот способ простой, он часто применяется на тепловозах, но он невыгоден энергетически, так как мощность, потребляемая вентилятором от вала дизеля, в этом случае не уменьшается, а расходуется бесполезно на преодоление дополнительных сопротивлений. Для тепловозов малой мощности (маневровых и т. п.) это не так существенно, потому что сами по себе затраты мощности на вентилятор холодильника у них невелики (11 кВт у ТГМЗА, 37 кВт у ТЭМ2). Но у мощных тепловозов вентиляторы холодильника требуют для привода больших мощностей (100—150 кВт), и поэтому потери даже части этой мощности имеют значение.
Возможен и другой простой способ управления процессом теплоотвода от радиаторов — это работа вентилятора по принципу «включено»— «выключено», т. е. включение вентилятора, если температуры жидкостей растут, и отключение, если снижаются. Регулирование по этому принципу осуществить просто —
нужно иметь на валу вентилятора управляемую муфту, но регулирование оказывается очень грубым и дизель практически все время работает при нестабильных температурах охлаждающих жидкостей, что вредно сказывается на его состоянии. Поэтому такая система оправдана только на тепловозах небольшой мощности.
На мощных тепловозах необходимо непосредственно управлять подачей вентилятора: либо путем изменения частоты вращения вентиляторного колеса, либо изменением аэродинамических характеристик самого вентилятора.
Возможности регулирования частоты вращения вентилятора (при неизменной частоте вращения коленчатого вала дизеля) зависят от конструкции привода вентилятора. В зависимости от типа привода (см. ниже) скорость вращения вентилятора может изменяться либо ступенчато, либо непрерывно. Изменение аэродинамических характеристик вентилятора в опытных конструкциях осуществлено путем изменения угла наклона лопастей.
Все действия по регулированию температуры воды и масла могут выполняться либо вручную машинистом, либо автоматически.
Привод вентилятора охлаждающего устройства, как и прочих вспомогательных механизмов, на тепловозах может осуществляться тремя основными способами: а) прямым механическим приводом от коленчатого вала дизеля через зубчатые передачи и карданные валы; б) гидравлическим (гидродинамическим или гидростатическим); в) электрическим (переменного или постоянного тока).
В отечественном тепловозостроении наибольшее распространение получили механический и гидродинамический приводы. Применяется также гидростатический привод и в опытном порядке — электрический.
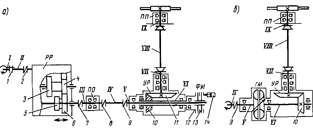
Механический привод вентилятора с двухступенчатым изменением ско-
рости вращения применен на тепловозах ТЭЗ (рис. 6.26, а).
Вентилятор приводится во вращение от нижнего коленчатого вала дизеля через систему промежуточных валов и редукторов. С валом / дизеля 4 соединен приводной вал //, передающий вращение через муфту 2 на распределительный (гидромеханический) редуктор РР. Промежуточные горизонтальные валы /// и IV с одной стороны соединены муфтой 7 с выходным валом редуктора, муфтой 8 между собой, а с другой стороны — муфтой 9 с горизонтальным валом V углового редуктора УР. Вал IV опирается на промежуточную опору ПО. От редуктора УР с коническими шестернями 10 и // через вертикальный вал VII и карданный VIII вращение передается валу IX вентиляторного колеса 14, установленному в подпятнике ПП.
Включение и отключение вентилятора осуществляются дисками 12 и 13 фрикционной муфты ФМ. Распределительный редуктор РР обеспечивает возможность работы вентилятора на двух режимах по частоте вращения: зимний режим (в зацеплении шестерни 4—6)—1020 об/мин и летний (шестерни 3—5) —1380 об/мин (при частоте вращения вала дизеля 850 об/мин).
Переключение передач осуществляется вручную перемещением подвижных шестерен 5—6 рычагом.
Гидродинамический привод вентилятора с плавным регулированием скорости применен на тепловозах 2ТЭ10В(М). В этой схеме (рис. 6.26, б) регулирующим звеном является гидродинамическая муфта переменного наполнения ГМ. Она заменяет два звена из схемы механического привода: звено регулирования — зубчатую передачу распределительного редуктора и звено отключения — фрикционную муфту. Более того, гидромуфта переменного наполнения позволяет регулировать частоту вращения вентиляторного колеса не ступенчато, а плавно и непрерывно. Остальные элементы привода работают так же, как и в предыдущей схеме.
Гидропривод вентилятора (рис. 6.27) состоит из гидромуфты и углового редуктора, объединенных в общем корпусе 16. Чугунный корпус делится поперечной перегородкой на две части: среднюю, ограниченную с торца фланцем /, в которой размещена гидромуфта, и заднюю, в которой размещен угловой редуктор, состоящий из горизонтального 13 и вертикального 15 валов с фланцами 7 и 28, связанных коническими шестернями // и 14. Вал 13 опирается на подшипники 17 и 12, установленные во втулках в соответствующие расточки корпуса. Вертикальный вал 15 имеет подшипниковый узел (роликоподшипники 8 и 10 и шари-

Рис. 6.26. Схема привода вентилятора холодильника:
а — механический (тепловоз ТЭЗ); б — гидродинамический (тепловоз 2ТЭ10)

Рис. 6.27. Гидропривод вентилятора холодильника тепловоза 2ТЭ10В(М):
/—фланец корпуса; 2—втулка; 3- колокол гидромуфты; 4 — турбиииое колесо гидромуфты; 5, 8, 10, 12 и 19— роликоподшипники; 6—зубчатая муфта; 7 и 28—фланцы валов; 9, 17, 23, 24 и 30—шарикоподшипники; //и 14—конические шестерни углового редуктора; 13—горизонтальный вал; 15—вертикальный вал; 16—корпус; 18— насосное колесо гидромуфты; 20 и 32—цилиндрические шестерни; 21—черпательная трубка; 22—фильтр; 25 и 29—шестерни привода лопастного насоса; 26—лопастной насос; 27— ведущий вал; 31—зубчатая рейка; 33—ступица; 34—пружина
коподшипник 9), аналогичный соответствующему узлу углового редуктора тепловоза ТЭЗ.
Гидромуфта состоит из насосного колеса 18, укрепленного на фланце ведущего вала 27, турбинного колеса 4, прикрепленного к фланцу зубчатой муфты 6, входящей в зацепление с горизонтальным валом 13, и колокола 3, ограничивающего внутренние полости муфты, во время работы заполненные рабочей жидкостью (маслом). Принцип действия и основы устройства гидродинамических муфт рассмотрены в гл. 7.
Детали гидромуфты отлиты из алюминиевого сплава, рабочие колеса имеют радиальные лопатки. Ведущий вал вращается в подшипниках 30 и 19, установленных в ступице 33, и центрируется подшипником 5 с зубчатой муфтой 6.
Гидромуфта заполняется маслом из масляной системы дизеля. Через штуцер А и каналы во фланце / и ступице 33 оно попадает в кольцевой зазор между втулкой 2 и ведущим валом 27, затем — по каналам внутри вала — во внутреннюю полость между колесами гидромуфты и далее заполняет тороидальную рабочую полость между лопатками колес, называемую кругом циркуляции гидромуфты.
Одновременно по различным каналам часть потока масла отводится на смазку зубчатых колес и подшипников. Избыток масла стекает в нижнюю часть корпуса. Для осушения корпуса от масла служит лопастной насос 26, приводимый во вращение от ведущего вала через шестерни 29 и 25.
Регулирование передаточного отношения между ведущим 27 и горизонтальным 13 валом осуществляется за счет изменения степени заполнения круга циркуляции гидромуфты маслом. При полном заполнении этого объема гидромуфты ее турбинное колесо вращается с частотой лишь на 2 % («скольжение») меньше частоты вращения насосного колеса. В этом случае скорость вра-
щения вертикального вала, а следовательно, и вентиляторного колеса будет наибольшей. При уменьшении количества масла в круге циркуляции скольжение возрастает, а частота вращения вертикального вала и вентилятора падает.
Степень заполнения круга циркуляции регулируется положением двух черпательных трубок 21 в пространстве между насосным колесом и колоколом. Трубки одним концом вместе с шестернями 20 укреплены на ступице 33 и могут поворачиваться относительно оси шестерен на пустотелых штуцерах. Второй — свободный — конец каждой трубки открыт.
При работе гидромуфты масло в круге циркуляции под действием центробежных сил проникает через кольцевую щель между колесами в пространство под колоколом 3 и заполняет его, вращаясь вместе с ним в виде кольцевой струи. Если навстречу этому потоку установить неподвижно черпательную трубку, то жидкость под действием своего динамического напора будет втекать внутрь трубки. Из трубки масло подается во внутреннюю полость штуцера, на котором укреплены трубка и шестерня 20, затем в продольный канал в ступице 33 и далее через каналы в ступице и фланце / и патрубок Б — в масляную систему дизеля. Таким образом, черпатель-ная трубка как бы откачивает масло из круга циркуляции.
В установившемся состоянии из круга циркуляции окажется откачанной та часть вращающегося потока масла, которая занимала пространство внутри кольца с радиусом, равным расстоянию носка трубки от оси вращения колес. Круг циркуляции гидромуфты по закону сообщающихся сосудов при этом также будет заполнен не полностью.
Изменяя положение черпательной трубки от крайнего внутреннего положения на диаметре 206±3 мм (круг циркуляции заполнен) до крайнего внешнего (круг циркуля-
ции опорожнен), можно в широком диапазоне и непрерывно регулировать частоту вращения вентилятора. При опорожненной муфте турбинное колесо и вентилятор вращаются с небольшой частотой за счет трения воздуха и наличия остатков масла в круге циркуляции.
Управление положением черпа-тельных трубок осуществляется так. Шестерни 20 входят в зацепление с зубчатым венцом на втулке 2. На левом (см. рис. 6.27) конце втулки 2 насажена шестерня 32, входящая в зацепление с зубчатой рейкой 31, перемещение которой на 43 ± ± 1 мм соответствует полному диапазону положений черпательных трубок. Рейка 31 связана с сервоприводом системы автоматического регулирования температуры охлаждающих жидкостей.
Гидростатический привод вентилятора с плавным регулированием (рис. 6.28) применен на тепловозах ТЭП70, ТЭП60, ТП6 и др. Передача мощности от дизеля к вентиляторам осуществляется аксиально-поршневыми гидроагрегатами, в работе которых используется не кинетическая энергия жидкости, как в гидродинамических аппаратах, а энергия ее статического давления (см. гл. 2).
На тепловозе ТЭП60 работают два гидравлических аксиально-поршневых насоса 3 и 4, имеющих привод от вала / дизеля через общий ре-

Рис. 6.28. Схема гидростатического привода вентилятора холодильника тепловоза ТЭП60
дуктор 2. Закачивая жидкость (масло) из бака 10, они нагнетают его под высоким давлением (от 4 до 11,8 МПа в зависимости от режима) соответственно в аксиально-поршневые гидромоторы 13 и 15, вращающие вентиляторные колеса 12 и 14. Из гидромоторов обоих контуров масло поступает через соединенные параллельно фильтр 9, состояние которого контролируется манометром //, и охлаждающую секцию радиатора 8 в бак 10 (конструктивно фильтр 9 и бак 10 объединены в один узел — фильтр-бак).
Частота вращения вентиляторов регулируется изменением расхода жидкости, поступающей в гидромоторы (насосы работают с постоянной производительностью, а к моторам поступает вследствие возможности перепуска только часть потока). Для этой цели в контуре каждого гидромотора трубопроводы, подводящие масло и отводящие его, соединены перемычкой, в которую установлен терморегулятор (6 или 7), управляющий перепуском в зависимости от температур охлаждающих жидкостей.
Терморегулятор 6 управляет частотой вращения вентилятора 14 в зависимости от температуры воды, а терморегулятор 7 — вентилятором 12 в зависимости от температуры масла. Клапан 5 служит для слива масла. Давление нагнетания контролируется манометрами 16, присоединенными к клапанным коробкам гидронасосов.
В системе гидропривода тепловоза ТЭП70 не два, а три контура (насос—мотор), причем все контуры независимы друг от друга.
Гидроагрегаты, применяемые в этой схеме (насосы и моторы), однотипны (рис. 6.29). Вал / гидроагрегата, размещенный в корпусе 2, приводится во вращение от вала редуктора. В корпусе 3 помещается блок цилиндров 13, в девяти расточках которого находятся бронзовые поршни 9, соединенные шатунами 12 с фланцем вала /. Шаро-

Рис. 6.29. Аксиально-поршневой гидронасос
вые головки шатунов завальцованы соответственно в поршнях и бронзовых вкладышах 14, в свою очередь завальцованных в гнездах фланца вала /. Блок цилиндров 13 вращается на оси //, центрируясь подшипником 4. Пружиной 10, насаженной на ось //, блок прижимается к торцу неподвижного бронзового распределителя 8. Подвод и отвод масла осуществляются через крышку 7. При помощи карданного вала 15 вращение от вала / передается блоку цилиндров 13. Так как ось блока цилиндров отклонена от оси вала гидроагрегата (на угол 30°), то за один оборот вала / каждый из девяти поршней совершает два хода: вперед и назад. Ось блока укреплена в крышке 7 болтом 6.
Маслораспределение организовано сочетанием неподвижного распределителя 8 с двумя полукольцевыми каналами (приемным и отдающим) и вращающегося блока цилиндров 13 с окнами на торце для прохода масла в цилиндры под поршни. Для предохранения системы от чрезмерного повышения давления предусмотрена клапанная предохранительная коробка 5, которая отрегулирована на максимальное давление 15,0 МПа (гидромоторы клапанных
коробок не имеют). Для предотвращения задира и перегрева трущихся деталей корпус гидроагрегата заполняется маслом выше блока цилиндров.
При работе гидроагрегата в качестве гидромотора (приводящего во вращение колесо вентилятора холодильника) через один из полукольцевых .каналов распределителя 8 масло подводится к блоку цилиндров 13. Давление на поршни передается шатунам 12. На больших головках шатунов возникают касательные силы, создающие вращающий момент на валу /, с которым соединяется вентиляторное колесо холодильника.
Электрический привод вентилятора имеет простую принципиальную схему и может применяться на постоянном и переменном токе. В этом случае энергия для привода, отбираемая от вала дизеля, сначала преобразуется в электрическую и затем поступает в электродвигатель вентилятора.
Энергоснабжение электродвигателя вентилятора может осуществляться либо от специального генератора постоянного тока — на тепловозах ТГМЗ (рис. 6.30) или переменного тока — на дизель-поездах

Рис. 6.30. Принципиальная схема электрического привода вентилятора на постоянном токе (тепловоз ТГМЗА):
Д — дизель; ГХ — вспомогательный генератор привода вентилятора; ДВ — электродвигатель вентилятора
ДР1 и ДР2, либо непосредственно от тягового генератора (передача переменно-постоянного тока). Такая схема принята на тепловозах 2ТЭ116. Применение электрического привода облегчает размещение как охлаждающих устройств, так и прочего оборудования на тепловозах, так как исключает необходимость громоздкой системы валов и редукторов. Система электрического привода легче автоматизируется.
Существенное упрощение конструкции электрического привода может быть достигнуто за счет встраивания приводного электродвигателя непосредственно в вентиляторное колесо. Мотор-вентиляторы такого типа применены на тепловозах 2ТЭ116.
Основой конструкции мотор-вентилятора (рис. 6.31) является обращенный («вывернутый») асин-

1 3 11 10 3 8
Рис. 6.31. Мотор-вентилятор переменного тока тепловоза 2ТЭ116
хронный электродвигатель, статор 3 которого свернут в виде цилиндра с обмоткой на внешней поверхности, а короткозамкнутый ротор 8 выполнен в виде кольца, охватывающего статор. Статор неподвижен. В его внутренней расточке размещен корпус 4, укрепляемый в станине 9, и в нем подшипники 6 и 10, в которых вращается внутренний вал // ротора. Ротор укреплен на валу // при помощи ступицы 5 и крышки 7 полусферической формы. Лопасти / вентилятора укреплены непосредственно на внешней поверхности ротора. Мотор-вентилятор тепловоза 2ТЭ116 устанавливается вместе с системой радиальных поворотных жалюзи 2. Для управления поворотом жалюзи мотор-вентилятор имеет пневматический сервопривод с рычажной передачей (на схеме рис. 6.31 не показаны). Особенности электрического устройства этой машины рассмотрены в гл. 8.
Диаметр лопастей вентилятора в таких конструкциях принимается сравнительно небольшим (900— 1100 мм), так как при больших размерах увеличенный маховой момент вентиляторного колеса (пропорциональный квадрату диаметра) существенно увеличивает время разгона вентилятора. Из-за меньшего диаметра лопастей в охлаждающем устройстве тепловоза применяется не один, а несколько мотор-вентиляторов (на тепловозе ТЭ109 — три, на 2ТЭ116 — четыре).
Привод переменного тока по размерам и массе имеет лучшие показатели по сравнению с приводом постоянного тока, хотя с точки зрения регулирования постоянный ток дает больше возможностей (можно регулировать частоту вращения вентилятора, в то время как при переменном токе регулирование осуществляется лишь включением и выключением двигателей отдельных мотор-вентиляторов). Преимущества электрического привода по сравнению с механическим и даже гидродинамическим позволяют ожидать
его широкого применения на мощных тепловозах.
Системы автоматического регулирования температуры охлаждающих жидкостей состоят из датчиков температуры с усилителями и исполнительными механизмами. Конструкция механизмов определяется типом и особенностями системы привода вентилятора холодильника. В зависимости от конструкции охлаждающих устройств и числа контуров водяной системы возможно раздельное регулирование температур воды и масла (тепловозы 2ТЭ10В, ТЭП60, ТЭП70, 2ТЭ116) или объединенное (тепловоз ТЭ109).
В системах автоматического регулирования температуры охлаждающих жидкостей на современных тепловозах применяются специальные терморегуляторы. Их конструкция на разных тепловозах несколько различна, но принцип действия один. Измерительным элементом (датчиком) в них является термобаллон, заполненный церезином — кристаллическим веществом, обладающим большим коэффициентом объемного расширения (в диапазоне температур от 5 до 80 °С его объем увеличивается на 4—5 %).
Объемное расширение церезина в термобаллоне, помещенном в ох-
лаждаемую жидкость, в конструкции терморегулятора преобразуется в линейное перемещение штока (у терморегулятора тепловоза 2ТЭ10В примерно на 1 мм при повышении температуры на 1 °С в диапазоне от 75 до 80 °С).
Перемещение штока терморегулятора является управляющим воздействием в системе регулирования. В зависимости от конструкции системы автоматического регулирования и типа привода вентилятора холодильника оно передается дальше:
а) на тепловозе 2ТЭ10В при повышении температуры до 73 °С микровыключателям, управляющим включением привода жалюзи; при повышении температуры от 75 до 80 °С гидравлическому сервомотору, воздействующему через зубчатую рейку на положение черпательных трубок в гидромуфте привода вентилятора холодильника;
б) на тепловозах ТЭП60 и ТЭП70 непосредственно дросселю, управляющему подачей жидкости к гидромотору;
в) на тепловозах 2ТЭ116 микровыключателям, управляющим прикрытием боковых жалюзи со стороны секций радиатора первого и второго контуров и включением (поочередным) мотор-вентиляторов.










