5.7. Внутренние системы охлаждения и смазки
Системы охлаждения предназначены для отвода теплоты от стенок цилиндра, крышки, поршня и других деталей, нагревающихся от соприкосновения с горячими газами и трения, для поддержания в них допустимой температуры. Системы охлаждения двигателей по способу отвода тепла разделяются на жидкостные, испарительные и воздушные. Тепловозные дизели имеют
жидкостную систему охлаждения с замкнутой системой циркуляции.
В качестве охлаждающей жидкости используется пресная кипяченая отстоенная вода (или конденсат) без механических примесей с добавлением к ней специальных антикоррозионных присадок. Для умягчения воды применяют каустическую соду и тринатрийфосфат. В качестве антикоррозионных присадок применяют нитрит натрия. В охлаждающую воду отводится от 20 до 40 % тепла, выделяемого при сгорании топлива. Температура воды в системе охлаждения оказывает существенное влияние на работу дизеля. При повышении температуры воды до определенных пределов (90—95 °С) повышается эффективная мощность, снижаются удельный расход топлива и износ цилиндров дизеля. Однако при чрезмерном (выше 90— 95 °С) повышении температуры мощность дизеля может снизиться, увеличится расход топлива и снизится надежность работы дизеля: возможны задиры цилиндровых втулок
и шеек коленчатого вала, загорание поршневых колец и перегревы головок поршней.
При эксплуатации тепловозов необходимо поддерживать примерно постоянную температуру воды, не допуская как чрезмерного охлаждения (ниже 60 °С), так и перегрева. Охлаждающая вода от водяного насоса подводится всегда в нижней части внутренней системы охлаждения дизеля и отводится из высших точек водяной полости во избежание образования воздушных и паровых «мешков».
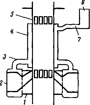
Внутренняя система водяного охлаждения дизеля типа Д100 (рис. 5.42)—это часть контура системы охлаждения. Вода от водяного насоса поступает в рубашки выпускных коллекторов 2. Из коллекторов вода направляется в водяные полости выпускных коробок /, а затем по патрубкам 3 перетекает в полость охлаждения рубашек 4 и втулок цилиндров 5. Отсюда через патрубки 7, расположенные с левой стороны дизеля, вода поступает в коллектор 6 и далее в систему внешнего охлаждения.
Системы смазки предназначены для уменьшения потерь на трение, снижение износа трущихся пар сопряженных деталей и для их охлаждения. По способу подвода масла к. трущимся деталям системы смазки разделяются на системы смазки с подачей масла разбрызгиванием, системы смазки с принудительной подачей масла и смешанные. Системы смазки тепловозных дизелей относятся к смешанным системам; шатунные и коренные подшипники, подшипники распределительного вала, приводы вспомогательных агрегатов, верхняя головка шатуна смазываются принудительно. Втулка цилиндра, поршень, поршневые кольца, ряд других деталей, а на двигателях М753 и М756 втулки верхних головок шатунов и поршневые пальцы смазываются разбрызгиванием.
По месту расположения основного бака для масла тепловозные дизели
5 Зак. 443

Рис. 5.42. Внутренняя система водяного охлаждения дизелей типа Д100
бывают с мокрым и сухим картерами (дизели М753 и М756). При сухом картере масло, стекающее в поддон, отсасывается откачивающим насосом в бак, стоящий отдельно от дизеля. При мокром картере необходимый для работы двигателя запас масла находится непосредственно в поддоне.
дизельное масло заливают в картер двигателя (или в масляный бак) до уровня, указанного на масло-мерной рейке (или масломерном стекле). Налив масла выше верхних меток запрещается, так как это ведет к повышенному расходу масла и увеличенному образованию нага-

Рис. 5.43. Внутренняя система смазки и охлаждения поршня дизеля
ра на деталях двигателя. Понижение уровня масла в картере двигателя или в масляном баке за пределы нижних отметок масломерной рейки или масломерного стекла приводит к падению давления в масляной системе дизеля, что может вызвать аварию.
Внутренние системы смазки дизелей представляют системы каналов, обеспечивающие подвод масла ко всем механизмам дизеля. Охлажденное и очищенное масло под давлением поступает в масляные коллекторы блока дизеля и далее направляется для смазки трущихся пар механизмов. На рис. 5.43 показана внутренняя система смазки шатунно-кривошипного механизма дизеля.
По трубке 4 масло подводится к коренным подшипникам / коленчатого вала 2. Из коренных подшипников по трубке 3 масло поступает к шатунным подшипникам 5 и далее по сверлению в шатуне 6— к верхней головке шатуна для смазки поршневого пальца 8. На большинстве современных дизелей поршни охлаждаются маслом, поэтому масло, подведенное к верхней головке шатуна через ползушку, поступает в полости поршня 7 для его охлаждения. Из узлов трения и охлаждения масло сливается в маслосборник дизеля, откуда с помощью масляного насоса направляется во внешнюю масляную систему для охлаждения и очистки.










