§ 20. Воздушный компрессор
Воздух на тепловозе расходуется на автотормоза, электрэпнев-матические приборы управления, песочницу, тифон (звуковой сигнал), стеклоочистители.
На электропневматические приборы управления воздух из компрессора подаётся с давлением 4,9 — 5 ат, на автотормозную сеть, песочницу и другие приборы—давлением 7—8 ат.
Как уже указывалось выше, воздушный компрессор работает от вала дизеля, причём непосредственно с валом дизеля соединён вал якоря главного генератора, к другому концу которого присоединён на фланцах гибкого соединения вал воздушного компрессора. Таким образом, вал воздушного компрессора совершает такие же обороты, как и вал дизеля, и компрессор действует лишь тогда, когда работает дизель.
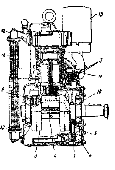
Общий вид воздушного компрессора в поперечном и продольном разрезах показан на фиг. 61.
Компрессор — двухступенчатый, трёхцилиндровый, простого действия рассчитан на работу при максимальном давлении воздуха 10,5 ат.
Первая ступень (ступень низкого давления) имеет два цилиндра 1, вторая (ступень высокого давления) имеет один цилиндр 2.
Цилиндр высокого давления расположен посредине, перпендикулярно к оси вала дизеля; цилиндры низкого давления расположены по бокам, под некоторым углом к оси цилиндра высокого давления.
Шатуны 3 всех трёх цилиндров имеют одну общую мотылёвую шейку 4, но каждый шатун имеет свой отдельный подшипник. Каждый поршень снабжён четырьмя кольцами, из которых три
Расположены над поршневым пальцем, а одно — ниже пальца, ретье и четвёртое кольца являются маслосрезывающими. Срезаемое этими кольцами со стенок цилиндра масло стекает обратно в картер через сверление в поршне в ручьях для колец.
Смазка цилиндров производится путём набрызгивания масла на их стенки шатунами.
Смазка поршневых подшипников принудительная, под давлением, создаваемым специальным масляным насосом 5. Последний приводится в действие от эксцентрика, расположенного между противове-
сом и подшипником у конца коленчатого вала компрессора со стороны провода. Насос имеет поршень 6, снабжённый обратным кла. паном 7.
Смазочное масло поступает к подшипникам под давлением через отверстия в коленчатом валу и в шатунах. Корпус §1111 ■■—~л маслопомпы установлен тЯ^ЧЯкда^ Э


Фиг. 61. Компрессор
1—цилиндры ступени низкого давления, 2—цилиндр ступени высокого давления, 3—шатуны, 4—мотылёвая шейка, 5—масляный насос, б—плунжер, 7—обратный клапан, 8—сетчатый фильтр масляного насоса, 9—редукционный клапан, 70—шариковые подшипники, 11—вентилятор картера (сапун), 72—отверстие для заливки масла, 13—шуп для проверки уровня масла в картере, 14—отверстие для слива масла, 75—воздушные фильтры, 76—холодильник, 77—вертикальные боковые трубки холодильника, 18—верхний коллектор холодильника, 19—предохранительный клапан холодильника компрессора, 20—всасывающий клапан в комплекте с разгрузочным, 27—нагнетательный клапан
на цапфах в картере так, чтобы он мог достаточно свободно колебаться в соответствии с изменением наклона поршня масляного насоса при вращении коленчатого вала. Масло перед входом в насос тщательно фильтруется; сетчатый фильтр 8 состоит из корпуса и тонкого сетчатого фильтра большой поверхности. Фильтр предохраняет от проникновения к подшипникам с маслом всяких посторонних частиц. При 250 об/мин. дизеля давление масла, создаваемое насосом, составляет 1,75 кг/см2.
Максимальное (предельное) давление масла определяется редукционным клапаном 9, помещающимся в щеке коленчатого вала, как указано на фиг. 61. Этот клапан работает по принципу инерционных пружинных приспособлений.
По мере повышения числа оборотов коленчатого вала сила инерции клапана повышается и увеличивается сопротивление его открытию, вследствие чего насосом создаётся большее давление, что увеличивает подачу масла к подшипникам шатуна. При 800 об/мин. давление масла достигает приблизительно 3,5 кг/см2. Такое устройство предотвращает чрезмерную смазку поршней при низких оборотах.
Вал компрессора опирается на радиального типа шариковые подшипники 10, установленные по одному у каждого конца коленчатого вала. Подшипники эти смазываются посредством разбрызгивания масла шатунами.
У каждого конца коленчатого вала имеется уплотнение, служащее для предотвращения утечки масла и для защиты против проникновения в них пыли и грязи.
Картер компрессора вентилируется при помощи особого устройства, называемого сапун. Прибор этот содержит конский волос, заложенный между двумя сетками. Сетки удерживаются на своём месте при помощи пружинного кольца. Сапун имеет обратный клапан, устроенный так, что при повышении давления в картере клапан открывается и давление в картере снижается, при этом клапан не пропускает воздуха в картер извне.
Производительность компрессора при 250 об/мин. дизеля составляет 2,15 лР/мин, при 350 об/мин.— 3 м3/мин и при 740 об/мин.— 4,5 мя/мин.
Затрачиваемая мощность на работу компрессора при 250 об/мин.— 15,5 ЛС, а при 740 об/мин. — 50 ЛС.
Компрессор под нагрузкой может длительно работать при 400 об/мин. (не свыше). При более высоком числе оборотов он действует кратковременно, так как на больших оборотах производительность его значительно превышает расходы воздуха поездом. В этом случае подача воздуха компрессором автоматически прекращается (несмотря на вращение вала компрессора).
Воздух при его сжатии в цилиндрах компрессора нагревается. Для того чтобы снизить мощность, расходуемую на сжатие воздуха, (а также по условиям смазки), в компрессорных установках устраивается промежуточное охлаждение воздуха.
На тепловозе ДА применён холодильник 16 с воздушным (естественным) охлаждением. Холодильник этот радиаторного типа, с ребристыми трубками и двухоборотным ходом охлаждаемого воздуха после первой ступени.
Холодильник разделён на две самостоятельные секции, каждая из которых обслуживает один из цилиндров низкого давления.
Каждый из трёх цилиндров компрессора имеет два всасывающих клапана и один нагнетательный. Клапаны расположены в крышках цилиндров. Всасывающие клапаны всех цилиндров в свою очередь имеют разгрузочные клапаны, которые служат для удержания всасывающих клапанов в открытом положении, когда компрессор переводится на холостую работу (при достижении полного давления в главных резервуарах).
Общий вид всасывающего клапана в сочетании с выключающим приспособлением показан на фиг. 62, на этой же фигуре представлены отдельно всасывающий и нагнетательный клапаны.
Действие разгрузочных клапанов протекает по следующей схеме. Как только давление в главных резервуарах поднимется до установленной величины, регулятор давления (фиг. 64) срабатывает и пропускает воздух из воздушной сети через колпачковую гайку 10 вса-

Фиг. 62. Всасывающий клапан компрессора с выключающим приспособлением
7—внутренний клапан, 2—внешний клапан, 3—седло клапана, /—штифт внутреннего клапана, 5—шайба гнезда пружины, б—корпус всасывающего клапана, 7—шайба, в—разгрузочный клапан, Р—корпус разгрузочного клапана, 70— колпачковая гайка, 77—запорный клапан холодильника, 72—тарелка пружины, 13—пружина разгрузочного клапана, 14—плунжер разгрузочного клапана, 15—шплинт, 76—возвращающая пружина, 17—шплинт, 18—корончатая гайка, 19—внутренняя пружина клапана, 20—внешняя пружина клапана, 21— прокладка, 22—колпак пружины
сывающего клапана в полость разгрузочного клапана 8. Под давлением воздуха разгрузочный клапан 8 перемещается в направлении цилиндра и увлекает за собой запорный клапан 11 холодильника. Последний в свою очередь действует на всасывающий клапан через разгрузочный плунжер 14, который имеет головку с четырьмя пальцами. Когда разгрузочный клапан срабатывает, эти пальцы отжимают всасывающие клапаны с их сёдел и компрессор начинает работать вхолостую, без подачи воздуха в сеть.
По мере снижения давления в главных резервуарах снижается также давление и на разгрузочный клапан; тогда под воздействием пружин 13 и 16 разгрузочный клапан перемещается в начальное положение и вместе с этим возвращается в исходное положение плунжер разгрузочного клапана 14 и захватывающие пальцы, а всасывающие
клапаны садятся на сёдла, и компрессор начинает подавать воздух в сеть. Нагнетательный клапан имеет те же детали, что и всасывающий, только устанавливается в обратном положении.










