5.2. Остов дизеля
Остов — это основа конструкции дизеля, состоящая из неподвижных элементов. Эти элементы жестко связаны между собой в единую систему, нагруженную силами давления газов и силами инерции движущихся частей. Конструкция остова обеспечивает жесткость дизеля, удобство разборки, сборки и осмотра деталей кри-вошипно-шатунного механизма и вкладышей, а также весовые и габаритные требования к дизелю. Достаточная жесткость остова — основное условие надежной и долговечной работы дизеля.


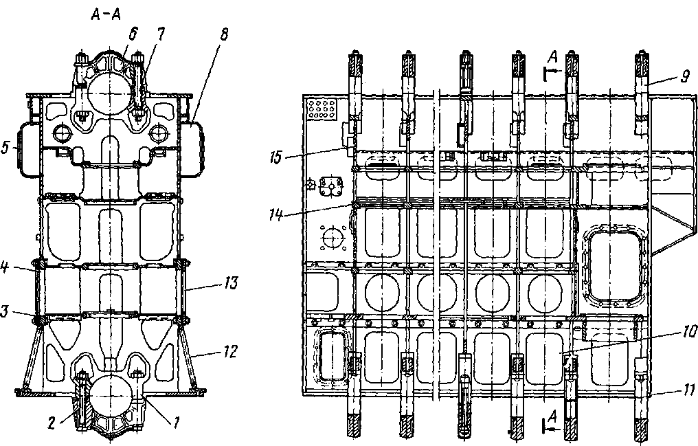
Рис. 5.9. Схема устройства остова дизеля
К элементам остова (рис. 5.9) относятся рама /, картер 2, блок цилиндров <?, крышка цилиндра 4, цилиндровая втулка 5, вкладыши коренного подшипнлка б и 7 и поддон 8 для масла. Основные элементы остова могут различным образом объединяться в единые конструкции, представленные на рис. 5.10 (обозначения соответствуют рис. 5.9).
На дизелях типа Д50 (рис. 5.10, а) рама, картер, поддон и нижняя половина коренного подшипника объединены в единой конструкции — фундаментной раме /, крышка коренного подшипника 6 установлена сверху. Дизели типов Д100 (рис. 5.10, б), Д40 и Д49 (рис. 5.10, в), Д70 (рис. 5.10, г) и 12УРЕ (рис. 5.10, д) имеют единый блок-картер. В этих конструкциях крышка корен-
ного подшипника (подвеска) установлена снизу. Рама и поддон образуют единую конструкцию (кроме дизеля 12УТЕ) — поддизельную раму. В дизелях типов 1Д6 (рис. 5.10, в), 1Д12 и М753 (рис. 5.10, з) и М756 (рис. 5.10, и) основой остова является картер, к которому снизу на подвеске крепится нижняя половина коренного подшипника. Поддон 8 выполнен отдельно.
Остовы дизелей М756 представляют собой моноблок, объединяющий в единую конструкцию головку и блок со вставными втулками цилиндров. Остов двигателя ЗЮЭИ (рис. 5.10, ж) имеет соединенный с картером блок цилиндров и установленный в под-дизельной раме коренной подшипник, закрытый крышкой сверху. Элементы остова в зависимости от конструкции изготавливаются литыми из чугуна или алюминия или сварными из стали. В конструировании деталей остова наметилась прогрессивная тенденция — создание комбинированного остова, состоящего из стальных литых звеньев, соединенных сваркой. Это удешевляет изготовление и позволяет получать более жесткие элементы.

Рис. 5.10. Схемы остовов тепловозных дизелей типов:
а - Д50 и ПД1М; б — 2Д100 и IОД 100; в— 14Д40, ПД45 и Д49; г — Д70; д — 12VFE17/24; е - 1Д6; ж - K6S310DR и 6S3I0DR; з — 1Д12 и М753;. и — М756
Основные детали остова. Фундаментная рама дизеля типа Д50 (рис. 5.11) отлита из чугуна СЧ21-40. Обе боковые стенки имеют по шесть люков, через которые можно осматривать подшипники и шатунно-криво-шипиый механизм. С каждой стороны люки закрыты крышками 6, отлитыми из алюминиевого сплава. Верхняя плоскость рамы со стороны генератора образует мощный круговой фланец 12 с кольцевой проточкой. К фланцу с помощью шпилек крепится статор генератора. На торцовой стенке рама имеет фланец 13, к которому крепится шпильками и фиксируется двумя штифтами разъемный корпус уплотнения коленчатого вала. Торец рамы со стороны масляного насоса имеет фланец 5 для крепления корпуса диска боксовки коленчатого вала. Семь поперечных перегородок 3 рамы образуют опоры 2 коренных подшипников коленчатого вала. Опоры первого, второго, третьего, пятого и шестого подшипников (счет ведется от масляного насоса к генератору) одинаковы и имеют по две шпильки для крепления крышки коренного подшипника. Опоры четвертого и седьмого подшипников шире и имеют по четыре шпильки. По бокам опор перегородки уширяются и образуют колонки 7 с отверстиями, через которые проходят анкерные крепления блока цилиндров к раме. Нижняя часть рамы образует поддон 9 для масла, дно которого имеет уклон от краев к середине, где расположено отверстие масляного канала /. Полость рамы отделена от поддона сетками, прикрепленными к полкам 8. Вдоль рамы с обеих сторон расположены лапы // и упор 10, служащие для установки и крепления ее к раме тепловоза.
У дизелей типа Д50 блок цилиндров (рис. 5.12) отлит из чугуна марки СЧ21-40. Продольная стенка 5 делит внутреннюю полость блока на две части. В одной из них размещены цилиндровые втулки, в другой (меньшей по размеру) — механизм привода газораспределения.
Внутренняя полость блока разделена поперечными перегородками 3 на шесть частей (по числу цилиндров). Нижняя плоскость 6 служит фланцем для крепления блока к фундаментной раме, верхняя плоскость 4— для установки крышек цилиндров. Внутри блока имеются вертикальные ребра 2 и горизонтальные перегородки /, обеспечивающие установку цилиндровых втулок и образование полостей водяного охлаждения. Фундаментная рама и блок цилиндров скреплены 14 анкерными связями и 29 сшивными шпильками. Рама и блок в сборе образуют жесткий, но относительно тяжелый остов, масса которого составляет около половины общей массы дизеля.
Блок дизеля 10Д100 (рис. 5.13) сварен из стальных деталей. Вертикальными листами 15 толщиной 16 мм (сталь 20Г) блок поделен на 12 отсеков. В десяти из них размещены втулки цилиндров, в переднем отсеке дизеля — механизмы управления, а в заднем — вертикальная передача и привод воздуходувки. Горизонтальными листами 14 (сталь 20) толщиной 25 мм и верхней и нижней плитами блок разделен на отсеки: верхнего коленчатого вала, воздушных ресиверов, топливной аппаратуры, выпускных коллекторов и нижнего коленчатого вала. К верхней плите и вертикальным листам приварены 12 опор 9 для коренных подшипников верхнего коленчатого вала, а к нижней плите и вертикальным листам —12 опор // для коренных подшипников нижнего коленчатого вала. В вертикальных листах с правой и левой стороны внутри блока вварено по 11 опор для подшипников кулачковых валов топливных насосов. К вертикальным наружным листам блока в отсеке воздушных ресиверов приварены впускные коллекторы 8. В отсеке выпускных коллекторов имеются ниши для установки выпускных коробок. Ниши закрыты плитами 4, которые крепятся с помощью болтов и шпилек 3. В плитах вырезаны люки 13 для

Рис. 5. 11. Фундаментная рама (а) и коренные подшипники ( б) дизеля Д50

Рис. 5.12. Блок цилиндров дизеля типа Д50
постановки и снятия крышек люков выпускных коллекторов н термопар. В наклонных боковых листах 12 имеются люки 10, предназначенные для осмотра нижнего коленчатого вала, коренных и шатунных подшипников и их монтажа, а также для выемки поршней. Верхний коленчатый вал осматривают при снятой крышке блока. Осмотр поршней и колец производят через люки 5 воздушных ресиверов и люки выпускных коллекторов.
Блок дизеля типа Д49 (рис. 5.14) сварен из стальных деталей: нижняя часть сварена из литых стоек 3, а верхняя — из листов 5. К стойкам блока прикреплены болта-
ми 2 штампованные подвески /. Стыки стоек блока и подвесок имеют зубцы, которые препятствуют смещению подвесок. В развале блока образован ресивер 4 наддувочного воздуха. Доступ в картер дизеля обеспечивается через люки, закрытые крышками 6. С правой стороны дизеля крышки имеют предохранительные клапаны.
Коренные подшипники. Подшипники предназначены для укладки коленчатого вала и состоят из корпуса и двух вкладышей. Корпус коренного подшипника выполнен из двух половин. Одна из них изготавливается в зависимости от конструкции остова за одно целое либо с рамой,

Рис. 5.13. Блок цилиндров дизеля типа Д100
либо с блоком цилиндров или картером. Вторая, съемная, половина коренного подшипника называется крышкой и крепится с помощью шпилек, болтов или специальных домкратов. Опорные коренные подшипники дизеля, как правило, имеют одинаковую конструкцию. Для предупреждения осевого перемещения коленчатого вала один из коренных подшипников, обычно ближний к фланцу отбора мощности, является опорно-упорным и отличается от других подшипников наличием бурта у вкладышей.
У дизелей типа Д50 коренной подшипник (см. рис. 5.11, б) состоит из корпуса, расположенного в фундаментной раме двигателя, двух вкладышей и крышки. Крышка 19 соединена с рамой шпильками 17. Стойки рамы, в которых расположены корпуса, усилены ребрами 15. Крышки подшипников отлиты из стали и пригоняются к горизонтальным и вертикальным плоскостям корпуса. Плотная постановка крышки в раме 14 разгружает шпильки от срезывающих и изгибающих усилий. В цент-

Рис. 5.14. Блок цилиндров и коренные подшипники дизеля типа 5Д49
ре крышка имеет отверстие 20 для установки штуцера, к которому присоединяется трубка для подвода масла. Рабочие вкладыши 16, воспринимающие усилия от коленчатого вала, расположены в корпусе рамы. В крышках установлены нерабочие вкладыши 18 коренных подшипников.
Коренные подшипники верхнего и нижнего коленчатых валов дизелей типа Д100 (см. рис. 5.13) имеют корпуса /, вваренные в блок дизеля, вкладыши — по два в каждом подшипнике и крышки 6. Крышки верхнего коленчатого вала крепятся к блоку шпильками 7, нижнего — болтами 2.
Корпуса в стойке блока, два вкладыша и крышки образуют подшипники дизелей типа Д49 (см. рис. 5.14). На девятой стойке и крышке установлены полукольца упорного подшипника. Отверстие для подвода масла и каналы расположены в стойках блока. К 10-му подшипнику масло поступает из полости коленчатого вала.
Вкладыши коренных подшипников коленчатого вала. Надежность работы вкладышей коленчатого вала в значительной степени определяет надежность всего дизеля. По конструкции вкладыши бывают толстостенными (толщина более 7 мм) и тонкостенными (2,5—7 мм).
Толстостенные вкладыши изготавливают из чугуна, стали или бронзы и заливают баббитом. Тонкостенные вкладыши нз малоуглеродистых сталей заливают свинцовистой бронзой с приработочным покрытием. В современных тепловозных дизелях подшипники с толстостенными вкладышами постепенно уступают место подшипникам с тонкостенными вкладышами. Эти вкладыши имеют меньшие габаритные размеры и массу, более удобны для массового изготовления и позволяют обеспечить взаимозаменяемость прн сборке и ремонте без пришабровки и пригонки. Плотное прилегание вкладышей к постелям и предохра-
нение их от проворачивания обеспечиваются натягом при установке.
Уже имеется значительный опыт работы на дизелях М753 и М756 тонкостенных биметаллических вкладышей (толщина вкладышей коренных подшипников 6 мм, шатунных 4 мм), которые изготавливаются прокаткой стальной основы с полосой из алюминиево-оловянистого сплава АО 20-1.
Вкладыши коренных подшипников дизелей типа Д50 (рис. 5.15, а) имеют корпус /, изготовленный из бронзы Бр ОЦС 3-12-5. Рабочая поверхность вкладыша залита слоем баббита 4 марки БК2. Для предупреждения проворачивания и осевого смещения у вкладышей выштам-пованы выступы 5, которые входят в пазы постели и крышки подшипника со стороны топливного насоса. В средней части вкладыша проходит канавка 2 с отверстием 3 (только у верхнего вкладыша) для подвода масла. У торца вкладыша сделаны холодильники 6 для распределения масла по всей ширине вкладыша.
Толщина корпуса 7,5 мм и толщина заливки 0,75 мм. Вблизи стыков толщина вкладыша уменьшена на 0,06 мм.
У дизелей типа Д100 вкладыши коренных подшипников (рис. 5.15, б) изготовлены из бронзы БР ОЦС 3-12-5 с заливкой баббитом БК2. Толщина вкладышей 19 мм при толщине заливки 0,5—0,7 мм.. Опоры блока дизелей типа Д100 в местах установки вкладышей имеют малую ширину для обеспечения прохода цилиндровых втулок. При небольшой ширине вкладыша только толстостенные вкладыши обеспечивают необходимую жесткость опоры. Вкладыши фиксируются стопорными штифтами, запрессованными в тело крышки, в отверстиях 4. На торцах вкладышей (со стороны управления дизелем) имеются два отверстия (по одному на каждом торце). В одно из них 6 диаметром 6 мм впрессован контрольный штифт, во второе диаметром 7,5 мм входит с зазором штифт парного вкладыша. Для повышения надежности работы коренные

Рис. 5.15. Вкладыши коренных подшипников тепловозных дизелей типов:
а — Д50; б —Д100 (канавочный вкладыш); в — ДЮО (бесканавоч-ный вкладыш); г — 5Д49
вкладыши дизелей 10Д100 изготавливают без канавок с гиперболической расточкой. На рис. 5.15, в показан вкладыш без канавки. Рабочая поверхность бесканавочного вкладыша увеличена. Масло подводится через отверстие 4. В остальном конструкции бесканавочного и вкладыша с канавкой аналогичны.
Вкладыши коренных подшипников дизелей типа Д49 (рис. 5.15, г) стальные тонкостенные (4,85 мм), залиты тонким слоем свинцовистой бронзы, на которую нанесен слой сплава олова со свинцом. Верхний вкладыш / на рабочей поверхности имеет канавку 2 и отверстия 3, через которые поступает масло. Гиперболическая расточка рабочих поверхностей вкладышей позволяет улучшить приработку и прилегание вкладышей при эксплуатации дизеля. Нижний вкладыш 6 около стыка имеет карманы 5 для подвода и распределения смазки по рабочей поверхности и непрерывной подачи масла к шатунным подшипникам и поршню. Для фиксации вкладышей штифтом, запрессованным в подвеску, служит отверстие 4.
Цилиндровые втулки (гильзы). Втулки образуют рабочий объем цилиндра и направляют движение поршня Работа втулок происходит в условиях высоких температур и давлений газов. Для обеспечения надежной н долговечной работы втулки должны быть прочными и жесткими с износостойкой поверхностью, по которой движется поршень. По условиям работы втулки цилиндров тепловозных дизелей охлаждаются водой. В зависимости от способа водяного охлаждения втулки разделяют на два типа: втулки без водяных рубашек в дизелях, где водяная полость образуется между втулкой и стенками блока; втулки с водяной рубашкой, когда водяная полость образуется между втулкой и рубашкой. Цилиндровые втулки без водяных рубашек устанавливаются на дизели типов Д50, Д12, Д40, 12УРЕ, 31(Ш1?. На дизелях
типов Д100, Д49, М750 втулки имеют напрессованные на них рубашки. Цилиндровые втулки изготавливают, как правило, из специального чугуна или стали. Внутренняя поверхность втулки (зеркало цилиндра) обрабатывается хонингованием до высокого класса чистоты (шероховатость не более 0,63).
Втулка цилиндра дизеля типа Д50 (рис. 5.16, а) отлита из чугуна СЧ24-44 и представляет собой цилиндр. Втулка имеет бурт 2, которым она входит в выточку блока цилиндров. На верхней части бурта проточен паз / для установки крышки цилиндра. На внутренней поверхности втулки выфрезерованы четыре выреза, позволяющие открываться клапанам газораспределения. В блоке втулка уплотнена в верхней части притиркой поверхности бурта к поясу блока, а в нижней части резиновыми кольцами. Аналогичную конструкцию цилиндровых втулок имеют четырехтактные дизели 12УРЕ17/24, К^ЗІООИ и др.
Цилиндровые втулки двухтактных дизелей типа Д40 (рис. 5.16, б) отличаются тем, что в средней части имеют продувочные окна / и уплотняются по блоку в поясах 3, 4 и 5. В верхний бурт ввернуты шпильки 2, которыми втулка подвешена к крышке цилиндра. Между крышкой и втулкой установлена стальная омедненная прокладка, уплотняющая газовый стык. Два выреза 6 в нижней части втулки служат для прохода стержня шатуна, а два отверстия 7 предназначены для крепления приспособления, удерживающего поршень при выемке комплекта.
У дизелей типа Д100 цилиндровые втулки (рис. 5.16, в) имеют особенности, определяемые конструкцией двигателя с расходящимися поршнями. Втулка 4 разгружена от осевых усилий, поэтому к блоку крепится только четырьмя небольшими шпильками с помощью фланца 5. В верхней части втулки расположены продувочные окна 3, а в нижней части втулки — вы-

Рис. 5.16. Втулки цилиндров тепловозных дизелей типов:
а — Д50; б — Д40; в — 10Д100; г — Д49
пускные окна /. На среднюю часть втулки напрессована стальная рубашка 2, которая в нижней части стопорится кольцом. Для уплотнения водяной камеры между втулкой и рубашкой установлены резиновые кольца. В рубашке имеются два отверстия для подвода и отвода воды и три сквозных отверстия в рубашке и втулке для установки адаптеров форсунок и индикаторного крана.
В блоке втулка с рубашкой уплотнены резиновыми кольцами и лабиринтом.
Втулка дизелей типа Д49 (рис. 5.16, г) изготовлена из хромомо-либденового чугуна, обладающего высокой износостойкостью. На втулку / надета рубашка 2. Для уплотнения между втулкой, рубашкой . и блоком поставлены резиновые кольца. Втулка, так же как и в дизелях типа Д40, крепится к крышке цилиндра с помощью шпилек 3. В блоке втулка фиксируется верхним 5 и нижним 6 опорными поясами. В отверстия верхнего торца запрессованы втулки 4 для перетока воды в крышку.










