УЗЛЫ ОСТОВА дизеля
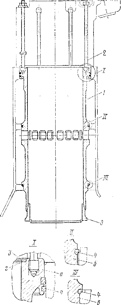
Рама дизель-генератора. дизель и генератор установлены на общей раме (рис. 5), представляющей собой жесткую сварную конструкцию из двух продольных балок, связанных торцовыми листами 1 и 9 и двумя поперечными коробчатыми балками 10. Каждая продольная балка состоит из верхнего 12 и нижнего 11 горизонтальных листов, боковых листов 18 и ребер 3.
К нижней части рамы приварен поддон 8, образующий совместно с торцовыми и боковыми листами 17 балок емкость (ванну) для масла. Для увеличения жесткости поддона и уменьшения перетока масла при наклонах и резких остановках тепловоза установлены две поперечные переборки 7. Сверху ванна закрыта сетками 16, предотвращающими вспенивание масла при работе дизеля и предохраняющими масло от попадания в него посторонних предметов. Из ванны масло через приемный патрубок 6 и трубу 2 засасывается масляным насосом дизеля. Крышка 5 с помощью защелки 24, пружин 25 и резинового уплотнения 26 плотно закрывает приемный патрубок 6 сверху. Через отверстие, закрытое крышкой 5, можно быстро и просто снять для очистки фильтрующую сетку 4. Уровень масла в ванне замеряют масло-мерным щупом 20. Для слива масла из ванны предусмотрено отверстие 19, соединенное со сливной трубой.
На передней торцовой поверхности рамы предусмотрены отверстия: а — для подачи масла к насосу дизеля; б — для подачи масла к масло-прокачивающему агрегату; в — для слива масла из системы тепловоза; г — для слива масла из сепарирующего бачка системы вентиляции картера.
На раме в средней части каждой балки имеются коробчатые упоры 27, которые совместно с упорами на раме тепловоза удерживают раму дизель-генератора от продольных перемещений. В каждой, балке рамы имеется полость 22, служащая емкостью для сбора масла, скапливающегося в наддувочном ресивере и непрерывно сливающегося туда по трубам 14 во время работы дизеля. Для удаления масла из полостей 22 установлены краны 21, а для очистки емкостей предусмотрены люки, закрытые крышками 23.
Лапами рама опирается на амортизаторы, закрепленные на раме тепловоза. Блок цилиндров крепится к раме болтами 15, часть из них — призонные. Стык между блоком и рамой уплотнен паронитовыми прокладками, на поверхность которых наносится паста «Герметик». На раме закреплен кожух 13, ограждающий соединительную дисковую муфту. В раме предусмотрены отверстия д, е для установки и крепления приспособления подъема дизеля с генератором и дизеля без генератора.
Блок цилиндров. Цельносварная конструкция блока цилиндров (рис. 6) У-образной формы разделена поперечными стойками на шесть секций, в которых размещены втулки цилиндров. Верхние плиты 10, средние 8 и нижние 7 продольные листы имеют отверстия, которые образуют опорные пояса для втулок цилиндров. Пространство, ограниченное верхними 10 плитами, средними 8 продольными листами, поперечными У-образными 29 и торцовыми 18 стойками, является полостью водяного охлаждения втулок цилиндров.
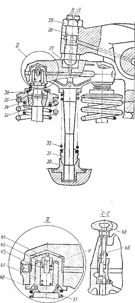
дизеля. Кроме этих клапанов, на задних торцах наддувочных коллекторов имеются предохранительные клапаны, служащие для той же цели. Каждый из предохранительных клапанов имеет тарелку 45, которая болтом 41 через пружину 39 прижата к прокладке 44 и корпусу клапана 43. Пружина с одной стороны.упирается в корпус клапана, с другой стороны—в гайку 40, зафиксированную шплинтом 42.
Рис. 7. Коренные подшипники: / — верхний вкладыш; 2 — канавка; 3 — нижний вкладыш; 4 — отверстие; 5 — замок
К торцовому листу блока со стороны фланца отбора мощности при-зонными болтами 16 прикреплен корпус 15 выносного подшипника коленчатого вала. Осевое перемещение коленчатого вала ограничивается стальными упорными кольцами 38 я 31 с тонкослойной бронзовой заливкой. Положение упорных колец, расположенных в кольцевых канавках постелей блока и подвесок седьмой и восьмой опор коленчатого вала, фиксируется винтами 33. Справа, на боковом листе корпуса выносного подшипника расположена горловина 26 для заправки дизеля маслом. На левом боковом листе имеется лючок, на котором установлен и укреплен центробежный фильтр масла. Этот лючок одновременно может быть использован для осмотра шестерен привода распределительного вала.
Коренные подшипники. Жесткость подшипникового узла повышена благодаря торцовым зубцам, имеющимся в стыке подвески со стойкой блока. Каждый коренной подшипник (рис. 7) состоит из верхнего 1-й нижнего 3 стальных вкладышей, залитых тонким слоем свинцовистой бронзы. Верхний и нижний вкладыши невзаимозаменяемы. В отличие от нижнего верхний вкладыш на рабочей поверхности имеет широкую кольцевую канавку 2 и три отверстия 4, через которые поступает масло на смазку и охлаждение подшипника. Для лучшей приработки вкладышей к коленчатому валу на свинцовистую бронзу наносится слой свинцовистого сплава толщиной 0,020 — 0,025 мм. Четвертый коренной подшипник, наиболее нагруженный, отличается от остальных большей шириной. Верхние вкладыши монтируются в стойках подшипников поперечных стоек блока, а нижние—в подвесках.
Положение верхних и нижних вкладышей фиксируется замками 5, входящими в углубления, имеющиеся на подвесках и стойках блока. Прилегание вкладышей к постелям всей поверхностью обеспечивается укладкой их в гнезда с гарантированным натягом (т. е. плоскости разъема вкладышей в свободном состоянии несколько выступают из прдве-ски и стойки) и обжимом болтами подвесок.
Втулка цилиндра. К крышке цилиндра подвешена втулка цилиндра (рис. 8), благодаря чему газовый стык крышки с втулкой полностью разгру-** жен. На верхнем опорном бурте" втулки 1 имеется кольцевая площадка для прокладки 3 из мягкой стали с омеднением, уплотняющей газовый стык между крышкой цилиндра и втулкой. На опорной поверхности прорезаны кольцевые канагжи г, способствующие лучшему уплотнению. Втулка скреплена с крышкой цилиндра шестью шпильками 2, ввернутыми в борт втулки. Втулка относительно крышки цилиндра фиксируется буртом днища крышки по внутреннему диаметру втулки и пояском на шпильке. Эта шпилька установлена в отверстие втулки цилиндра со стороны выпуска. В блоке втулка фиксируется верхним а, средним б и нижним в опорными поясами. Наружная поверхность втулки между верхним а и средним б поясами омывается водой. В средней утолщенной части втулки равномерно по окружности расположено восемнадцать окон, через которые воздух поступает в цилиндр. Наружная поверхность втулки между средним и нижним поясами охлаждается наддувочным воздухом. Между опорными поясами блока и втулки цилиндра для уплотнения установлены кольца 4 повышенной теплостойкости, изготовленные из разных сортов резины. Верхнее кольцо верхнего опорного пояса маркировано белой краской, нижнее кольцо верхнего опорного пояса—без маркировки, а кольца, устанавливаемые в средний и нижний опорные пояса, маркированы желтой краской. Два выреза д в нижней части втулки служат для прохода стержня шатуна при работе дизеля, а два отверстия-—для крепления приспособления, удерживающего поршень при выемке комплекта.
Рис. 8. Втулка цилиндра:
/ — втулка; 2 — шпилька; 3 — прокладка; 4 — кольцо; а —верхний пояс; б — средний пояс; в — нижний пояс; г — канавка; д — вырез
Крышка цилиндра. Чугунное днище 1 крышки цилиндров (рис. 9) соединено с алюминиевой крышкой 8 двумя шпильками 26, служащими одновременно для крепления форсунки, шестью шпильками 25, скрепляющими крышку и втулку цилиндра, и четырьмя шпильками, крепящими крышку цилиндра к блоку. В нижней части днища имеется кольцевая канавка для уплотнения «газового стыка» между крышкой и втулкой цилиндра. В крышке размещены форсунка и четыре выпускных клапана. Выпускные клапаны 2 притерты к гнездам, образованным в чугунном днище, и вставлены в крышку снизу. Для направления и уплотнения шпинделей выпускных клапанов в крышку 8 запрессованы четыре чугунные втулки 3 с металлокераыическими втулками 7 и уплотнительными кольцами 49 и 50 из фторопласта, которые удерживаются во втулке 3 от выпадания кольцом 48 и упругим кольцом 47. На уплотнительных кольцах установлены пружины, прижимающие их к шпинделю клапана. Отгибы пружинок фиксируют положение колец 49 и 50 так, чтобы вырезы колец были смещены на 90°.
В верхней части крышки имеется полость для сбора масла, стекающего с рычажно-клапанного механизма. Из этой полости масло сливается через лоток в картер дизеля. Между приливом днища и приливом лотка размещен сливной канал. Место соединения днища и лотка, уплотнено кольцом 22, насаженным на трубку 21. Между днищем 1 и крышкой 8 в отверстия для перетока воды установлены кольца 20 и трубки 19. Кольца 20 и 22 выполнены из маслостойкой резины, а трубки 21 и 19— из нержавеющей стали. Днище и крышка имеют полости, стенКи которых охлаждаются водой. Вода перетекает из блока в днище через восемь отверстий по трубкам 19. Из днища вода через два отверстия перетекает в крышку 8, а затем из нее через два отверстия — в водяные коробки выпускных коллекторов и далее в трубопровод охлаждения.
Сверху к крышке цилиндра четырьмя шпильками 13 крепится стойка 18. Две из этих шпилек ввертываются в крышку, две другие — в переходные гайки 27, крепящие втулку к крышке цилиндра. Для удобства монтажа стойка крепится к крышке дополнительно одним коротким болтом 28. Между колпаком 12 и крышкой установлена прокладка 9 из маслостойкой резины. Колпак крепится к крышке тремя винтами. Два винта ввертываются в переходные гайки, крепящие втулку к крышке цилиндра, и один — в стойку 29, закрепленную на крышке.
Лоток. В развале блока (рис. 10) болтами 2 укреплен лоток и фиксирован штифтами 13. В отверстиях лотка установлены двенадцать направляющих 6 толкателей 18, каждая из которых крепится к лотку шпильками. Шпильки выполнены трубчатыми. Направляющие толкателей уплотнены резиновыми кольцами 5. Сверху на лотке установлены топливный насос и его привод.
В лотке с правой и левой стороны расположены продольные каналы, в которые также по каналам поступает масло из масляной магистрали.
Рис. 9. Крышка цилиндра:
/ — днище; 2 — выпускной клапан; З — чугунная втулка; 4, 34 — тарелки; 5, 6, 32, 42, 51 — пружины; 7 — уплот-нительная втулка; 8— крышка; 9 — резиновая прокладка; 10 — шайба; 11 — траверса; 12 — колпак; 13, 25, 26 — шпильки; 14 — втулка подшипника; 15, 18, 29 — стойки; 16 — рычаг; 17 — головка; 19, 21, 23 — трубки; 20, 22, 24 — резиновые уплот-ннтельиые кольца; 27 -— переходная гайка; 28 — болт; 30 — гнездо; 31 — направляющая втулка; 33 — разрезной сухарь; 35 — колпачок; 36 — пружинное кольцо; 37 — сухарь; 38 — пажнмной болт; 39 — контргайка; 40 — втулка гидротолкателя; 41 — толкатель; 43 — упор; 44—■ шарик; 45 — маховичок; 46 — винт; 47 — упругое кольцо; 48 — кольцо; 49, 50 — уплот-пительпые кольца; а — полость гидротолкателя
Рис. 10. Лоток:
/ — лоток; 2— болт; 3 — трубка; 4 — прокладка; 5, 7, 10 — уплотнительные кольца; 6— направляющая; 8 — гайка; 9— кожух; 11— труба; 12, 19 — головки; 13 — штифт; 14 — «плавающая» внутренняя втулка; 15 — ось; 16—«плавающая» наружная втулка; 17 — ролик; 18 — толкатель
Из каналов масло поступает: для смазки толкателей; через трубчатые шпильки и шланги к крышкам цилиндров для смазки рычажных механизмов; для смазки подшипников вала привода топливного насоса и для смазки подшипников кулачкового вала топливного насоса. Конец канала связан трубкой с тремя реле защиты дизеля.
Масло из подшипников привода топливного насоса стекает в полость привода распределительного вала. Между корпусом привода топливного насоса и перегородкой на лотке установлена фетровая прокладка'4, предотвращающая попадание топлива в масло. Топливо, вода и масло, попадающие в лоток, отводятся через сливные отверстия в емкость.










