ГЛАВА
5
ОХЛАЖДАЮЩЕЕ УСТРОЙСТВО
ХОЛОДИЛЬНИК ТЕПЛОВОЗА
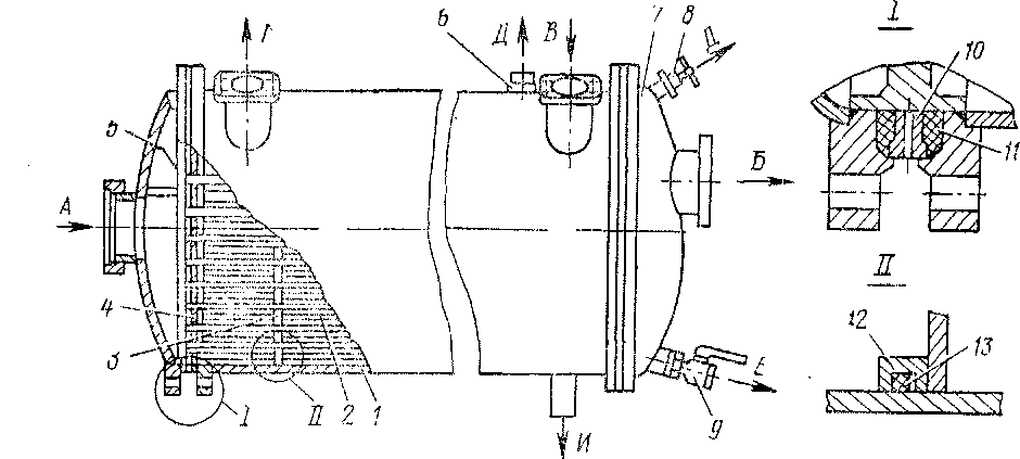
Тепловоз М62, как и тепловоз 2ТЭ10Л, оборудован холодильником для охлаждения воды и масла. Основными частями холодильника являются: блоки коллекторов с секциями, теплообменник, вентилятор холодильника, жалюзи с приводом и система управления. Блоки коллекторов и секций радиаторов и вентилятор холодильника расположены в холодильной камере (рис. 138). Водомасляный теплообменник установлен в дизельном помещении справа по ходу тепловоза и закреплен хомутами к настилу рамы.
В средней части холодильной камеры с помощью наклонных стенок образован проход для перехода из одной кабины в другую. Для выемки секций и проведения монтажных работ на наклонных стенках имеется по три люка, крышки которых прижаты к наклонным стенкам планками на болтах. Переднюю и заднюю стенку, имеющую дверь в тамбур, около крышки соединяет балка 9, являющаяся фундаментом вентилятора холодильника. Диффузор 11 с рамкой для крепления верхних жалюзи вварен в крышку холодильной камеры. Для подвода теплого воздуха в зимнее время к секциям радиаторов на диффузоре имеется четыре вентиляционных лючка 7 с крышками, крепящимися болтами. Под вентилятором холодильной камеры на арке, образующей верхнюю часть прохода,стоит обтекатель 8. Боковые стенки холодильной камеры имеют четыре проема (по два с каждой стороны) для установки жалюзи 10 с нерегулируемыми створками, под которыми расположены кассеты сетчатых фильтров. Через эти жалюзи и фильтры поступает воздух в дизельное помещение при заборе его турбокомпрессорами и вентиляторами охлаждения тяговых электродвигателей и генератора из кузова. Наружные боковые стороны холодильной камеры имеют два проема (по одному с каждой стороны) для установки боковых жалюзи, через которые проводится воздух к секциям радиаторов.
Секции радиаторов (рис. 139) установлены в один ряд вертикально у боковых проемов холодильной камеры. В контур охлаждения дизеля входят 15 секций радиаторов, расположенных слева, и в контур охлаждения масла дизеля входит также 15 секций, расположенных справа. Все секции одинаковые (длина их 1356 мм) такие же, как на тепловозах 2ТЭ10Л. Каждая секция прикреплена четырьмя шпильками к верхнему и нижнему коллекторам холодильной камеры, между при-валочными поверхностями которых установлены паронитовые прокладки. Для прохода охлаждающей воды в коллекторах холодильной камеры и в коллекторах секций сделаны расположенные друг против друга отверстия. Вода поступает к верхним коллекторам и, пройдя секции, отводится из нижних.
Верхние коллекторы прикреплены к каркасу холодильной камеры при помощи упругих пластин 5, изготовленных из стали 65Г ГОСТ 1577—70 толщиной 6 мм. Нижние коллекторы установлены на резиновых амортизаторах. Такая установка коллекторов холодильной камеры обеспечивает возможность теплового удлинения секций радиаторов. После ремонта перед установкой.коллекторы с вывернутыми шпильками проверяют на герметичность путем опрессовки их водой давлением 8 кгс/см2 (0,78 МПа) в течение 5 мин — течь и потение не допускаются.
Боковые и верхние жалюзи установлены на входе и выходе воздуха из холодильной камеры. Теплоотдачу секций холодильной камеры можно регулировать, открывая или закрывая поворотные створки жалюзи. Управление положением створок боковых жалюзи автоматическое через электропневматические вентили и пневматические цилиндры. Система рычагов связывает поршни цилиндров со створками жалюзи. Створки жалюзи открываются сжатым воздухом, который подается из питательной магистрали через электропневматический вентиль в пневматический цилиндр и перемещает его поршень в крайнее положение, сжимая при этом пружину. При закрытии створок жалюзи электропневматический вентиль выпускает воздух из цилиндра, пружина возвращает, поршень в первоначальное положение и удерживает створки в закрытом положении. На случай нарушения работы автоматического управления жалюзи на тепловозе предусмотрено дистанционное и ручное управление. Дистанционное управление осуществляется из кабин машиниста включением и выключением соответствующих тумблеров на пульте управления. При этом тумблер автоматического управления (на пульте управления) должен быть выключен. При использовании ручного привода створки жалюзи открывают рычагом, который валиком соединен с вилкой штока поршня пневматического цилиндра. Рычаг имеет защелку для фиксации створок жалюзи в открытом положении.
Рис. 139. Установка коллектора и секций радиаторов:
/ — амортизатор; 2 — коллектор водяной нижний; 3 — секция радиатора; 4 — коллектор водяной верхний; 5 г- упругая пластина
На тепловозе применен раздельный привод жалюзи правой и левой стороны в соответствии с расположением охлаждающих секций радиаторов контуров воды охлаждения дизеля и охлаждения масла дизеля. Верхние жалюзи имеют только дистанционное и ручное управление. При использовании дистанционного управления тумблер автоматического управления может быть установлен в любое положение (включен или выключен). Створки верхних жалюзи должны быть открыты сразу же после пуска дизеля. В противном случае при работе вентилятора холодильной камеры они могут быть повреждены. Привод жалюзи и воздухопровод расположены на задней стенке холодильной камеры со стороны тамбура.
Теплообменник. Конструкция многоходового водомасляного теплообменника представлена на рис. 140. В корпусе 1 с двумя приваренными по концам фланцами установлен охлаждающий элемент, собранный из медных трубок диаметром 10 мм, трубки закреплены в передней 4 и в задней трубных досках. Концы трубок развальцованы, отбуртова-ны и припаяны. Трубки к доскам припаивают поочередным погружением концов охлаждающего элемента в ванны с расплавленным припоем ПОС-30.
Корпус теплообменника изготовлен из стального листа толщиной 6 мм и имеет соединительные фланцы и патрубки для подвода и отвода масла. В верхнюю часть корпуса вварен штуцер, закрытый заглушкой для выпуска воздуха из масляной полости теплообменника. В нижней части имеется второй штуцер, к которому подсоединена труба с вентилем для слива масла. Передняя 5 и задняя 7 крышки изготовлены из стали, они имеют патрубки для подвода и отвода воды. Кроме того, в верхнюю часть крышки вварен штуцер с вентилем 8 для выпуска воздуха из водяной полости теплообменника, а в нижнюю часть — штуцер с краном 9 для слива воды. В крышках имеются перегородки, с помощью которых создается трехходовый поток воды в теплообменнике.
Рис. 140. Теплообменник:
/ — корпус; 2 - охлаждающий элемент; 3 - перегородка; 4 - передняя трубная доска; 5-передняя"крышка; 6 — заглушка; 7 — задняя крышка; « — штуцерный вентиль; 9 — кран спускной- 10 — промежуточное кольцо; //-резиновое кольцо; /2 —обод; 13- резиновый уплотняющий шнур; А — вход воды; Б — выход воды; В — вход масла; Д — выпуск воздуха; £ — слив воды; И — слив масла; Г — выход масла
Охлаждающая вода и масло протекают навстречу друг другу, вода — внутри трубок, масло — снаружи. Кроме того, охлаждающий элемент девятью сегментными перегородками 3 разделен на полости, что обеспечивает поперечное омывание маслом трубного пучка и улучшает теплообмен. Чтобы свести к минимуму паразитные перетечки масла, снижающие эффективность теплообменника, к цилиндрическому периметру всех девяти перегородок приварен обод 12. В паз каждого обода заложен резиновый уплотнительный шнур 13. Кроме того, для улучшения теплообмена уменьшен зазор между барабаном корпуса и трубным пучком путем установки накладок из алюминия по внутренней поверхности барабана. Температурные удлинения охлаждающего элемента 2 компенсируются перемещением в передней трубной доске 4 в сальниковом уплотнении корпуса теплообменника. Уплотнение состоит из двух резиновых колец 11 и промежуточного стального кольца 10. На промежуточном кольце на равном расстоянии просверлено 24 отверстия диаметром 3 мм. В случае пропуска воды или масла через резиновые кольца 11 капли жидкости будут стекать наружу через эти отверстия. Водяные полости передней и задней крышек также уплотнены. Между ребром перегородки передней крышки и трубной доской установлено резиновое уплотнение. Установочные места задней крышки, ее перегородки, трубной доски и корпуса уплотнены парони-товыми прокладками.
Диаметр корпуса теплообменника — 472 мм, длина трубок — 1527 мм, диаметр трубок — 10 мм, количество трубок ■— 955 шт. поверхность трубок, омываемая маслом, — 44 мм2, поверхность трубок, омываемая водой, — 35,2 мм2. Общая длина трубок теплообменника — 1792 мм. а масса — 804 кг.
Уход за теплообменником. При длительной эксплуатации тепловоза с течением .времени из-за отложений нефтепродуктов в масляной полости теплообменника и продуктов эмульсионной присадки и накипеоб-разования в водяной полости ухудшается теплообмен. Для удаления этих продуктов промывают полости теплообменника. Масляную полость теплообменника рекомендуется промывать водным раствором пе-тролатума (4%) и каустической соды (5%) с последующей промывкой горячей водой.
Перед установкой теплообменника на тепловоз его полости подвергают гидравлическому испытанию давлением: полость воды — 6 кгс/см2 (0,59 МПа), полость масла — 15 кгс/см2 (1,47 МПа). Течи и отпотевания при этом не допускаются. Если обнаружена течь трубок, то дефектные трубки запаивают или заглушают с обеих сторон. Допускается заглушать не более 3—4% трубок. Течь трубок может быть обнаружена по наличию воды в масле при его анализе (вода в масляную систему попадает при неработающем дизеле). Наличие масла в воде обычно свидетельствует о неплотности сальникового уплотнения теплообменника (при работающем дизеле давление в масляной системе выше, чем в водяной).
При ремонте сальникового уплотнения металлическое кольцо очищают, а резиновые уплотнительные кольца заменяют. Течи в трубных досках устраняют пайкой припоем ПОС-30.
При сборке теплообменника перегородки крышек должны плотно прилегать к резиновому уплотнению (передняя крышка) и прокладке (задняя крышка), поэтому предусмотрен натяг не менее 1 мм. Запас для натяга сальникового уплотнения должен быть не менее 5 мм.
Секция радиатора. Секция (рис. 141) представляет собой набор из 68 медных плоских трубок,., расположенных в шахматном порядке. Концы трубок вставлены и припаяны меднофосфористым припоем к трубным коробкам 2. Снаружи трубки оребрены медными пластинами, которые припаяны к трубкам, с шагом между ними 2,3 мм. К буртам трубных коробок приварены крышки, которые вместе с коробками образуют коллекторы секций /.
Характеристика секции
- Длина секции, мм.......... 1356
- Рабочая длина трубок, мм....... 1206
- Число трубок, шт........... 68
- Число рядов трубок в глубину, шт. ... 8
- Шаг расположения трубок но фронту, мм . 16
- Шаг расположения трубок в глубину, мм . 22
- Ширина фронта секции, мм...... 154
- Глубина секции, мм......... 187
Размеры трубок, мм:
- наружных ........... 2,2X19,5
- внутренних........... 1,1X17,9
- Число охлаждающих пластин, шт..... 519X2
- Толщина охлаждающих пластин, мм . . . 0,1
- Шаг оребреиия, мм 2,3
- Масса секции, кг ,......... 44,5
Рис. 141. Секция радиаторная: / — коллектор секции; 2 — коробка трубная; 3 — заклепка медная; 4— доска усилительная; 5— трубка глухая; 6 — трубка охлаждающая; 7 —пруток; 8 — пластина охлаждающая; 9 — шток боковой
Уход за секциями. В процессе эксплуатации трубки секций радиаторов засоряются продуктами присадки к воде, шламом из системы и образованием накипи. Для удаления этих продуктов секции периодически промывают. Перед промывкой секции очищают и зачищают привалочные поверхности коллекторов. Секции промывают на типовых стендах вначале горячей водой снаружи, затем моющим раствором (например, омыленный петролатум — 30 кг и каустическая сода — 25 кг на 1 м3 воды) прямым и обратным потоком внутри. Качество промывки проверяют на типовом стенде (объем бака 60 л, расстояние от верхнего уровня воды до привалочной поверхности 1970 мм) по времени протекания воды через секцию, которое должно быть не более 65 с. Если время более 65 с, то секцию повторно промывают. Допускается при соблюдении правил техники безопасности очищать внутреннюю полость секции заполнением ее на 15—20 мин 50-процентным раствором технической соляной кислоты.
После слива раствора для нейтрализации оставшейся кислоты секцию заполняют 2-процентным раствором кальцинированной соды, затем промывают теплой чистой водой и продувают воздухом. Перед постановкой секций на тепловоз их подвергают гидравлическим испытаниям на давление 5 кгс/см2 (0,49 МПа) в течение 5 мин. Течь воды при этом не допускается.
Течи трубок секций в доступных местах устраняют пайкой. При течах трубок в недоступных местах дефектную трубку запаивают с обеих концов. Разрешается запаивать не более восьми трубок. Если
трубки текут у крышки усилительной доски, то можно отрезать трубную коробку, отступив 4 X 5 мм от усилительной доски, при этом следует учитывать, что активная длина трубок должна быть не менее 1145 мм. После этого устанавливают новую трубную коробку и припаивают к ней трубки. Если при этом не обеспечивается длина секции 1356 мм, то к буртам трубной коробки припаивают обечайку из медной ленты толщиной 1,5 мм.










