СИГНАЛИЗАЦИЯ И ЗАЩИТА В ТЯГОВОМ РЕЖИМЕ
Перегрев воды или масла дизеля. Размыкающие контакты реле температуры воды и масла (ТРВ и ТРМ) между проводами 139 и 142 защищают дизель от чрезмерного нагрева воды и масла. При недопустимом повышении температуры воды и масла в системе охлаждения контакты ТРВ или ТРМ разрывают цепь питания контактора КВ, что приводит на 2-—15-й позициях также и к отключению контактора ВВ. При этом блок-контакты ВВ (провода 193, 198) вызывают горение лампочки «Сброс нагрузки».
Короткое замыкание силовой цепи на корпус. Силовая цепь от замыкания на корпус и от кругового огня по коллекторам тяговых электродвигателей или тягового генератора, сопровождающегося замыканием на корпус с тяжелыми аварийными последствиями, защищена при помощи реле заземления РЗ. Реле включено между полюсом «минус» генератора и корпусом тепловоза. Это реле защищает часть силовой цепи, положительный потенциал которой по отношению к корпусу тепловоза достаточен для срабатывания реле.
Когда ток аварийного замыкания через реле заземления достигает достаточной для срабатывания величины (10 А), реле срабатывает и размыкает свои контакты между проводами 113 и 116 в цепи питания катушек контакторов ВВ и КВ, благодаря чему прекращается возбуждение возбудителя и тягового генератора. Кроме того, контактами между проводами 183 и 197 реле заземления подает питание на сигнальную лампу. Одновременно блок-контакты контактора ВВ между проводами 198 и 193 подают питание на сигнальную лампу «Сброс нагрузки».
Боксование. Для защиты тяговых электродвигателей от боксования на тепловозе установлены три реле боксования РБ1, РБ2 и РБЗ, объединенные в одном блоке, Каждое реле защищает от боксования два электродвигателя. При нормальной работе двигателей потенциалы точек, к которым подключены реле, мало отличаются друг от друга и через катушки проходят незначительные токи, не вызывающие срабатывания. При боксрвании одной из колесных пар повышается частота вращения ее тягового электродвигателя, что приводит к понижению потенциала точки присоединения соответствующего реле к этому двигателю. Возникающая разность потенциалов приводит к увеличению тока через катушку реле и его включению.
Контакты реле между проводами 160 и 165 в цепи катушки ВВ размыкаются и мощность генератора резко падает. При отключении контактора ВВ его контакты падают напряжение на сигнальную лампу «Сброс нагрузки». Контакты реле, разомкнувшие цепь питания контактора ВВ, в то же время замыкают цепь питания сигнала боксования СБ.
Пробой газов в картер дизеля. При пробое газов используется дифференциальный манометр, измеряющий давление в картере. При повышении давления в картере контакты КДМ дифманометра замыкаются и создается цепь питания промежуточного реле РУ7, которое своими контактами между проводами 223 и 222 блокируется во включенном положении. Реле РУ7 своими контактами между проводами 349 и 350 разрывает цепь питания катушки реле РУЗ. Реле РУЗ размыкает свои контакты между проводами 227 и 228, прекращая питание электродвигателя насоса, и размыкая контакты (1048, 1049) в цепи питания блок-магнита ЭТ, что приводит к остановке дизеля.
Недостаточное давление смазки дизеля. Если при пуске дизеля маслопрокачивающий насос создает недостаточное давление, контакты реле давления РДМЗ не замыкают цепь питания реле РУ5. Если при работающем дизеле не обеспечивается необходимое давление масла контакты релеРДМІ размыкают цепь питания промежуточного реле РУН, а следовательно, и блок-магнита дизеля ЭТ и дизель останавливается. Если при переходе на 12-ю и выше позиции контроллера с тяговой нагрузкой не обеспечивается повышенное давление, то контакты реле РДМ2 отключают контактор КВ, производя сброс нагрузки с загоранием лампы «Сброс нагрузки». При этом контроль давления обеспечивается размыканием контактов реле РУ4 между проводами 132 н 138.
Переход на аварийный режим при неисправности тягового двигателя. При выходе из строя тягового двигателя, например первого, отключается соответствующий отключатель электродвигателя ОМ1. Его контакты разрывают цепь питания катушки поездного контактора П1 (провода 220 и 208), шунтируют блок-контакты этого контактора между проводами 120 и 121 в цепи питания катушек контакторов ВВ и КВ и вводят в цепь питания амплистата дополнительный участок резисторов СОЗ между проводами 457 и 459, благодаря чему снижается мощность генератора.
Поездной контактор П1 своими силовыми контактами между проводами 502 и 509 отключает неисправный двигатель от генератора, его блок-контакты между проводами 146 и 154 шунтируют размыкающие контакты реле боксования РБ1, подключенного к этому двигателю, исключая влияние реле на возбуждение; блок-контакты между проводами 166 и 169 исключают подачу питания замыкающими контактами реле РБ1 на сигнал боксования.
Перенос управления с одного пульта на другой. Для переноса управления без остановки работающего дизеля, например с пульта в кабине А (пульт № 1) на пульт в кабине Б (пульт № 2), необходимо при нулевой позиции контроллера на пульте № 2 ключ вставить и повернуть вправо до упора, предварительно включив автоматы «Управление» и «Топливный насос». После этого вернуться на пульт № 1 и выключить эти автоматы.
Электродистанционное измерение физических величин. Электроизмерительные приборы подключены к аккумуляторной батарее при помощи автоматов «Приборы», установленных на камере электрооборудования. Кроме того, на каждом пульте имеется тумблер «Электроизмерительные приборы», подающий питание "к электроизмерительным приборам данного пульта. Добавочные резисторы 120 необходимы для .«гашения» напряжения до номинальной для .работы приборов величины (27 В).
Работа тепловозов по системе двух единиц. Схема тепловоза предусматривает возможность при сочленении двух тепловозов управлять обоими тепловозами с одного пульта управления. Для этого цепи управления имеют отводы к штепсельным розеткам на торцах тепловоза. Цепи управления двух тепловозов соединяются между собой через эти розетки гибкими межтепловозными соединениями, имеющими на своих концах штепсели, чем обеспечивается управление электроаппаратами обоих тепловозов. Порядок соединения выводов штепселей межтепловозных соединений указан в примечании на схеме. Например, при движении ведущего тепловоза кабиной А вперед, а ведомого кабиной Б вперед управление происходит следующим образом. При включении автомата «Топливный насос II тепловоза» кабины А ведущего тепловоза (пульт № 1) создается следующая цепь питания реле РУЗ ведомого тепловоза: провод 357, клемма 12/13, провод 358, клемма 22/13, провод 33, межтепловозное соединение, в котором провод 33 соединяется с проводом 32 в кабине Б ведомого тепловоза, клемма 22/12, провод 353, клемма 12114, провод 343, размыкающие контакты замкового ключа К31 в кабине А ведомого тепловоза, провод 342, клемма 12/20, провод 351, клемма 3/8, провод 349, размыкающие контакты, реле РУ7, провод 350, реле РУЗ управления топливным насосом ведомого тепловоза, провод 348, клеммы 2/8—10 (+.). «Минусы» батарей обоих тепловозов соединяются отводами 18 и 19 через межтепловозное соединение. Питание электродвигателя топливного насоса обеспечивается включенным автоматом «Топливный насос» на стенке камеры электрооборудования ведомого тепловоза.
При включении кнопки «Пуск дизеля II тепловоза» на ведущем тепловозе ток идет через провод 335, клемму 13/18, провод 336, клемму 23/18, провод 31, межтепловозное соединение в котором провод 31 соединяется с проводом 30 в кабине Б ведомого тепловоза, клемму 23/1, провод 319,клемму 6/2, к пусковому реле времени ведомого тепловоза. Питание цепи пуска обеспечивается включенным автоматом «Управление» на ведомом тепловозе. При включении реверсора на ведущем тепловозе в переднее положение ток идет через клемму 5/3, провод 109, клемму 23/10, провод 12 в межтепловозное соединение, в котором провод 12 соединяется с проводом // в кабине Б ведомого тепловоза, клемму 23/9, провод 103, клемму 5/4, провод ПО к вентилю «Назад» привода реверсора, ведомого тепловоза (движение тепловозов происходит в одну сторону). При переключении контроллера на различные позиции, подаче нагрузки, песка и т. д. управление ведомым тепловозом осуществляется аналогично через соответствующие отводы и меж-тепловозные соединения.
Электродистанционное измерение при работе по системе двух единиц. При сочленении тепловозов вставки штепсельных разъемов ШР в смежных кабинах переставляются в нижнее положение. При этом датчики второго тепловоза, ранее используемые для измерения параметров собственного дизеля, подключаются к соответствующим указателям первого тепловоза. Например, связь указателя «Температура воды II тепловоза» на пульте кабины А (пульт № 1) ведущего тепловоза с датчиком ведомого тепловоза при таком сочленении осущестляется по цепи: клеммы 22/11, 23/14, провода 36 и 37, межтепловозное соединение, в котором провода 36 и 37 ведущего тепловоза соединяются с проводами 35 и 34 ведомого, штепсельный разъем в кабине Б (пульт та № 2) ведомого тепловоза, провода 711 и 714 и т. д. к датчику «Температура воды». При этом питание измерителя обеспечивается соединением выводов 659 и 721 в штепсельном разъеме кабины Б ведущего тепловоза при перестановке его вставки в нижнее положение.
Связь указателя «Давление масла II тепловоза» на пульте кабины А ведущего тепловоза с датчиком ведомого при том же сочленении идет по цепи: клеммы 23/15, 23/16, 23/17, провода 41, 42, 43, межтепловозное соединение, в котором эти провода соединяются соответственно с проводами 40, 39, 38 в кабине Б ведомого тепловоза, штепсельный разъем в кабине Б, провода 697, 701,704 и т. д. к датчику «Давление масла».
Перестановка штепсельной вставки в нижнее положение в кабине Б второго тепловоза обеспечивает аналогичное соединение указателей пульта кабины А второго тепловоза с соответствующими датчиками первого.
Прокачка масла «вручную». В. схеме предусмотрена возможность предварительной прокачки масла при неработающем дизеле вне связи с автоматикой пуска дизеля. Для этого необходимо включить тумблер «Прокачка масла». При включенном автомате «Управление» создается цепь тока через контакты реле РУЗ (провода 981, 982), РУ5 (провода 982, 333) - и катушку контактора Д'МЯ. Контакты реле РУЗ в этой цепи исключают возможность включения маслопрокачивающего насоса при работающем дизеле. Получив питание, контактор КМН^подключает электродвигатель масляного насоса к аккумуляторной батарее.
Подача песка. При боксовании колесных пар тепловоза под первую и четвертую колесные пары (при движении тепловоза вперед) и под третью и шестую (во время движения тепловоза назад) можно подавать песок. Песок подается сжатым воздухом. Воздух к форсункам песочницы поступает при помощи электропневматических клапанов песочниц КЛП. Для подачи песка необходимо нажать педаль песочницы ПП. При этом через замкнутые, соответствующие направлению движе-. ния блок-контакты ПР реверсора получает питание катушка клапана КЛПВ (вперед) или КЛПН (назад).
Калориферное отопление кабины. Для обогрева кабин машиниста на тепловозе используются водяные калориферы, питаемые горячей водой из системы охлаждения дизеля. Сквозь радиатор калорифера вентилятором продувается воздух и подается в кабину. Вентилятор приводится во вращение электродвигателем (М/С) постоянного тока. Для подачи питания на электродвигатель необходимо включить автомат «Калорифер».
Вентиляция кузова. Вентилятор кузова приводится во вращение электродвигателем постоянного тока. Для пуска вентилятора необходимо включить автомат «Вентилятор кузова». При этом создается цепь питания двигателя вентилятора кузова.
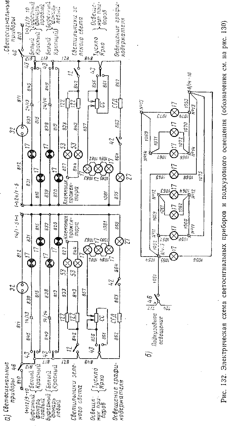
Вспомогательные цепи. Цепи питания светосигнальных приборов и освещения приведены на рис. 131 и 132.
Автоматическая пожарная сигнализация. Автоматическая сигнализация срабатывает при возникновении на тепловозе очага пожара или опасно высокой температуры. В устройство автоматической пожарной сигнализации входят датчики температуры, установленные в различных местах дизельного помещения и камеры электрооборудования, промежуточные реле, сигнальная световая арматура, а также дополнительная аппаратура. Для одновременного звукового сигнала используется зуммер боксования.
Датчик температуры представляет собой терморезнстор типа КМТ-10, заключенный для предохранения от повреждений в решетчатый корпусе выводами для подключения проводов внешней электроцепи. Используется свойство такого терморезистора уменьшать свое сопротивление под воздействием достаточно высокой температуры. В по-
следовательной электрической цепи, состоящей из терморезистора (нелинейное сопротивление) и реле (линейное сопротивление), при определенной температуре происходит скачкообразное увеличение тока. При этом реле включается, а его контакты подают напряжение на сигнальные лампы и зуммер (рис. 133).
В зависимости от максимально возможных температур места установки датчиков разделены на две зоны. К одной из них относятся камера электрооборудования и крыша кузова над дизелем (максимальная рабочая температура + 80° С), к другой ■— стенки дизельного помещения (максимальная рабочая температура + 60° С). Соответственно для исключения ложного сигнала схема разделена для двух групп датчиков: первая группа имеет напряжение питания 28 В, вторая— 40 В. Кроме этого, производится разделение датчиков по плюсовым (1-я группа) и минусовым (2-я группа) допускам сопротивления. Необходимые напряжения для питания снимаются с потенциометров, установленных на панели промежуточных реле. При срабатывании одного из датчиков включается реле Р1 или Р2. Реле своими контактами включает сигнальные лампы «Пожар» и зуммеры на пультах машиниста. Одновременно одним из контактов реле становится на самопитание. При работе по системе двух единиц сигнал подается через межтепловозное соединение. Исправность схемы проверяется тумблером 43, В крайних положениях его контакты шунтируют датчики групп, вызывая срабатывание соответствующего промежуточного реле.
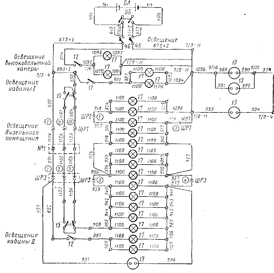
Рис. 131. Схема цепей освещения (обозначения см. на рис. 130)










