Электроизмерительные приборы
Для контроля за работой тепловоза и отдельных его агрегатов и устройств служат электроприборы, измеряющие ток и напряжение тягового генератора, напряжение вспомогательного генератора, ток аккумуляторной батареи, а также некоторые физические параметры систем дизеля. В качестве амперметров и вольтметров применены стандартные приборы общего применения типа М-4200.С шунтами косвенного подключения, добавочными резисторами или без них. Для измерения температуры и давления применены специальные дистанционные электроприборы.
Дистанционные электроизмерительные приборы. Это логометриче-ские приборы, состоящие из указателя и датчика, электрически соединенных между собой. Указатели установлены на пультах управления, датчики расположены в местах измерения соответствующих физических величин. Работа логометрического указателя основана на принципе взаимодействия постоянного магнита, связанного с указательной стрелкой, с магнитным полем переменного направления. Магнит стремится установиться в направлении магнитного поля,
Магнитное поле переменного направления создают две установленные под углом друг к другу рамочные обмотки, обтекаемые токами, взаимное распределение которых зависит от разбаланса мостиковой электросхемы прибора. Разбаланс мостиковой схемы вызывается изменением включенного в одно из плеч мостика сопротивления под воздействием измеряемой температуры (датчик температуры) либо измеряемого давления (датчик давления). Достоинство логометрических приборов — независимость их показаний от колебаний питающего напряжения (в определенных пределах), что очень важно для тепловозов, где трудно обеспечить строгое его постоянство.
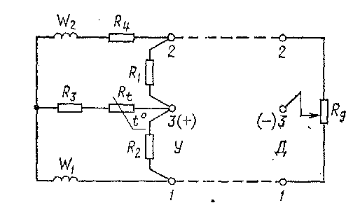
Электроманометры. Для измерения давления воздуха используется прибор (датчик и указатель) типа ЭДМУ-15Ш. Направление магнитного поля в указателе (рис. 119) определяется соотношением электрических токов в обмотках Ц7Х, ЦР2.
Изменение регулируемых плеч потенциометра вызывает противоположные изменения этих токов, что обеспечивает необходимую чувствительность прибора. Потенциометр заключен в датчике, устройство которого изображено на рис. 120. Воспринимаемое мембраной 7 датчика давление в приемном узле передается через шток / и качалку 2 поворотному рычагу 5. При повороте рычага вокруг оси происходит скольжение связанных с рычагом проволочных контактов 4 по потенциометру 3. В результате сопротивления плеч мостовой электросхемы прибора перераспределяются. Это вызывает изменение соотношения токов рамочных обмоток, направления их общего магнитного поля и положения магнита-стрелки указателя.-
Рис. 119. Электросхема прибора ЭДМУ-15Ш:
ХРи ■ №2 — рамочные обмотки; Я2, Яз, Л, Ш — резисторы указателя; /?д — потенциометр датчика; У — указатель; Д — датчик
Рис. 120. Датчик электроманометра:
/ — шток; 2 —качалка; 3 — потенциометр- 4 — кпн такт скользящий; 5 _ рычаг поворотный- 6-разъем штепсельный; 7 -"мембрана- 8 - узел при емный
Технические данные элек-троманометра: пределы измерения — 0 — 15 кгс/см2, напряжение питания — 27 В ± ± 10%, потребляемый ток — 0,1 А, погрешность в рабочем диапазоне ± 0,6 кгс/ см2.
Электротермометры. Для измерения температуры охлаждающей воды дизеля применен комплект приборов типа ТП-2, состоящий из указателя типа ТУЭ-8А и датчика типа ПП-2.
Схема прибора изображена на рис. 121.
Температура жидкости, омывающей датчик, воздействует на полупроводниковый терморезистор 7?д, заключенный в корпус датчика. Это приводит к изменению соотношения токов в обмотках №г и Wг и соответствующей переориентации в их магнитном поле стрелки указателя. Технические данные электротермометра: напряжение питания — 27 В ± 10%, рабочий диапазон — 75—90° С, погрешность в рабочем диапазоне — ±2° С.
Трансформатор питания ТП-5. Трансформатор броневого типа предназначен для питания приборов на тепловозе. Сердечник трансформатора нашихтован из листов электротехнической стали. Катушка выполнена бескаркасной и залита компаундом на Основе эпоксидной смолы. Магнитопровод стянут четырьмя угольниками и шпильками. Угольники имеют отверстия для установки.

Рис. 121. Электросхема прибора ТП-2: Щ — рамочные обмотки; Д., д., рш «5, «-резисторы указателя; Я„ — Тео-
морезнстор датчика; У — указатель; Д — дат-чнк
Технические данные трансформатора
- Напряжение первичное, номинальное, В . 75
- Напряжение вторичное, номинальное, В ' 1274-10"
- Номинальной ток первичной цепи А 0 8
- Номинальный ток вторичной цепи,' А ' 0 34
- Рабочий диапазон частот, Гц........ 50—90
- Число витков первичной обмотки ...... 327
- Диаметр провода, мм........... 0,59
- Число витков вторичной обмотки ...... 600
- Диаметр провода, мм ........... 0,38
- Тип провода.............. ПЭВ2
- Масса аппарата, кг............ 2,3










