§ 20. Электрические цепи
В схеме предусмотрена возможность предварительной прокачки масла в системе дизеля помимо цепей автоматического пуска дизеля. Для этого необходимо включить автомат «Управление» и тумблер «Прокачка масла». При этом создастся цепь тока: провод 1047, клеммы 4(1-2, провод 980, замкнутые контакты тумблера «Прокачка масла», провод 981, размыкающие контакты реле РУЗ, исключающие возможность прокачки масла при работающем дизеле, провод 982, размыкающие контакты реле РУ5, провод 333, катушка контактора КМ И, провода 148, 247, 296 клеммы //13-20. Получив питание, контактор KMII подключает электродвигатель масляного насоса к аккумуляторной батарее по описанной ранее цепи.
Подача песка. Для предупреждения буксования под первую и четвертую колесные пары (при движении кабиной А вперед) или иод третью и шестую (при движении кабиной Б вперед) можно подавать песок. Песок подается сжатым воздухом.
Доступ воздуха к форсункам песочницы осуществляется с помощью элелегр о пневматических клапанов песочниц (КЛП). Для подачи песка под колесные пары необходимо нажать педаль песочницы (ПП). При этом создастся цепь питания КЛП: провод 337, замкнутые контакты педали песочницы, провод 341, клемма 13(8, провод 308, клемма 5!5, провод 310, далее ток идет в зависимости от положения реверсора. При положении реверсора «вперед» — через замкнутые пальцы реверсора ПР, провод 312, электроны ев м этический клапан песочницы КЛП В, провода 313, 314, «минус» схемы. При положении реверсора «назад» — через замкнутые пальцы реверсора ПР, провод 311, клапан песочницы КЛПН, провод 314, «минус» схемы.
Управление устройствами охлаждения. На тепловозе предусмотрено ручное и автоматическое управление жалюзи и вентилятором холодильника. Управление устройствами охлаждения осуществляется с помощью пневматических приводов. При ручном управлении включение и выключение вентилятора холодильника жалюзи воды и масла производится тумблерами на пульте управления. На тепловозах последних выпусков предусмотрен тумблер управления верхними жалюзи, порядок пользования которым указан в инструкции.
При включении тумблеров вентили ВП1, ВП2, ВИЗ и ВП4 пропускают воздух в соответствующие пневмоприводы.
Для перехода на автоматическое управление необходимо включить тумблер «Автоматическое управление холодильником»* При управлении с пульта кабины «А» получает питание
катушка промежуточного реле РУ2 по цепи: клеммы 2/8-10, провода 249, 722, 723, 724, 726, автомат «Управление холодильником», провод 723, клемма 5/2, провод 731, клемма 14116, провод 730, контакты замкового ключа КЗ, провод 727, замкнутые контакты тумблера, «Автоматическое управление холодильником», провод 762, клемма 13116 провод 763, клемма 3/5, провод 765, катушка РУ2, провода 179, 180, 244, 302, 296, «минус» схемы. Получив питание, реле РУ2 своими размыкающими контактами между проводами 743 и 741, 754 и 755 разрывает цепи ручного управления электропневматическими вентилями ВП2 и ВИЗ приводов жалюзи воды и масла. Своими замыкающими контактами между проводами 745 и 746, 757 и 758 реле РУ2 обеспечивает возможность подачи напряжения на катушки вентилей BY12 и BU3 через концевые выключатели ВК1 и ВК2 автоматического терморегулятора холодильника.
Кроме того, тумблер «Автоматическое управление холодильником» второй парой контактов между проводами 769 и 732 разрывает цепь ручного управления вентилем BU1 привода вентилятора, таким образом вентилятор переводится на автоматическое управление от терморегулятора.
При повышении температуры воды в системе охлаждения до +75°С терморегулятор воды своим штоком включает микропереключатель ВК1- Катушка вентиля BU2 получает при этом питание по цепи клемма 315, провода 765, 757, замкнутые контакты РУ2, провод 758, клемма 2/16, провод 761, контакт / штепсельного разъема, терморегулятора, провод 840 замкнутые контакты микропереключателя ВК1, провод 837, контакт 3 разъема терморегулятора, провод 747, клемма 2114, провод 746, замкнутые контакты РУ2, провода 745, 741, клемма 2/15, провод 742, катушка вентиля ВП2, провода 737, 736, «минус» схемы.
При повышении температуры масла до +65°С терморегулятор масла своим штоком включает микропереключатель ВК2 и подает питание на катушку электропневматического вентиля ВПЗ по цепи; провод 840, замкнутые контакты микропереключателя ВК2, провод 854, контакт 2 разъема терморегулятора, провод 759, клемма клеммпика № 14, провод PPS, катушка ВПЗ, провод 736, «минус» схемы.
Если температура воды и масла, несмотря на открытие жалюзи продолжает повышаться, терморегулятор через гидромеханический сервопривод вызывает постепенное увеличение частоты вращения вентилятора до наибольшей (при ручном управлении включенный вентилятор выходит на максимальный режим и не имеет регулировки частоты вращения).
Электрические дистанционные измерительные приборы тепловоза. На тепловозе установлены электрические дистанционные приборы для измерения температуры воды и масла в системах дизеля, давления масла в масляной системе и давления воздуха в системе контакторов.,


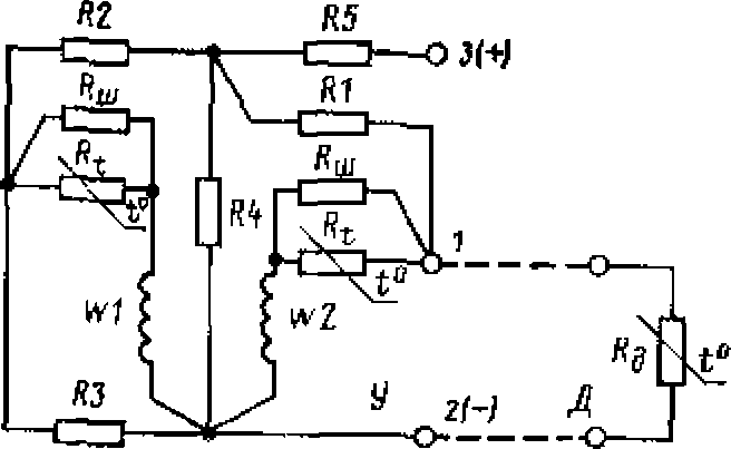
Рис. 13. Схема электротермометра ТП-2:
Р1, Я 2, Н5— резисторы магнитных катушек; Ш, Н4 — резисторы подгоночные;
~~ резисторы возбуждения; — резисторы температурной компенсации; Я$ — термосопрртнвлънне датчика;
У — указатель: Л — датчик; №2— рамочные обмотки катушек
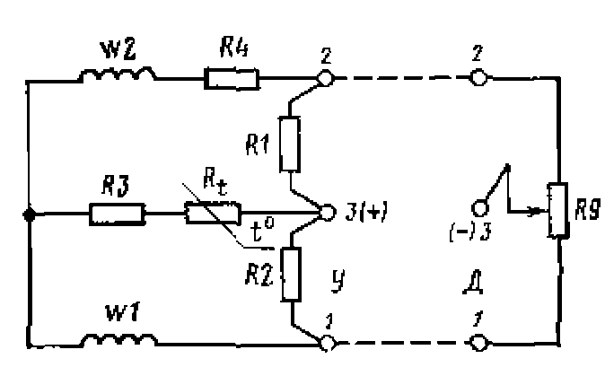
Рис, 14. Схема электроманомстра ЭДМУ-15Ш:
Ш, Я2 — резисторы плеч мостика; Ш — регулировочные резисторы; добавочный резистор; £д — потенциометр
датчика; £^ — резистор температурной компенсации; №1, Ц?3 — рамочные обмотки; У — указатель; Д — датчик
Электроизмерительные приборы подключены к аккумуляторной батареи через автомат «Приборы», установленный на высоковольтной камере- Кроме того, на каждом пульте управления имеется тумблер «Электроизмерительные приборы», подающий питание к измерительным приборам данного пульта.
Балластные резисторы на 250 и 500 Ом необходимы для «гашения» напряжения до номинальной для приборов величины 27 В.
Дистанционные измерения на тепловозе производятся с помощью логометрических приборов, состоящих из указателя и датчика, электрически соединенных между собой. Принципиальные электрические схемы приборов изображены на рис, 13 и 14.
Логометрический указатель основан на взаимодействии постоянного магнита, связанного с указательной стрелкой, и магнитного поля переменного направления. Магнит стремится установиться в направлении магнитного поля.
Магнитное поле переменного направления создают установленные под углом друг к другу катушки, обтекаемые токами и включенные б мостиковую схему. Распределение токов в катушках зависит от разбаланса мостика, пропорционального измеряемой физической величине (температуре или давлению). Разбаланс мостиковой схемы вызывается изменением величины сопротивления плеча схемы, в которое включен датчик. Сопротивление цепи датчика зависит от измеряемой температуры (терморезистор) либо давления (воздействие на ползунок потенциометра).
Достоинством логометрических приборов является независимость их показаний от колебаний питающего напряжения в определенных предел ах, что очень важно для тепловозов, где трудно обеспечить строгое постоянство напряжения.










