УЗЛЫ И ЭЛЕМЕНТЫ СИСТЕМЫ АВТОМАТИЧЕСКОГО РЕГУЛИРОВАНИЯ ВОЗБУЖДЕНИЯ
Магнитные усилители. Если по катушке со стальным сердечником проходит переменный ток, то в ней создается в основном индуктивное сопротивление. Ток, протекающий по катушке, образует в сердечнике магнитный поток. Обычно величина потока определяется по характеристике намагничивания в зависимости от другой величины—магнитодвижущей силы (м. д. с), равной произведению тока на число витков катушки, и выражающейся в амперах.
При увеличении м, д. с. поток в сердечнике возрастает вначале пропорционально, но затем рост его замедляется и практически прекращается, т. е. материал сердечника испытывает магнитное насыщение. Известно, что при насыщении материала сердечника индуктивное сопротивление катушки значительно уменьшается.
Предположим, что на замкнутый сердечник надеты две катушки. Одну из них подключим к переменному напряжению. Пусть при этом в сердечнике создается поток, недостаточный для насыщения материала. Вследствие этого индуктивное сопротивление катушки будет значительным, а сила тока, наоборот, незначительной. Подключим теперь другую катушку к источнику постоянного тока. Эту катушку, а также протекающий в ней ток и ее м. д. с. назовем подмагни-чивающими. С увеличением тока подмагничивания сердечник насыщается и индуктивное сопротивление подключенной к переменному напряжению катушки снижается. Таким образом, с помощью постоянного тока подмагничивания можно управлять величиной переменного тока в катушке. Поэтому обмотку подмагничивания называют обмоткой управления.
Описанное устройство, представляющее собой замкнутый стальной сердечник с двумя катушками (переменного тока подмагничивания), называется управляемым дросселем. Для дросселя с сердечником из высококачественного магнитного материала, когда ток управления отсутствует," индуктивное сопротивление обмотки переменного тока настолько велико, что ток в ней близок к нулю. С увеличением тока управления средняя величина переменного тока пропорционально возрастает.
Простейший магнитный усилитель МУ состоит из двух управляемых дросселей (рис. 65, а). Обмотки управления дросселей обычно соединяют последовательно или же вместо двух обмоток применяют одну обмотку ОУ, обхватывающую сердечники обоих дросселей. Обмотки переменного тока (рабочие обмотки) ОР1 и ОР2 также соединяют последовательно, в их цепь включают резистор нагрузки СН.
Как и в обычном трансформаторе, в управляющих обмотках' дросселей наводится переменное напряжение, нарушающее работу устройства. Чтобы избежать его вредного влияния, рабочие обмотки соединяют последовательно таким образом, чтобы наводимые ими э. д. с. были направлены • навстречу друг другу и поэтому уничтожались. Этим.МУ принципиально отличается от управляемого дросселя.
Рис. 65. Принципиальная электросхема магнитного усилителя: ОУ —обмотка управления; ОР1. ОР2 — рабочие обмотки; СН — резистор нагрузки; В — выпрямитель
По схеме МУ, показанной на рис. 65, б, по нагрузочному резистору протекает не переменный, а постоянный ток, поскольку он включен через выпрямительный мост В. Если включить обмотку возбуждения электрической машины в качестве нагрузки усилителя, то таким усилителем можно регулировать величину тока в ней. Даже для простейших усилителей мощность нагрузки во много раз больше мощности цепи управления. Отношение этих мощностей называется коэффициентом усиления по мощности.
Таблица 2
В системе автоматического регулирования тепловоза М62 магнитные усилители аналогичной конструкции используются для получения слабых токовых сигналов, пропорциональных току управления, т. е. «трансформации», тока в сигнал, что отражается в их формальном наименовании (трансформатор), принятом в схеме тепловоза.
Трансформатор постоянного тока ТПТ-4Б. Трансформатор тока позволяет получать токовый сигнал, пропорциональный току тягового генератора тепловоза. Он состоит из двух тороидальных сердечников сечением 48 мм2, выполненных' из железо-никелевого сплава, на каждом из которых намотана рабочая обмотка.
Рабочие обмотки соединены между собой встречно. Управляющей обмоткой являются шесть кабелей, проходящих через центральное отверстие трансформатора. Сердечники трансформаторов с обмотками и шпильками залиты компаундом на основе эпоксидной смолы. К шпилькам прикреплены угольники для установки трансформатора на тепловозе. Схема включения трансформатора изображена на рис.66.
Индуктивное сопротивление рабочих обмоток изменяется под действием подмагничивания постоянным током обмотки управления, в данном случае кабелей, по которым протекает ток тягового генератора. При увеличении тока' генератора степень насыщения сердечников увеличивается, индуктивное сопротивление рабочих обмоток уменьшается и ток 'в рабочей цепи трансформатора увеличивается. Отсюда следует, что ток в рабочей цепи трансформатора постоянного тока пропорционален току тягового генератора. Техническая характеристика трансформатора тока приведена в таблТ 2.
Рис. 69. Характеристика ампли-стата АВ-ЗА (реальная):
U — напряжение выхода; F — м. д. с. подмагничивания
Трансформатор постоянного напряжения ТПН-ЗА. Для получения токового сигнала, пропорционального постоянному напряжению тягового генератора тепловоза, установлен трансформатор постоянного напряжения. На каждом из двух тороидальных сердечников сечением 150 мм2, выполненных из железо-никелевого сплава, намотаны рабочие обмотки. Обмотки соединены между собой встречно. Управляющая обмотка намотана на оба сердечника. Схема включения трансформатора изображена на рис. 67. При повышении напряжения генератора степень насыщения сердечников возрастает, индуктивное сопротивление рабочих обмоток при этом уменьшается и ток в его рабочих обмотках увеличивается. Следовательно, ток в рабочей цепи трансформатора постоянного напряжения пропорционален напряжению тягового генератора. Техническая характеристика трансформатора напряжения приведена в табл. 2.
Амплистат АВ-ЗА. Высокий коэффициент усиления дает магнитный усилитель, рабочие обмотки которого включены последовательно с выпрямителями Д1 —Д4 (рис. 68). При этом ток в рабочих обмотках изменяется не по направлению, а только по величине,, т. е. является пульсирующим. Действительно, допустим, что в первый полупериод ток потечет по выпрямителю ДЗ, резистору нагрузки СН, выпрямителю Д2, обмотке ОР1. Во второй полупериод ток пройдет по обмотке ОР2, выпрямителю Д1, СН, Д4. Величину тока можно рассматривать как результат сложения обычного переменного тока с постоянным током неизменной величины. Постоянная составляющая тока, протекая по рабочим обмоткам, подмагничивает усилитель. Таким образом, рабочие обмотки являются одновременно и подмагничивающими, что приводит к резкому увеличению коэффициента усиления. Такой магнитный усилитель называется усилителем с внутренней обратной связью. Из характеристики усилителя (рис. 69) видно, что, когда нет тока в обмотке управления, напряжение и, следовательно, ток нагрузки достигают значительной величины (точка Б). Для усилителя без обратной связи ток нагрузки (ток выхода) в этом случае близок к нулю. При обратной связи этот малый ток создает некоторое самоподмагничивание, что приводит к возрастанию тока нагрузки.
При протекании по обмотке управления тока положительного направления (от начала обмотки к концу) ток нагрузки возрастает до максимума (точка В). Если ток в обмотке управления имеет отрицательное направление, ток нагрузки снижается до малой величины (точка
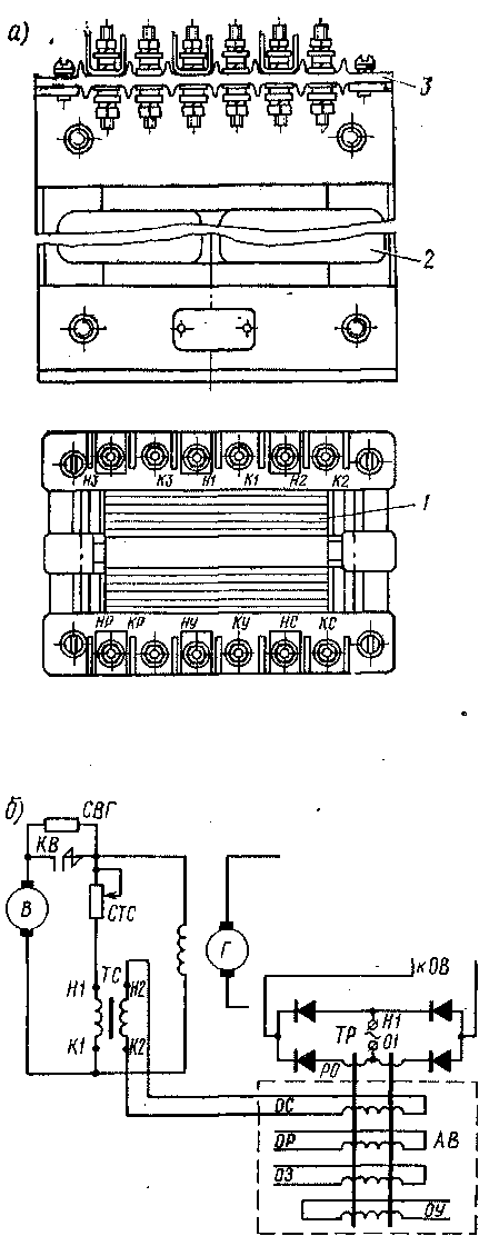
Рис. 70. Амплистат возбуждения АВ-ЗА:
а — общий вид; б — схема включения; / — магнитопровод; 2 — катушка; 3 — клеммная рейка; АВ — амплистат возбуждения; В — возбудитель тягового генератора; ТР — трансформатор распределительный; РО — обмотка рабочая; ОС — обмотка стабилизирующая; ОР — обмотка регулировочная; 03 — обмотка задания; ОУ —обмотка управления; ТС — трансформатор стабилизирующий; СВР, СТС — резисторы, ОВ — обмотка возбуждения возбудителя, КВ — контактор возбуждения
Магнитные усилители с внутренней обратной связью называют амплистатами.
В схеме тепловоза М62 амплистат типа АВ-ЗА (рис. 70) предназначен для непосредственного регулирования тока^возбуждения возбудителя. Амплистат однофазный, кроме рабочих обмоток РО, имеет две подмагничивающих обмотки 03 (обмотка задания) и ОР (обмотка регулировочная), одну размагничивающую ОУ и стабилизирующую ОС обмотки. Нагрузкой рабочих обмоток амплистата является обмотка возбуждения возбудителя.
Техническая характеристика амплистата
- Напряжение питания (эффективное), В .......... 60
- Напряжение максимального выхода не менее, В......... 30
- Ток минимального выхода не более, А........... 0,5
- Ток длительного режима, А . . . 8,5
- Частота питания, Гц...... 133
- Сопротивление нагрузки, Ом ... '6
- М. д. с. управления (максимальная) 3400
- Масса аппарата, кг ...... . 12
Выходное напряжение амплистата (ток рабочих обмоток) в каждый момент зависит от суммарной магнитодвижущей силы (м. д. с.) его сердечников, создаваемой взаимодействием магнитных потоков от каждой из обмоток с учетом их направления или знака. Основные данные обмоток амплистата приведены в табл. 3.
Селективный узел. Узел предназначен для выделения сигналов тока и напряжения тягового генератора (обратной связи)и на основе их сравнения получения тока управления амплистатом. Узел состоит из резисторов СБТТ, СБТН,
Таблица 3
СОУ и мостовых выпрямителей ПВ1, ПВ2. На упрощенной схеме селективного узла (рис. 71) мосты ПВ1 и ПВ2 заменены одиночными выпрямителями, а токи ТПТ и ТПН считаются уже выпрямленными. Как видно из схемы, резисторы СБТТ и СБТН являются нагрузочными для рабочих токов трансформаторов соответственно ТПТ и ТПН. Кроме того, часть этих токов проходит в обмотку ОУ управления амплис-тата через регулировочный резистор СОУ.
Селективность (избирательность) этого узла проявляется в изменении зависимости выходного тока управления от составляющих сигналов обратной связи на различных участках характеристики тягового генератора. Для выпрямления тока в схеме селективного узла применена панель выпрямителей типа ПВК-7080.
Блок тахометрический. Задание величины мощности генератора, в зависимости от позиций контроллера машиниста обеспечивается бесконтактным тахометрическим блоком типа БА-420, питающим задающую обмотку амплистата. Ток задающей обмотки амплистата регулируется пропорционально частоте синхронного подвозбудителя, т. е. частоте вращения вала дизеля. Детали блока (рис. 72) размещены в металлическом корпусе /. Насыщающийся трансформатор 4 выполнен на тороидальном альсиферовом сердечнике. Обмотки трансформаторов залиты компаундом на основе эпоксидной смолы. Выпрямительный мост составлен из четырех кремниевых,_диодов, закрепленных на алюминиевых радиаторах. Сглаживающий фильтр включает дроссель 2 на Ш-образном сердечнике с воздушным зазором и два конденсатора 7, включенных параллельно. Воздушный зазор дросселя может регулироваться. Конденсатор и дроссель смонтированы на изоляционной панели 3,
Рис. 71. Упрощенная схема селективного узла: ОУ — обмотка управления амплистата; СОУ, СБТТ, СБТН — резисторы; ПВ1,
Входное напряжение от синхронного подв озбудителя (рис. 73) через резистор, СБТБ подается на последовательно включенные первичные обмотки насыщающегося и компенсирующего трансформаторов ТР1 и ТР2. Частота питающего напряжения пропорциональна частоте вращения вала дизеля. В первый полупериод входное напряжение насыщает сердечник ТР1. После этого изменение индукции в нем определяется изменением намагничивающего тока в первичной обмотке ТР1. В последующий полупериод, когда входное напряжение меняет знак, сердечник трансформатора ТР1 выходит из зоны насыщения и начинает перемагничиваться. При этом скорость изменения индукции в сердечнике определяется мгновенным значением приложенного напряжения и практически не зависит от намагничивающего тока до момента насыщения сердечника. Поскольку в течение каждого полупериода питающего напряжения индукция в сердечнике меняется примерно на величину 2Ва (Ва — индукция насыщения), то можно считать, что среднее значение напряжения на вторичной обмотке ТР1 зависит только от частоты и не зависит от напряжения питания. Однако изменение индукции сердечника после его насыщения, обусловленное неидеальностью петли гистерезиса, вносит погрешность в измерение частоты. Поэтому для повышения точности измерения частоты применен компенсирующий трансформатор ТР2, у которого по первичной обмотке протекает намагничивающий ток трансформатора ТР1, а вторичная обмотка включена встречно со вторичной обмоткой ТР1 и ее э. д. с. компенсирует ту часть э. д. с. вторичной обмотки ТР1, которая обусловлена изменением намагничивающего тока при насыщении сердечника. Выходное напряжение трансформаторов Tpl и ТР2 выпрямляется диодами /, 2, 3, 4 и сглаживается фильтром (дроссель Др и емкость С). Выходной ток блока настраивается резисторами в цепи задающей обмотки амплистата.
Рнс. 72. Блок faxoмeтpнчecкнй БА-420: 1 — корпус; 2 — дроссель фильтра; 3 — панель выпрямителей; 4 — трансформатор насыщающийся; 5 — трансформатор компенсирующий; 6 — штепсельный разъем; 7 — конденсатор
Рнс. 73. Электрическая схема тахометрнческого блока и его включення:
ТР2— компенсирующий трансформатор; ТР1 — насыщающийся трансформатор; В — выпрямитель: Др — дроссель; С — емкость; Р. — резистор; СБТБ — балластный резистор; CUB — подвозбудитель
Техническая характеристика блока
- Напряжение питания переменного тока (эффективное), В.............. 31—110
- Частота, Гц...... 50—133
- Балластное сопротивление в цепи первичной обмотки трансформатора ТР1 (в блок не входит), Ом .... 25
Сопротивление нагрузки, Ом:
- максимальное ........>..... 30
- минимальное............... 11
- Максимальный ток "нагрузки, А . ,........ 1,5
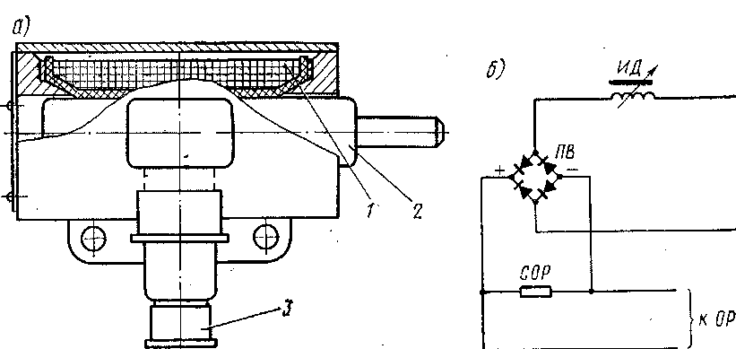
Индуктивный датчик. Сигнальную связь между сервомотором регулятора дизеля и электрической схемой регулирования возбуждения тягового генератора осуществляет индуктивный датчик ИД. При этом совершается преобразование движения якоря датчика в электрический токовый сигнал в амплистат (рис. 74).
Датчик типа ИД-10 представляет собой электромагнитную катушку/с подвижным сердечником 2. В зависимости от положения сердечника изменяются магнитная проницаемость внутрикатушечного пространства и, следовательно, индуктивное сопротивление катушки переменному току. При этом полностью выдвинутое и вдвинутое положения сердечника определяют соответственно максимум и минимум тока через катушку датчика и, следовательно, как это видно из схемы (рис. 74, б), регулировочную обмотку амплистата. Выводы катушки выполнены в виде штепсельного разъема. Катушка и магнитопровод датчика залиты компаундом на основе эпоксидной смолы.
Рис. 74. Индуктивный датчик ИД-10: а — общий вид; б — схема включения; / — катушка; 2 — сердечник; 3 — штепсельный разъем; ПВ — панель выпрямителей; ИД — катушка индуктивного датчика; СОР — резистор балластный; ТР — трансформатор распределительный; ОР — регулировочная обмотка амплистата
Индуктивный датчик конструктивно входит в регулятор дизеля и его сердечник кинематически связан со штоком сервомотора регулятора (см. рис. 74, б).
Техническая характеристика датчика
- Напряжение на катушке датчика (синусоидальное), В ............10
Сопротивление катушки, Ом:
- активное при 20° С ...... 2,6
- минимальное полное..... 5,5
- ■ максимальное полное 70
- Ход якоря, мм 65
Трансформатор стабилизирующий ТС2. Стабилизирующий трансформатор увеличивает постоянную времени системы регулирования электропередачи тепловоза и предназначен для стабилизации режима электропередачи. Трансформатор улучшает динамические характеристики схемы и работает в переходных режимах. Магнитопровод трансформатора нашихтован из П-образных пластин (сердечник) и полос (ярмо) электротехнической стали толщиной 0,5 мм. Активное сечение стали 45 см2. Конструкция трансформатора обеспечивает возможность регулировки воздушного зазора между ярмом и сердечником с помощью немагнитных прокладок. На магнитопроводе расположена обмотка, выводы которой размещены на пластмассовых панелях. Технические данные трансформатора приведены в табл. 4.
Таблица 4
Трансформатор распределительный ТРЗА. Распределительный трансформатор служит для питания рабочих обмоток трансформаторов постоянного тока и напряжения, а также амплистата возбуждения. Это трансформатор броневого типа, работающий в цепи переменного тока с частотой 133 Гц. Трансформатор состоит из магнитопровода, нашихтованного из листов электротехнической стали толщиной 0,2 мм с активным сечением 27 см2.
Таблица 5
Бескаркасная катушка залита компаундом на основе эпоксидной смолы. Катушка имеет четыре обмотки: одну первичную и три вторичных, одна из которых автотрансформаторная. Магнитопровод стянут стальными шпильками и угольниками. Выводы катушек расположены на двух пластмассовых панелях. Технические данные трансформатора приведены в табл. 5.










