§ 1. Электрическая цепь
Для узловых электромонтажных соединений в электрической схеме тепловозов М62 используют клеммные рейки, клем-мпые коробки и штепсельные разъемы (рис. 1, см. вклейку), которые имеют номерные или буквенные обозначения. Клеммы сборных реек обозначают дробью, числитель которой указывает номер рейки, а знаменатель — порядковый номер клеммы при отсчете слева направо или сверху вниз, например, 1/2 — обозначает вторую (сверху) клемму рейки № 1 в лысо ко вол ьт-ной камере. Клеммы сборных коробок Д1 и Д2 обозначают сочетанием номера и буквы коробки с порядковым номером клемм при отсчете сверху вниз. Бес клеммы каждой из коробок с малым количеством клемм, обозначают только номером коробки. Электрические аппараты в основном расположены в высоковольтной камере (рис, 2, см, вклейку) и в пультах управления.
Для пуска дизеля необходимо:
1) включить рубильник аккумуляторной батареи;
2) включить замковый ключ КЗ;
3) поставить контроллер в нулевое положение;
4) проверить температуру воды и масла, для чего включить автоматы «Приборы» в высоковольтной камере. Пуск дизеля разрешается стрл температуре масла не ниже -+-15°С;
5) включить автомат «Управление» на пульте в кабине;
6) дать предупредительный сигнал о пуске дизеля;
7) включить автоматы «Топливный насос» в высоковольтной камере и на пульте управления (при этом начинает работать топливный насос ТН) и проверить по манометру, расположенному в дизельном помещении, давление топлива после фильтра тонкой очистки, которое должно быть 1,5—2,5 кгс/см2;
8) нажать кнопку «Пуск дизеля».
При нажатии кнопки «Пуск дизеля» включается на 50 -60 с маслопрокачивающий насос МИ (см. рис, 22, вклейка), который прокачивает масло в системе дизеля.
Кнопку «Пуск дизеля» разрешается держать включенной не более 30 с с момента включения пусковых контакторов, определяемого на слух.
При включении замкового ключа К31 (например, при rjv ке дизеля из кабины А) и включении автоматов 46 «Топлив ный насос» на пульте и в высоковольтной камере обеспечив а ется питание катушки реле управления РУЗ по цепи: плюсовые клеммы 2/8—10, провод 348, катушка реле РУЗ, провод 350, размыкающий контакт реле управления РУ7, провод 349 клемма 3/8, провод 352, клемма 22(14, провод 343, размыкающий контакт (6, 8), замковый ключ КЗII второй кабины, провод 342, клемма 22/20, провод 340, клемма 12/12, провод 339 автомат 46 «Топливный насос» первой кабины, провод 33$, минусовые клеммы 14/1—5.
Получив питание, реле РУЗ включается и своим замыкающим контактом между проводами 227 и 228 подает питание на электродвигатель топливоподкачивающего насоса по цепи: плюсовая клемма 2/8—10, провод 249, автомат 46 «Топливный насос» в высоковольтной камере, провод 227, замыкающий контакт реле РУЗ, провод 228, клемма 8/1, провод 229якорь и обмотки электродвигателя топливного насоса THt провод 230, минусовая клемма № 13 (подкузовного освещения).
Тсшливоподкачивающий насос начинает работать и создает давление 1,5—2,5 кгс/смй в топливном коллекторе.
При включении автомата «Управление» и кнопки «Пуск дизелях получает питание реле времени РВ1 по цепи-, плюсовая клемма 12/9—10, провод 315, автомат 45 «Управление», провод 304, размыкающие контакты К31 (1, 3), провод 305, клемма 12/1, провод 1046, плюсовая перемычка контроллера машиниста, замкнутые на 0-й позиции пальцы контроллера машиниста, провода 316, 354, замкнутые контакты кнопки «Пуск дизеля!», провод 317, клемма 13/1, провод 318, клемма 6/2, провод 250, реле времени РВ1, провода 149, 150, 300 и на общий минус.
Реле времени РВ1 включается, и при этом замыкается его мгновенный (без выдержки времени] контакт между проводами 332 и 359, и получает питание катушка маслопрокачиваю-щего пас ос а КМ И по следующей цепи: провод 1047, клеммы 411—2, провода 1048, 224, 332, контакты реле РВ1, провод 359, размыкающий с выдержкой времени контакт реле РВ1, провод 360, размыкающий контакт реле РУ5, провод 333, катушка контактора КМ И, провода 148, 247, 296, общий минус.
Контактор КМ И маслопрокачивающего насоса МП включается и замыкает свои двойные силовые контакты, создавая следующую цепь питания электродвигателя маслопрокачивающего насоса МИ: плюс аккумуляторной батареи, провод 405, плюсовой нож рубильника В Б, провод 385, предохранитель 107 на 125 А, провод 388X3, силовые контакты КМ И, провод 389X3, клемма 8/11, провод 390Х$> якорь и обмотки возбуждения электродвигателя маслопрокачивающего насоса МИ, провод 403X3, клеммы 8/14—16, провод 397Х$> клеммы 1/13—20, провод 404, минусовый нож рубильника аккумуля-
торной батареи ВБ, провод 408, минус аккумуляторной батареи. После этого начинается прокачка масла в системе дизеля.
Через 55—60 с (выдержка реле времени РВ1), необходимые для прокачки, размыкаются контакты реле РВ1 между проводами 359 и 360 в цепи питания контактора КМН и замыкаются контакты РВ1 между проводами 345 и 36Л в цепи питания катушки реле управления РУ5. Бри этом обесточивается катушка контактора КМН и останавливается масло-гсрокачиваюпщй и а сое МН, прекращая прокачку масла в системе дизеля, а также получает питание катушка реле РУ5. Цепь питания катушки реле следующая: провод 345, контакты РВ1, провод 361, клемма 5/15, провод 570, клемма 1Д18. провод 362, контакты реле давления масла РДМЗ, провод 363, клемма 1Д19, .провод 574, клемма 1/11, провод 386, катушка РУ5, провода 300, 766 и т. д. к общему минусу.
Реле РДМЗ замыкает свои контакты при давления масла в системе не ниже 0,25 кгс/см2.
При включении реле РУ5 еш замыкающий контакт между проводами 224, 320 создает цепь: размыкающий контакт реле РУН, тфовод 325, размыкающие блок-контакты контактора КМН, провод 326, размыкающие блок-контакты контактора ВВ, провод 323, клемма 1Д9, провод 321, блокировка 105 в а-л о по воротного механизма, провод 322, .клемма 1Д10, провод 327, клемма 8J13, провода 328 и 330, катушки пусковых контакторов Д1, Д2, провода 331, 972, 409, минусовой нож рубильника В Б, провод 408, минус аккумуляторной батареи. Этим обеспечивается включение контакторов Д1 и Д2.
После включения контактора Д2 замыкается его блок-контакт между проводами 344, 329 и создает независимую от контактов реле РУН цепь питания катушек Д2 и Д/.
Пусковые контакторы Д1 и Д2 своими силовыми контактами подключают тяговый генератор к батарее. Образуется следующая цепь тока: плюс батареи, провод 405, нож В В, провод 387, замкнутые силовые контакты Д2, провод 505, провод 502, обмотка Я—Я Я якоря тягового генератора Г, обмотка дополнительных полюсов ДП, пусковая обмотка П, провод 438, замкнутые силовые контакты Д1, провод 409, нож В Б, провод 408, минус батареи. При этом генератор, работая в режиме электродвигателя последовательного возбуждения, начинает вращать вал дизеля.
При включении пусковых контакторов Д1 и Д2 замыкаются их блок-контакты между проводами 231, 232 и 233 и подают питание на катушку электролневматического вентиля ускорителя пуска В177: клемма 4/1—2, провод 1048, замкнутые контакты РУЗ, провода 1049, 231, замкнутый блок-кон такт Д1, провод 232, замкнутый блок-контакт Д2, провод 233, клемма 2/11, провод 234, клемма 1Д5, провод 235, катушка ВП7, провод 240, клемма 1Д6, провод 256, общий минус.
Вентиль ВП7 пропускает сжатый воздух под силовой поршень сервопривода регулятора, благодаря чему рейки топливных насосов выдвигаются быстрее.
Кроме того, подается питание на катушку тягового электромагнита (блок-магнита) ЭТ по цепи; провода 237, 239, клемма 6/3, провод 347, клемма ІДИ, провод 248, катушка блок-магнита ЭТ, провод 246, клемма 1Д6, .провод 256, общий минус. Блок-маптит перекрывает слив масла из-под силового поршня сервопривода регулятора, масло создает давление под поршнем и начинается подача топлива в цилиндры дизеля.
По окончании пуска дизеля (когда давление в масляной системе достигает 1,6 кгс/см2) замыкаются контакты реле давления масла РДМ1 и обеспечивают питание катушки промежуточного реле РУН по цепи: клеммы 4/1—2, провод 241, клемма 1Д14, провод 242, контакты реле РДМ1, провод 243, клемма 1Д13, провод 254, клемма 2/13, провод 255, катушка РУН, провода 247, 296, общий минус.
Включившись реле РУН создает независимую от Д1 цепь питания блок-мапшта: контакты РУН, провод 239, клемма 6/3, провод 347, клемма ІДИ, провод 248, катушка ЭТ, общий минус.
После отпускания кнопки «Пуск дизеля» катушки пусковых контакторов Д1, Д2 и катушка ускорителя запуска ВП7 обесточиваются, тяговый генератор отключается от аккумуляторной батареи и начинается работа дизеля на холостом ходу.
Назначение блок-контактов в цепи пуска следующее: блок-контакты контактора В В между проводами 326 и 323 предназначены для контроля отключенного состояния системы возбуждения при пуске дизеля. Контакты реле РУН между проводами 320 и 325 исключают повторение цикла пуска при работающем дизеле и случайном нажатии кнопки «Пуск дизеля».
Блок-контакты контактора КМН между проводами 325т 326 необходимы для того, чтобы дизель можно было запустить только при отключении контактора КМН, т. е. после прекращения прокачки масла.
Блокировка 105 между проводами 321, 322 валоповоротного механизма предохраняет последний от поломки при пуске дизеля; если устройство находится в зацеплении с валом, эта блокировка разомкнута и дизель запустить нельзя.
Для прово рот а коленчатого вала после остановки дизеля необходимо выключить автомат «Топливный насос» и нажать кнопку «Пуск дизеля».
Для того, чтобы прокачать систему дизеля маслом, не запуская дизель, необходимо включить тумблер «Прокачка масла» (контакты между проводами 980, 981). При этом катушка контактора КМН получит питание через размыкающие контакты РУЗ и РУ5.

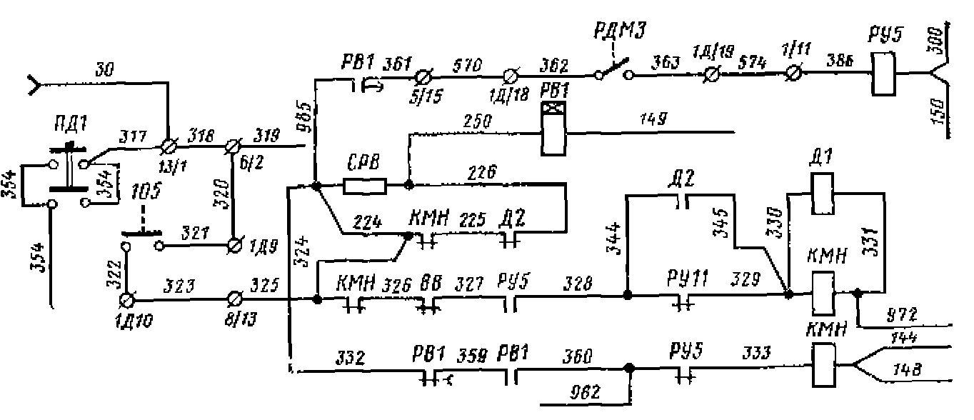
Рис. 3. Схема управления пуском дизеля с элсктрошгевматичсскнм реле времени
На тепловозах первого выпуска в цепи пуска дизеля (рис. 3) применено электропневматическое реле времени РВ1 (типа РВП-2). При нажатии пусковой кнопки ток в катушку реле РВ1 в первый момент поступает по проводам 324, 225, 226 и 250 через размыкающие блок-контакты контакторов КМ И и Д2. После включения контактора КМ И маслопро'Качивающего насоса и размыкания его блок-контактов между проводами 324 и 225 питание катушки реле РВ1 осуществляется через балластный резистор СРВ током, достаточным для удержания реле во включенном положении. После прекращения прокачки масла контакты КМН между проводами 224 и 225 замыкаются, но размыкаются блок-контакты пускового контактора Д2 между проводами 225 и 226 и питание катушки РВ1 продолжает подаваться через сопротивление СРВ. Это обеспечивает длительную работу реле с током допустимой величины.
В целом работа схемы при пуске аналогична рассмотренной выше с полупроводниковым реле.










