2. Общая сборка дизеля
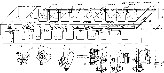
Установка блока дизеля на поворотный стенд. Общая сборка нового дизеля, а также его сборка при заводском ремонте производятся на новоротном стенде (рис. 124), обеспечивающем удобство укладки нижнего коленчатого вала и установки деталей, расположенных в нижней части блока. Поворот-
дизеля" width="231" height="320">сторон поворотного стенда устанавливают подмостки.
Если нижний коленчатый вал не вынимался или дизель не снимался с тепловоза, то сборка частично разобранного дизеля производится на жестком (неиоворотном) стенде или непосредственно на тепловозе.
Установка валов вертикальной передачи. Перед установкой новых валов вертикальной передачи на них наносят соответствующие клейма (номер дизеля и буквы В и Н).
На опорную поверхность блока помещают регулировочные прокладки, а на них устанавливают верхний вал передачи. На шпильки крепления корпуса навертывают гайки и равномерно затягивают их ключом.
Таким же образом укладывают регулировочные прокладки для нижнего вала, затем через окно в отсеке вертикальной передачи устанавливают нижний вал и закрепляют его.
После этого от руки проверяют легкость вращения обоих валов.
Укладка коленчатых валов. Укладку коленчатых валов начинают после подбора комплектов верхних и нижних коренных вкладышей, как указано выше. Если сборка дизеля производится не на тепловозе, а на поворотном стенде, то коленчатые валы следует укладывать сверху блока, что значительно облегчает монтажные работы.
Поскольку в процессе работы дизеля изнашиваются вкладыши, расположенные в крышках коренных подшипников (рабо ный стенд имеет съемные полукольца, которые дают возможность повернуть его под любым углом при помощи ручного или электрического привода. Перед установкой блока нижнее полукольцо стенда необходимо застопорить штырями, а верхнее — открепить и снять. Блок на поворотный стенд устанавливают на опорах нижнего полукольца стенда, в рабочем положении.
Установку блока в горизонтальной ПЛОСКОСТИ II рО;
веряют по уровню по гнездам под коренные подшипники верхнего коленчатого вала. При необходимости под опорные планки стенда помещают прокладки. Затем блок закрепляют и с обеихчиє вкладыши), то правильность укладки коленчатых валов можно контролировать только тогда, когда они лежат на рабочих вкладышах, т.. е. у нижнего вала, когда блок находится в рабочем положении, а у верхнего — когда он повернут на 180°.
Порядок укладки коленчатых валов следующий.
1. Уложить вкладыши в постели блока, предварительно проверив чистоту вкладышей и постелей и убедившись в том, что нет забоин рисок и других дефектов на их поверхностях.
2. Смазать коренные шейки коленчатого вала и внутренние поверхности вкладышей дизельным маслом. Уложить коленчатый вал на вкладыши в блоке дизеля.
Чтобы не повредить упорный вкладыш (на 11-й опоре), необходимо устанавливать его на свое место только после укладки вала на все остальные опорные вкладыши (а вынимать перед снятием вала).
3. Поместить на коренные шейки коленчатого вала рабочие вкладыши. Установить на вкладыши соответствующие крышки подшипников и закрепить нх, завертывая гайки до совмещения установочных меток.
4. Проконтролировать укладку коленчатых валов:
а) проверить прилегание коренных шеек вала к рабочим вкладышам, т. е. к вкладышам, расположенным в крышках подшипников. Проверку производить снизу щупом 0,03 мм, каждый раз после поворота коленчатого вала на 90°; этот же щуп не должен заходить между стыками вкладышей и между вкладышами и постелью блока;
б) проверить щупом зазор («на масло») в каждой опоре между коренными шейками коленчатого вала и вкладышами, расположенными в постелях блока. Зазор должен быть в пределах 0,15 — 0,25 мм. для новых деталей. Разница в зазорах у одного подшипника с обеих сторон вкладыша допускается до 0,04 мм.
Для коренных подшипников 8-, 9-, и 10-й опор нижнего коленчатого вала при подсоединенном генераторе между рабочими вкладышами и шейками вала должен быть зазор, его величина указана в паспорте дизеля;
в) проверить щупом зазоры в «усах» между коренными шейками вала и рабочими вкладышами на расстоянии 12 мм от плоскости разъема вкладышей. Зазоры должны быть в пределах 0,12—0,25 мм для новых деталей. Разница в зазорах с каждой стороны у одного подшипника не должна превышать 0,10 мм. При необходимости допускается подшабровка баббитовой поверхности вкладышей на глубину не более 0,02 мм на участках, расположенных на расстоянии до 50 мм от плоскости разъема вкладыша.
Па 11-й опоре (упорный подшипник) невозможно произвести необходимые измерения при помощи щупов, так как буртывкладышем не позволяют завести щуп. Вкладыши у этой опоры подбирают по макетным вкладышам, изготовленным без баббитовой заливки, толщиной 18,85_и,щ мм; сделаны они без буртов в местах обмеров. По обмерам фактических величин зазоров между шейкой коленчатого вала и макетным вкладышем надо подобрать вкладыш 11-й опоры с таким расчетом, чтобы обеспечить требования по укладке коленчатого вала;
г) проверить вращение коленчатого вала в подшипниках. Вал должен легко проворачиваться рычагом 300 мм усилием одного человека при незаценленных шестернях вертикальной передачи;
д) проверить осевой разбег коленчатого вала; он должен быть 0,12 — 0,25 мм для новых деталей. При этом надо проверить щупом 0,04 мм, чтобы при перемещении вала до упора в любую сторону не было зазора между торцами вкладышей и упорным буртом коленчатого вала;
е) проверить, чтобы между щеками коленчатого вала и торцами опорных вкладышей (с каждой стороны) был зазор не менее 4 мм.
5. Снять крышки коренных подшипников и вынуть коленчатые валы и вкладыши. Поставить на вкладышах соответствующие клейма.
6. Очистить постели в блоке и все вкладыши и крышки. Уложить вкладыши в постель блока и в крышки, придерживаясь маркировки. Очистить коленчатый вал, смазать его коренные шейки маслом и уложить вал на вкладыши. Установить крышки коренных подшипников в сборе с вкладышами па блок.
7. Закрепить крышки коренных подшипников гайками, предварительно смазав резьбу в гайках, болтах и шпильках касторовым маслом. Правила затяжки гаек приведены ниже. После затяжки надо проверить, легко ли вращается коленчатый вал в подшипниках, и после этого зашплинтовать гайки. Перед шплинтовкой гаек отрегулировать нормальное зацепление шестерен вертикальной передачи установкой прокладок под торец шестерни на коленчатом валу.
8. Проверить величину биения хвостовика ступицы антивибратора па нижнем коленчатом валу; биение допускается не более 0,08 мм.
9. Надеть на нижний коленчатый вал верхнюю и нижнюю части корпуса уплотнения и скрепить их между собой. Закрепить корпус уплотнения нижнего коленчатого вала на фланце блока. Проверить зазор между корпусом уплотнения и валом; он должен быть в пределах 0,5—0,08 мм в любом месте по окружности. Регулировку величины зазора следует производить перемещением корпуса уплотнения при ослабленных болтах. После закрепления корпуса уплотнения надо просверлить два отверстия в верхней его части и в блоке иод контрольные штифты. Развернуть эти отверстия и установить штифты. Сверление
дизеля" width="441" height="103">Рік-. 12"). Порядок к.'їсіімі-шія г.'іск, шпилек или оолтон крепления коренныхподшпшшкон
и развертывание отверстий под штифты производят при постановке нового корпуса уплотнения или нового блока дизеля.
При шплинтовке гаек коренных подшипников необходимо устанавливать шплинт в отверстие таким образом, чтобы длинный конец был направлен к гайке. Головка шплинта должна до отказа заходить в прорезь гайки. Вначале должен быть загнут на гайку длинный конец шплинта, а затем короткий конец — на шпильку или болт. Угол развода каждого конца шплинта должен быть в пределах 40—55°, а общий угол соответственно 80—110°. Качка шплинта не допускается.
При переукладке верхнего коленчатого вала непосредственно на тепловозе необходимо соблюдать следующие требования.
Если коленчатый вал не меняется, а меняются коренные вкладыши, их надо подобрать по толщине заменяемых вкладышей. Для того чтобы шейки вала прилегали в процессе работы дизеля к рабочим вкладышам, необходимо подобрать новые вкладыши по толщине в средней части в строгом соответствии с первоначальной толщиной заменяемых вкладышей. Толщину заменяемых вкладышей определяют по записям в паспорте дизеля и по клеймам на самих вкладышах. Кроме того, толщина каждого нового вкладыша на расстоянии 12 мм от плоскости разъема должна быть на 0,06 — 0,09 мм меньше толщины его средней части.
При необходимости допускается шабровка вкладышей по баббиту. При этом на 1 см1 поверхности должно быть не менее двух пятен прилегания по краске. После шабровки баббитовую поверхность необходимо загладить гладилкой.
Если коленчатый вал заменяется, то надо проверить его укладку по боковым зазорам (в «усах») на расстоянии 12 мм от плоскости разъема и по диаметральным зазорам («на масло») относительно рабочих вкладышей.
После укладки вала следует отрегулировать зазоры между зубьями шестерен вертикальной передачи, установить опережение нижнего коленчатого вала и соединить муфтой верхний и нижний валы вертикальной передачи, как указано в главе VI.
дизеля" width="108" height="177">Затяжка іаек коренных подшипников. Наверхних торцах болтов и шпилек и на гранях гаек крепления крышек коренных подшипников должны быть следующие метки:
порядковые номера (цифры от 1 до 24), как показано на рис. 125, и метки керном, определяющие положение гаек на болтах или шпильках (рис. 126). Эти метки должны совпадать после окончательного закрепления крышек подшипников.
Сначала завертывают все гайки до упора. За упор принимают резкое изменение усилия одного человека при затяжке ключом с рукояткой длиной 300 мм. Завертывание гаек до упора начинают от средних подшипников (6-го и 7-го), затем постепенно переходят к крайним подшипникам с обеих сторон, как показано <на рис. 127. Перед затяжкой гаек коренных подшипников верхнего коленчатого вала необходимо проверить, чтобы нижние гайки были навернуты на шпильки до совпадения меток и зашплинтованы.
Для затяжки гаек, прикрепляющих крышки коренных подшипников, применяют набор ключей (рис. 128). Ключ / является общим для гаек верхних и нижних коренных подшипников. Он служит только для предварительного завертывания гаек.
Окончательная затяжка гаек верхних коренных подшипников производится ключом 2, имеющим головку с 12-гранным зевом для удобства его установки при любом положении гайки. Рукоятка ключа 2 имеет крутой изгиб, что позволяет затягивать гайки с площадки, расположенной возле верхних коренных подшипников. При затяжке гаек на рукоятку ключа 2 надевают съемную трубку 3. Для удержания шпилек от проворота необходимо вставлять в их нижние отверстия ломик 4.
Затяжку гаек нижних коренных подшипников делают другим плоским ключом с рукояткой 5. Его головка также имеет 12-гранный зев. Форма ключа позволяет переставлять его на гайке через окно в блоке.
дизеля" width="435" height="98">Рис. 127. Схема затяжки гаек коренных подшипников
дизеля" width="405" height="190">Рис. 128. Ключи для затяжки и отвертывания гаек верхних (а) и нижних (б) коренных подшипников:
/ — маленький ключ; 2 — ключ дли силовой затяжки; 3 - трубка; 4 — ломик (штифт);
5 — рукоятка
Окончательную затяжку гаек ведут в три-четыре приема, поочередно двух гаек каждого подшипника до совпадения меток, показанных на рис. 126. Затяжку производят усилием одно-го-двух человек ключом с рукояткой длиной 1 —1,2 м. Последовательность затяжки гаек такая же, как при установке гаек до упора, т. е. от средних подшипников к крайним (см. рис. 127).
Если какая-либо гайка будет завернута дальше, чем на половину грани от метки, необходимо отвернуть обе гайки подшипни-ка,-установить их до упора и вновь затянуть до совпадения меток.
Если заменялись болт или шпилька с гайкой или подчищались торцы гаек и крышек подшипников (при задирах), необходимо снять ранее нанесенные метки керном и произвести новую затяжку, придерживаясь следующего порядка:
1) завернуть гайки до упора ключом с рукояткой длиной 300 мм;
2) проверить, нет ли зазора между крышкой и постелью подшипника (в их стыке); щуп 0,03 мм не должен заходить;
3) отпустить гайки и затем вновь завернуть их до упора ключом с рукояткой длиной 300 мм;
4) проверить, нет ли зазора между торнами верхних гаек и крышками верхних коренных подшипников и между торцами головок болтов и крышками нижних коренных подшипников; щуп 0,03 мм не должен заходить между ними;
5) проверить прилегание по краске торцов гаек к опорным поверхностям (для нижних гаек верхних опор и гаек нижних опор);
6) снова завернуть гайки до упора ключом с рукояткой длиной 300 мм;
7) нанести карандашом совпадающие метки; для нижних опор — на гайках и болтах, а для верхних опор — на верхних гайках и шпильках. При этом на нижних гайках и шпильках верхних опор должны быть предварительно нанесены совпадающие метки керном;
8) затянуть гайки в 3--4 приема на 1,75 + 74 грани от упора, производя затяжку поочередно для обеих шпилек или болтов одного подшипника ключом с рукояткой длиной 1 —1,2 мм, усилием одного или двух человек. Перед завертыванием гаек верхних подшипников обязательно заложить в отверстие на нижнем конпс шпильки ломик, удерживающий шпильку от проворачивания при затяжке верхних гаек;
9) отпустить гайки, снять карандашные метки и вновь произвести их затяжку, повторив операции, указанные выше впп. 6, 7 и 8.
Все затянутые гайки зашплинтовывают. При этом для совпадения отверстий под шплинты гайки надо поворачивать в сторону их затяжки, а не отпускать. После этого па новых болтах^ шпильках и их гайках надо нанести клейма, одинаковые с имевшимися на замененных деталях.
Каждую новую затяжку гаек коренных подшипников (без замены деталей) отметить в паспорте дизеля. Если новая метка (керном) отличается от ранее установленной на заводе-изготовителе больше чем на один оборот гайки, необходимо заменить болт или шпильку вместе с гайками.
. Нижние гайки шпилек верхних коренных подшипников в процессе эксплуатации рекомендуется не отвертывать.
Установка поршней в сборе с шатунами. Перед установкой поршней с шатунами необходимо проверить их клеймение и разновес комплекта. Если разновес не превышает 500 г (отдельно для комплекта верхних и отдельно для комплекта нижних шатунов с поршнями) и клейма правильные, приступают к осмотру всех деталей шатунно-поршневой группы и шатунных шеек коленчатых валов. Эти детали не должны иметь забоин, задиров и других повреждений. Затем по клеймам устанавливают вкладыши в шатун и в крышку шатуна.
На шатун помещают подъемное приспособление и осторожно опускают шатун вместе с поршнем в соответствующую гильзу цилиндра. После этого надевают шатун и его крышку (с вкладышами) на шейку коленчатого вала и скрепляют их, затянув гайки по меткам. Таким же образом устанавливают остальные поршни.
Перед установкой верхних шатунов в сборе с поршнями необходимо снять верхний коленчатый вал.
Если сборка дизеля производится не на поворотном стенде, а на тепловозе, установку верхних поршней без съемки верхнего коленчатого вала производят в таком порядке,
На поршне укрепляют скобу 2, как показано на рис. 68. Через цилиндр пропускают трос 3, выводят его через люк в блоке и закрепляют на скобе 2. Проворачивая нижний коленчатый вал, устанавливают соответствующий его кривошип под углом 30° к горизонтали. Помещают полозья / между щеками кривошипа нижнего коленчатого вала. Устанавливают на поршне хомут 7 для заводки поршневых колец и передвигают поршень в гильзу цилиндра и поднимают его тросом 3 так, чтобы три верхние канавки для маслосбрасывающих колец вышли из верхней части гильзы.
В продувочное окно вставляют опорный стержень 4, опускают на него поршень и снимают скобу 2. Затем поворачивают соответствующий кривошип верхнего коленчатого вала в горизонтальное положение. Заводят в поршень вставку в сборе с шатуном и поршневым пальцем и затягивают гайки, укрепляющие вставку. При этом сливной патрубок и клеймо на головке поршня должны быть расположены на стороне, противоположной генератору.
Па шатуне укрепляют трос, вынимают опорный стержень 4 и, удерживая тросом шатун, опускают поршень в гильзу цилиндра.
Проворачивая нижний коленчатый вал. располагают соответствующий кривошип верхнего коленчатого вала во внешнюю мертвую точку (ориентировочно). Затем, уложив шатунный вкладыш, поднимают шатун до упора в шатунную шейку коленчатого вала. Помещают крышку с вкладышем на шатун, вставляют шатунные болты и затягивают их гайками.
Нижний поршень устанавливают через окна в блоке. Для этого на блоке закрепляют две лебедки 6 (см. рис. 67). Проворачивают соответствующий кривошип под углом 30° к горизонтали.
Шатунную шейку вала закрывают кожаным или брезентовым предохранительным кожухом 3.
Между щеками кривошипа помещают полозья 8.
Через люк в блоке устанавливают на полозья шатун в сборе с поршнем так, чтобы сливной патрубок располагался со стороны генератора.
После этого на поршне устанавливают хомут 5 для заводки поршневых колец и передвигают поршень по полозьям под цилиндр.
В отверстия головки шатуна вставляют крюки 2 и присоединяют к ним тросы 7 от лебедок 6. Натягивая тросы 7, заводят поршень в цилиндр и снимают кожух 3 с шейки коленчатого ■;ала.
Поворачивают нижний коленчатый вал в такое положение, при котором шатун можно опуститьна соответствующую шейку, и уложив вкладыш,опускают шатунна шейку вала. После этого снимают тросы 7, крюки2и хомут5 для заводки поршневых колец.
На шатун ставят крышку с вкладышем, вставляют шатунные болты и затягивают их гайками.
После этого регулируют длину каждого поршня в сборе с шатуном, подбирая пакет прокладок между поршневой вставкой и поршнем, как указано в главе VI.
Между щеками коленчатого вала и торцами шатунных вкладышей с каждой стороны проверяют зазор. Он должен быть не менее 2,5 мм.
Кроме указанных проверок, надо измерить величину высту-пания канавки в поршне под крайнее маслосгонное кольцо относительно торца цилиндровой гильзы; выступанис допускается не более 1,5 мм.
Проделав указанные операции, отвертывают гайки шатунных болтов, снимают крышки шатунов с вкладышами и вынимают шатуны с поршнями.
При помощи приспособления (см. рис. 72) заводят на поршень три маслосгонных и четыре компрессионных кольца и проверяют, свободно ли они перемещаются в канавках поршня. Зазоры между кольцами и канавками поршня должны быть в пределах, указанных в табл. 5.
Перед установкой поршней в гильзу цилиндра все поршневые кольца обильно смазывают дизельным маслом и располагают их в канавках таким образо.м, чтобы замки двух смежных колец были смещены относительно друг друга на 180°.
Убедившись, что сливной патрубок нижнего поршня направлен в сторону генератора, а сливной патрубок верхнего поршня — в противоположную сторону, заводят поршни в гильзу. Устанавливают шатун и его крышку с вкладышами на шейку коленчатого вала и затягивают шатунные болты до совпадения меток. Гайки шплинтуют.
Последней операцией при установке поршней является проверка линейной величины камеры сжатия в каждом цилиндре. Измерение этой величины производят свинцовой палочкой диаметром 6 мм, которую помещают между верхним и нижним поршнями, вдоль оси коленчатого вала. Линейная величина камеры сжатия должна быть в пределах 4,4 — 4,8 мм.
При необходимости величину камеры сжатия регулируют прокладками, которые помещают между верхним поршнем него вставкой; подрегулировку в пределах 0,2 мм разрешается производить за счет прокладок нижних поршней.
Определение линейной величины камеры сжатия производят после установки опережения нижнего коленчатого вала. Как это сделать, описано в главе VI.
Затяжка гаек шатунных подшипников. Шатуны, крышки шатунов, шатунные болты и их гайки комплектуются для каждого дизеля отдельно и поэтому имеют свои клейма и метки.
дизеля" width="109" height="142">Затяжку гаек шатунных болтов нужно производить в таком порядке. Сначала завернуть гайки шатунных болтов до упора. При этом стыковые поверхности крышки шатуна должны плотно прилегать. После этого гайки завернуть окончательно за 6 — 8 приемов по У4 грани за прием (всего на 1,5 — 2 грани) до совпадения меток (рисок) на гранях гаек и на шатуне, как показано на рис. 129.
Если какая-либо гайка будет слишком сильно затянута --больше чем наполовину грани от совпадающей метки, — необходимо полностью отвернуть обе гайки, установить их до упора и вновь затянуть до совпадения меток. Если при переборке шатунов зачищали торцы гаек, торцы шатуна или крышки или заменяли шатунные болты и их гайки (заменяться они должны только комплектно), необходимо снять ранее нанесенные совпадающие риски с деталей и затяжку производить следующим образом. Завернуть гайки до упора, проверить, нет ли зазора в стыке крышки с шатуном (щуп 0,03 мм не должен заходить). Проверить по краске прилегание болтов и гаек к опорным поверхностям шатуна и его крышки, для чего отвернуть гайки, ранее установленные до упора. Касание по краске должно быть по всей опорной поверхности. Допускаются разрывы по длине пояска не более Змм и не более двух разрывов для одного болта и гайки. После этого вновь завернуть до упора гайки. Нанести карандашом совпадающие метки на гранях гаек и боковой поверхности шатуна. Завернуть равномерно гайки на 1,5 — 2 грани (90 — 120°) в 6 — 8 приемов, производя затяжку поочередно обеих гаек по 'Д грани за прием. Ключ для затяжки должен иметь рукоятку длиной 1 м. Нанести совпадающие метки (риски) на гранях гаек и боковых поверхностях шатуна, как показано на рис. 129.
Если производилась замена шатунного болта с гайкой (заменяться они должны только комплектно), то после затяжки необходимо разобрать шатун и на болтах и гайках нанести такие же клейма, какие были на замененных деталях.
После затяжки гаек их зашилинтовывают. При несовпадении отверстия под шплинт гайку довертывают, но не отпускают. Необходимо обратить внимание на то, чтобы шплинты сидели в прорезях гаек и в отверстиях шатунных болтов плотно, без качки.
О каждой новой затяжке гаек шатунных болтов (без замены деталей) следует сделать отметку в паспорте дизеля. Если новая риска отличается от ранее установленной на заводе-изготовителе больше чем на один оборот гайки, необходимо заменить болт комплектно с гайкой.
Установка кулачковых валов. Прежде чем приступить к монтажу кулачковых валов, проверяют чистоту их внутренних каналов.
Кулачковый вал (правый или левый) заводят в гнезда блока, предварительно надев нажимное кольцо на нерабочую шейку в конце вала. Затем нажимным кольцом скрепляют половин ки первого подшипника. Аналогично скрепляют половинки упорного подшипника (11-й опоры). Смазав 1-ю и 11-ю рабочие шейки вала дизельным маслом и поддерживая вал, передвигают подшипники так, чтобы они расположились в гнездах блока и на рабочих шейках.
Таким же образом устанавливают средний подшипник (6-й опоры) и затем все остальные, после чего проверяют от руки легкость вращения кулачкового вала в подшипниках.
Упорный фланец и его шайбу заводят в выточку блока, совместив их отверстия с отверстиями в нажимном кольце, и скрепляют болтами.
Пяту надевают на хвостовик вала и укрепляют ее разрезной гайкой. Проверяют осевой разбег вала в упорном подшипнике, который должен быть в пределах 0,1 — 0,25 мм для новых деталей. Фиксируют гайку и стопорят половинки подшипников болтами.
Аналогично устанавливают в блоке второй кулачковый вал. Регулировку зацепления шестерен привода кулачковых валов производят, как указано в главе VI.
Предельный регулятор с фланцем привода тахометра укрепляют на левом фланце шестерни кулачкового вала. Гайки и штифты шплинтуют общей проволокой.
На корпус регулятора устанавливают груз и стопор в сборе с пружиной и завертывают два болта, прикрепляющие стопор к грузу. После этого закрепляют четырьмя болтами фланец привода тахометра.
Установка масляных коллекторов и трубопроводов внутри дизеля. Перед установкой на дизель необходимо собрать коллекторы (нижний и верхний), оборудовав их пробками, штуцерами и шпильками. Перед завертыванием в коллекторы пробок надо смазать их резьбу белилами. Крепление коллекторог и трубок на дизеле рекомендуется производить сверху, для чего перед установкой нижнего коллектора и нижних трубок следует повернуть блок на поворотном стенде на 180°.
Установку коллекторов и трубок производить в следующем порядке. Сначала закрепляют нижний масляный коллектор на блоке пятью скобами. Открытые полости коллектора для предохранения от загрязнения закрывают бумагой. Затем прикрепляют 12 трубок подвода масла к коренным подшипникам нижнего коленчатого вала. Уплотнительные медные прокладки трубок не должны иметь помятости, забоин и других повреждений. После этого присоединяют маслоприемный патрубок нижнего коллектора с установкой уплотнитсльных колец и фланцев.
Установив кронштейны, закрепляют трубки подвода масла к шестерням вертикальной передачи и привода насосов. Затем устанавливают верхний масляный коллектор и закрепляют его на блоке. Открытые полости коллектора закрывают бумагой.
Присоединяют трубки (правую и левую) подвода масла от верхнего коллектора к кулачковым валам. Устанавливают соединительные трубы от верхнего к нижнему масляному коллектору. При этом оберегают от повреждений уплотнительные прокладки между фланцами труб.
Закрепляют две трубки подвода масла к шестерням воздуходувки, предварительно укрепив на блоке две стопки и угольники.
Устанавливают 12 трубок подвода масла к коренным подшипникам верхнего коленчатого вала.
Установка валоповоротного механизма. Чистой салфеткой протирают концевой переключатель валоповоротного механизма и регулировочное кольцо. Наполняют солидолом червяк и подшипники корпуса валоповоротного механизма. После этого устанавливают на шпильки блока регулировочные прокладки (по потребности) и указательную стрелку. Соединяют корпус 10 подшипников (рис. 130) с кронштейном 9, т. е. соединяют вал 4 корпуса подшипников с валом червяка 6. Собранный узел устанавливают на шпильки блока, на них же надевают шайбы и навертывают гайки, предварительно надев на верхнюю шпильку планку цепочки стопорного болта.
Соосность вала подшипников регулируют прокладками, которые помещают под указательной стрелкой. Регулируют зазоры между зубьями червячной передачи; они должны быть в пределах 0,1—0,4 мм.
Проверяют работу валоповоротного механизма от ручного привода через ключ-трещотку 3. Головку ключа надевают на хвостовик вала 4, который связан с червячной передачей (червяком 6 и червячным колесом диска 5). При проворачивании вала 4 рукояткой / ключа вращение передается ведущему диску муфты привода генератора, закрепленному на нижнем коленчатом валу. Ключ-трещотка позволяет проворачивать коленчатый вал в любом направлении без снятия ключа с вала 4. При этом необходимо только переставить защелку 2 на ключе. Валопово-
дизеля" width="228" height="239">Рис. 130. Валоповоротный механизм:
/ — рукоятка ключа; 2 — защелка; 3 — ключ-трещотка; 4 — вал; 5 — ведущийдиск муфты; 5-червяк; 7 — концевой переключатель; 8 и 9—кронштейны; 10 — корпус подшипниковротный Механизм должен обеспечивать легкость вращения коленчатых валов и не иметь заеданий или местных прихватывании.
После проверки работы механизма надежно закрепляют кронштейн 9 и корпус 10, затем просверливают отверстия под контрольные штифты и устанавливают их (по два штифта в корпусе и кронштейне).
Закрепляют кронштейн 8 концевого переключателя двумя болтами. Устанавливают в кронштейн 8 два болта, на которые надевают регулировочные кольца и концевой переключатель 7 и завертывают гайки, укрепляющие переключатель.
В отверстие А вставляют стопорный болт, навертывают на него гайку и зашнлинтовывают ее. Болт должен упираться в переключатель 7.
После установки концевого переключателя и стопорного бол-га проверяют работу контактов переключателя. Если контакты не замкнуты, положение переключателя на кронштейне 8 регулируют изменением количества регулировочных колец, которые помещаются под болты, укрепляющие переключатель (под корпус переключателя).
Установка привода масляного насоса и регулятора. Приводной вал с корпусом в сборе ставят в корпус привода масляного насоса и регулируют зацепление конических шестерен, как указано в главе VI.
Сопрягаемые плоскости корпуса привода масляного насоса и блока дизеля (см. рис. 120) протирают салфеткой. В корпус привода вставляют два болта, предварительно надев на них ранее подобранные регулировочные прокладки // (см. гл. IV). Болты закрепляют гайками. Вставляют штифты 14 и затягивают их гайками до отказа.
На опорной плите закрепляют привод регулятора в сборе. Перед установкой корпуса на плите укладывают прокладку. Проверяют, свободно ли проворачиваются все шестерни от руки. Вставляют соединительный валик и затем сочленяют его с муфтой в корпусе привода масляного насоса.
Проверяют осевой разбег соединительного валика, который должен быть не менее 1 мм. При неустановленном нижнем коленчатом вале приводы должны свободно проворачиваться от руки.
Сверлят и развертывают отверстия под штифты, фиксирующие привод регулятора на дизеле.
Предохранительным щитком закрывают полость для установки регулятора числа оборотов, чтобы предохранить от загрязнения.
Установка механизма управления дизелем и передней крышки блока. С левой стороны дизеля укрепляют три промежуточных кронштейна и один специальный концевой кронштейн // (рис. 131), не позволяющий левой тяге провернуться вокруг оси. С правой стороны дизеля для верхней и нижней тяг также укреп-
дизеля" width="677" height="301">Рис. 1Й1. Схема и узлы установки кронштейнов и тяг механизма управления дизелем: / — стопорный болт; 2 — кронштейн; 3 — поводок (тяга); 4 — ось; 5— ролик; 6 и в—гайки; 7 —шайба; 9,12 и /7 —болты- 10 — прокладки" // — специальный концевой кронштейн; 13 и 14— шарикоподшипники; /5—поводок; /5 — тяга; 18 — крышка- 19 — тяга- 20 — выключатель пяти топливных насосов правою ряда; 2' — передняя секция левой тяги; 22 — выключатель топливных насосов левого ряда;
21 — ко;.1 Омысло; 24 — серьгаляют по четыре кронштейна, из которых для нижней тяги — один специальный концевой кронштейн такой же, как на левой стороне, и для верхней тяги кронштейн 2 с болтом /. Для закрепления кронштейнов вставляют оси 4 с роликами 5 во все промежуточные и концевые кронштейны и присоединяют их с регулировочными прокладками 10 к перегородке блока.
Аналогично укрепляют на перегородке блока специальный концевой кронштейн 11с подшипниками 13 и 14.
На осях 4 (с наружной стороны перегородки блока) надевают шайбы 7 и навертывают гайки 6. Проверяют, чтобы суммарный осевой разбег ролика 5 на оси 4 был в пределах 1 —1,28 мм и после этого закрепляют гайки 6. Ввертывают на несколько ниток стопорный болт 1 в каждый концевой кронштейн.
Через отверстие в перегородке блока заводят (со стороны управления) третью секцию левой тяги управления с клеймом 3 (третья) и устанавливают ее на роликах концевого и среднего кронштейнов.
На свободный конец третьей секции левой тяги устанавливают соединительную муфту с клеймом 2 (вторая) и проверяют, лежит ли третья секция на обоих роликах кронштейнов и легко ли она перемещается вдоль оси. При необходимости производят подрегулировку установкой кронштейнов по высоте и подбором регулировочных прокладок 10.
Через отверстие в перегородке блока (со стороны управления) заводят вторую секцию левой тяги управления с клеймом 2 (вторая) и соединяют ее с муфтой на конце ранее устанавливаемой третьей секции. При этом на стыках соединения секций допускается зазор до 1 мм.
Таким же образом устанавливают муфту и первую секцию левой тяги.
Не нарушая установленного положения трех секций левой тяги, закрепляют призонные болты муфт гайками. Регулируют легкость хода левой тяги на роликах кронштейнов и довертывают стопорные болты / на концевых кронштейнах. При этом в концевом кронштейне // должен быть выдержан монтажный зазор до 0,2 мм между тягой и шарикоподшипниками.
Окончательно установив кронштейны и отрегулировав левую тягу управления, в кронштейнах через отверстия в перегородках блока просверливают по четыре отверстия, развертывают их до диаметра 11+0'35 мм и затягивают призонные болты 9 гайками 8.
Верхнюю правую тягу управления устанавливают и регулируют так же, как и левую, а нижнюю правую — вначале предварительно ставят и проверяют легкость хода на роликах всех четырех кронштейнов, затем тягу снимают и окончательно закрепляют на блоке ее четыре кронштейна. Чтобы установить нижнюю правую тягу, вначале закрепляют переднюю секцию ссерьгой коромысла 23, затем заднюю секцию с механизмом выключения пяти топливных насосов и лишь затем сочленяют с ними среднюю секцию. Все кронштейны и места на блоке, возле которых они устанавливаются, клеймят порядковыми номерами от 1 до 12 для определения места их расположения при последующих разборках и сборках.
На конце левой тяги управления укрепляют выключатель левого ряда топливных насосов 22. Для этого последовательно устанавливают корпус 1 механизма (см. рис. 38), пружину 2, тарелку 16 и навертывают гайку 7 до совпадения ее разреза с отверстием в тяге под шплинт. Затем в корпус / устанавливают поршень 5.
На торец корпуса / механизма помещают прокладку 6, крышку //, вилку 4 и завертывают до отказа четыре болта. В крышку 11 механизма завертывают штуцер 13. Полость 10 механизма опрессовывают воздухом иод давлением 7 кГ/см2 в течение 5 мин. Пропуск воздуха не допускается.
На блок ставят коромысло 23 (см. рис. 131), заводят его вилку на корпус 22 механизма выключения левого ряда топливных насосов и укрепляют коромысло четырьмя болтами. Аналогично соединяют механизм выключения пяти топливных насосов с нижней правой тягой управления. Затем присоединяют коромысло к правой тяге подачи топлива, установив соединительные серьги 24 и их оси. После этого регулируют действие коромысла 23 в сочленении с тягами управления. Тяги должны легко перемещаться при повороте рукой рычага на оси А.
Па дизелях 10Д100 не предусмотрено выключение пяти топливных насосов правого ряда, поэтому выключатель 20 на этих дизелях не устанавливается и на правой стороне не две, а одна тяга.
Для фиксации коромысла на блоке просверливают два отверстия, развертывают их до диаметра 10 мм (конусность 1:50) и вставляют штифты.
Под автомат выключения 16 (рис. 132) помещают регулировочные прокладки 15 и закрепляют на блоке дизеля двумя гайками.
Вал 18 выключения предельного регулятора центрируют в опорах блока путем перемещения автомата 16. Вал должен легко проворачиваться.
Сдвинув вал 18 влево (если смотреть со стороны управления, надевают на шпонку вала рычаг 17 выключения предельного регулятора и закрепляют его стяжным болтом.
После этого вал 18 устанавливают на двух опорах в блоке, с другой стороны вала надевают уплотнительное кольцо 12 и нажимной фланец //. Фланец // закрепляют на шпильках блока двумя гайками 14.
Устанавливают на шпонке рукоятку 10 включения предельного регулятора и закрепляют ее на валу 18 стяжным болтом 13.
дизеля" width="447" height="422">Рис. 132. Механизм управления дизелем:
/ — кронштейн; 2--пружина; 3. 17 и 20 — рычаги; 4 — ось рычага; 5, 26 и 29 прокладки; 6—предельный регулятор; 7—ось внлкн; 8— вилка; 9— тяга; 10— рукоятка; //--нажимной фланец; /2 — уплотнитсльное кольцо; 13— стяжной болт; 14 — гайка; /5— регулировочные прокладки; 16—автомат выключения; 18 — вал выключения предельного рег>лятора; 19 — коромысло подачи топлива; 21 — стопорная тяга; 22 — пружина стопорной тяги; 23 н 25 — штуцера; 24 — трубка; 27 — крышка; 28—переходная втулка; 30 — болт; 31 — электропненматнческнй вентиль; 32 — щиток; 33 - -шланг
На корпусе привода кулачковых валов закрепляют кронштейн, предварительно отрегулировав его положение прокладками 5. Затем в выточку кронштейна / ставят пружину 2 и присоединяют рычаг 3 при помощи оси 4. Укрепляют вилку 8 на оси 7 к противоположному концу рычага 3 и зашплинтовывают ось. Вилку 8 соединяют с тягой 9 и насаживают второй конец тяги 9 на ось защелки автомата.
Следующей операцией является установка электронненмати-ческого вентиля механизма выключения одного ряда топливных насосов.
В резьбовые отверстия крышки 27 ввертывают три штуцера 25 и один штуцер 23. На блок помещают крышку 27 с проклад кой 26 и закрепляют ее. К штуцерам присоединяют трубку 24 и шланг 33. На крышку 27 устанавливают переходные втулки 28, затем прокладку 29 и электропневматпческий вентиль 31 и закрепляют их двумя болтами 30. Закрепляют щиток 32.
На шпильки блока устанавливают кронштейн привода регулятора, предварительно поместив под корпус кронштейна уп-лотнительную прокладку. При этом проверяют совпадение масляных отверстий в блоке, прокладке и кронштейне, после чего закрепляют кронштейн гайками.
Вставляют вал в кронштейн привода регулятора, а на концы его с внутренней стороны надевают рычаг с вилкой стопорной тяги 21, а с наружной стороны — рычаг 20. Рычаги ставят на шпонках и затягивают стяжными болтами. После установки вала привода регулятора проверяют суммарный монтажный зазор; он должен быть в пределах 0,2—0,4 мм.
В вилку короткого рычага ввертывают стопорную тягу 21 (в сборе с гайкой и шайбой), на свободный конец тяги надевают пружину 22 и, установив тарелку на торец пружины, укрепляют ее гайкой.
Повернув рукой рычаг 20 регулятора, проверяют взаимодействие деталей механизма управления. Движение в соединениях должно быть легким, без перекосов и местных прихватываний.
На тяги управления устанавливают поводки реек топливных насосов. Присоединяя поводок 15 (см. рис. 131) к тяге управления, его штифт направляют в отверстие тяги. К поводку прикрепляют крышку 18 двумя болтами 17. Головки болтов попарно зашплинтовывают проволокой.
Окончив сборку механизма управления дизелем, производят сто регулировку (см. главу VI). Ставят переднюю крышку блока. Предварительно надевают на шпильки блока уплотнительную прокладку. Крышку закрепляют гайками. Под гайки подклады-нают шайбы.
Установка опорной плиты, водяного и масляных насосов. Перед установкой опорной плиты и насосов проверяют, нет ли забоин и других повреждений на припадочных плоскостях опорной плиты, насосов и блока дизеля. На шпильки блока, укрепляющие плиту, надевают уплотнительную прокладку. Установив опорную плиту на шпильки блока, слегка затягивают ганки (30 шт.). Под гайки помещают шайбы.
Па опорной плите закрепляют водяной насос, предварительно уложив уплотнительную паронитовую прокладку на шпильки плиты, укрепляющие насос. Полости насоса должны быть чистыми.
Правильность зацепления шестерни водяного насоса с шестерней эластичного привода регулируют путем перемещения опорной плиты на шпильках блока. Зазор между зубьями должен быть в пределах 0,2-0,4 мм для новых деталей. Ступенчатость шестерен допускается не более 2 мм.
После проверки зацепления шестерен окончательно закрепляют водяной насос и проверяют по краске прилегание зубьев: отпечаток краски должен быть не менее 40% по высоте зуба и не менее 50% по его длине. Аналогично устанавливают и масляный насос центробежного фильтра или второй водяной насос дизеля 1 ОД 100. Затянув до отказа гайки крепления плиты, присверлива-ют и развертывают четыре отверстия в опорной плите под конические штифты и вставляют штифты.
Затем ставят масляный насос. Для этого надевают уплотнн-тельную прокладку на шпильки плиты. На хвостовик ведущего валика насоса надевают технологическую втулку размерами 26-о)оо8 мм по наружному диаметру и 20|^о8 мм по ВНухрен. нему.
При установке насоса на шпильки опорной плиты хвостовик ведущего валика насоса с надетой технологической втулкой направляют в отверстие приводного вала и вводят шлицевую втулку в зацепление с муфтой. Закрепив насос на плите, просверливают и развертывают два отверстия, в которые вставляют конические штифты.
После этого штифты вынимают, отвертывают гайки крепления и снимают насос с опорной плиты. Снимают технологическую втулку и снова ставят насос на плиту по коническим штифтам, фиксирующим правильность центровки ведущего вала насоса. Гайки крепления насоса затягивают до отказа и шплинтуют их проволокой.
Чтобы убедиться, нет ли заеданий или прихватываний в приводах к водяному и масляным насосам, провертывают нижний коленчатый вал ручным валоповоротным устройством на два-три оборота.
Установка толкателя топливного насоса. С толкателя снимают штуцер для слива масла, отвертывают гайки, снимают пластинчатые замковые шайбы и вынимают болты крепления. Особое
дизеля" width="424" height="157">Рис. 133. Приспособление для сжатия пружины толкателя:
/ — сухарь; 2 —колпак; 3 — шайба; 4 — штифт; 5 — палец; 6 —планка; 7 и 12 — рукоятки; в—гайка; 9 — аинт; 10 — головка винта; // — корпусвнимание обращают на чистоту внутренних поверхностей корпуса толкателя.
В соответствующие отверстия блока заводят болты крепления толкателя, предварительно установив под головки болтов медные уплотнительные кольца, предотвращающие течь масла из внутренней полости блока. В выточку на направляющей части корпуса толкателя помещают уплотнительное резиновое кольцо, которое также предотвращает течь масла из внутренней полости блока.
Провернув коленчатый вал, устанавливают соответствующий кулачок кулачкового вала вершиной кверху.
При помощи приспособления (рис. 133) сжимают пружину толкателя. Дли этого головку приспособления помещают на хвостовике штока толкателя и, заворачивая рукоятку 12, зажимают шток в сухарях / головки, так же как закрепляют сверло в универсальном патроне сверлильного станка. Затем надевают планку б на два штифта 4 в головке приспособления и, заворачивая гайку 8 на винте 9, сжимают пружину толкателя до тех пор, пока хвостовик пальца ролика полностью не войдет в паз корпуса толкателя.
При завертывании гайки 8 шток толкателя, удерживаемый головкой приспособления, будет перемещаться вместе с винтом 9 н сожмет пружину толкателя.
Толкатель (со сжатой пружиной) устанавливают в гнездо блока; на болты надевают пластинчатые замки и завертывают гайки, прикрепляющие фланец толкателя к блоку. Гайки должны быть туго затянуты и надежно закреплены пластинчатыми замками. Для лучшего уплотнения стыковых поверхностей толкателя с блоком наносят тонкий слой герметика на фланец корпуса толкателя.
Чтобы снять приспособление, сжимающее пружину, отвертывают гайку 8 и затем поворотом рукоятки 12 освобождают шток толкателя от патрона приспособления.
После этого закрепляют трубки слива масла из корпусов толкателей и соединяют их со сливной магистралью. Сливную магистраль опрессовывают маслом давлением 2 кГ/см2 в течение 5 мин. Течь и потение не допускаются.
Установка крышек воздушного ресивера. Со смотровых люков воздушного ресивера снимают предохранительные щитки (по пять щитков с каждой стороны дизеля) и укладывают их на стеллаж.
Па шпильки крепления шести крышек помещают прокладки и устанавливают крышки, затем на шпильки надевают шайбы и их гайки. Гайки завертывают равномерно до отказа.
По две крышки с каждой стороны блока (по бокам от средней) оборудуют предохранительными клапанами. Для этого на гнездо иод клапан устанавливают последовательно уплотнитель-ную прокладку 5 (рис. 134), тарелку клапана 4, болт 2 с про кладкой 3 и пружину 6. Затем на болт навертывают ганку 7, сжимая пружину до размера 96±0,5 мм и устанавливают в гайку шплинт (отверстие под шплинт сверлят по месту). После сборки клапан проверяют на герметичность наливом дизельного топлива. Не допускается течь топлива по прилегаемым поверхностям тарелки и болта к уплот-пительным прокладкам. Ход клапана должен быть не менее 20 мм.
Установка воздуходувки. Уложив прокладку на шпильки блока, при помощи подъемного приспособления (см. рис. 62), осторожно без рывков, надвигают воздуходувку на эти шпильки п навинчивают на них гайки.
Воздуходувку устанавливают в необходимое положение и регулируют зацепление зубьев шестерен, как указано в главе Ville нарушая регулировку зацепления шестерен, затягивают до отказа вес гайки крепления воздуходувки к блоку. Сверлят два отверстия под штифты, развертывают их и устанавливают штифты. При сверлении отверстий надо следить, чтобы в блок дизеля не попала стружка.
Наружные гайки крепления воздуходувки зашплинтовывают, а внутренние - - укрепляют проволокой. Валоповоротным устройством провертывают нижний коленчатый вал на два-три оборота, чтобы проверить, легко ли он проворачивается после присоединения воздуходувки. Вращение коленчатых валов должно быть легким и плавным.
Установив воздуходувку, снимают подъемное приспособление. Под воздуходувкой ставят корыто, подсоединяют сливные масляные трубки и прикрепляют трубку вентиляции картера.
Монтаж воздуходувки 2-й ступени на дизеле 10Д100. До установки воздуходувки на дизель необходимо проверить чистоту ее воздушных полостей, трубопроводов воздуха и трубок подвода масла.
Зачаливанне воздуходувки в сборе с редуктором производят за рымы и подъемную скобу. При установке воздуходувки на шпильки блока надо соблюдать осторожность, чтобы не повредить шпильки. Закрепив воздуходувку и проверив правильность установки торсионного вала, фиксируют воздуходувку на блоке контрольными штифтами. Правильность подсоединения воздухо-
дизеля" width="158" height="278">Рис. 134. Предохранительный клапан на крышке воздушного рссшзера:
/ — крышка с корпусом клапана; 2 — болт; Я п 5 - прокладки; 4 — тарелка клапана; 6 — пружина; 7 — гайкалунки к дизелю проверяют по легкости перемещения торсионного вала но шлицам во всех положениях коленчатого вала.
После окончательной проверки правильности монтажа, воздуходувки на дизеле обязательно устанавливают стопорное кольцо торсиона.
Установка турбокомпрессоров на кронштейне. Правый и левый турбокомпрессоры ставят на общем кронштейне, закрепляемом на блоке дизеля. Монтаж турбокомпрессоров на кронштейне, а также замену одного из турбокомпрессоров необходимо производить, соблюдая требования, изложенные ниже.
У каждого турбокомпрессора проверяют наличие пломб на заглушках газовых, воздушных масляных и водяных каналов. После снятия заглушек рукой через газовый канал пробуют, свободно ли вращается ротор. В резьбовые отверстия фланцев газового и воздухоприемного каналов ввертывают на белилах шпильки. На эти шпильки надевают прокладки, затем газовые и воздухоприемные патрубки (по два) и закрепляют их гайками с пружинными шайбами. Устанавливают на подставку кронштейн. На кронштейн помещают прокладки и ставят турбокомпрессоры. Проверяют, нет ли зазора между опорными плоскостями турбокомпрессоров и кронштейном. Турбокомпрессоры выставляют по шаблону (или макету) и закрепляют на кронштейне болтами. Положение турбокомпрессоров по высоте регулируют прокладками 21 (рис. 135). При монтаже воздухоприемных патрубков следует предварительно снять трубки 14 и 23, не допуская их загрязнения.
Водяные масляные трубы 4, 5, 6, 7, 10 я 11 при установке на турбокомпрессоре разрешается подгибать по месту.
Резиновые (дюритовые) трубки слива масла закрепляют так, чтобы они не касались друг друга и деталей турбокомпрессоров.
Монтаж турбокомпрессоров на дизеле. Подняв краном турбокомпрессоры с кронштейном, заводят шпильки кронштейна в отверстия блока дизеля (но четыре шпильки с каждой стороны) и закрепляют гайками с пружинными шайбами. После проверки совпадения присоединяемых фланцев со стороны выхлопных и воздушных полостей развертывают верхние отверстия в блоке и кронштейне (по одному с каждой стороны) под иризониые болты М16, устанавливают эти болты, закрепляют их корончатыми гайками и зашплинтовывают. Необходимо проверить, чтобы при затянутых болтах крепления турбокомпрессоров на кронштейне, болты, скрепляющие фланцы наддувочных коллекторов с нагнетательными патрубками турбокомпрессоров, заходили без усилий в свои отверстия и ввертывались по резьбе в патрубках.
Окончательную подрегулировку турбокомпрессоров на дизеле в горизонтальной плоскости производит за счет зазоров между болтами и отверстиями в кронштейнах, а в вертикальной плоскости— за счет прокладок 21 (см. рис. 135). Общая толщина
дизеля" width="419" height="486">прокладок 21 под каждой лапой турбокомпрессора допускается не более 5 мм, а число прокладок — не более трех. До окончательной затяжки болтов крепления турбокомпрессоров к кронштейну (после постановки при необходимости прокладок 21) местный зазор между опорными поверхностями допускается до 0,3 мм. После затяжки болтов крепления турбокомпрессоров на кронштейне допускается непараллельность торцов фланцев наддувочного коллектора и горловины корпуса компрессора не более 2 мм.
Подсоединив турбокомпрессоры к воздушным и газовым полостям, развертывают четыре отверстия диаметром 13 мм (по два с каждой стороны) под конические штифты в кронштейнах
дизеля" width="124" height="140">Рис. 136. Узел фиксации турбокомпрессоров на кронштейне:
/ — кронштейн; 2 — конический штифт; Я—прокладка; 4 — лапа турбокомпрессораи лапах турбокомпрессоров и запрессовывают штифты, как показано на рис. 136.
Несоосность патрубков и труб, присоединяемых к турбокомпрессорам дюрито-выми шлангами, допускается не более 3 мм при расстоянии между ними не менее 15 мм. Все штуцера и шпильки ставят на белилах.
Установка верхней крышки блока. Убедившись в том, что все детали и узлы внутри блока установлены и надежно закреплены, контактные поверхности блока дизеля и его верхней крышки чистые и не имеют забоин, на верхнюю полость блока укладывают паронитовые прокладки (по одной прокладке с каждой стороны). Паронитовую прокладку помещают также на торец верхней крышки блока со стороны воздуходувки. Затем ставят на блок крышку и равномерно затягивают гайки на 54 шпильках блока. К торцу верхней крышки блока прикрепляют фланец воздуходувки, предварительно установив шайбы под головки болтов.
Установка форсунки. Перед установкой форсунки вынимают заглушку из отверстия адаптера форсунки в гильзе цилиндра. Чистой салфеткой протирают края отверстия в адаптере и корпус устанавливаемой форсунки. С наконечника форсунки снимают колпачок, надев на форсунку медное уплотнитсльное кольцо, помещают форсунку в адаптер гильзы цилиндра таким образом, чтобы ее приемный (нагнетательный) штуцер был направлен вниз строго по вертикали.
В случае установки повой форсунки на ее корпус наносят клейма, аналогичные клеймам на заменяемой форсунке, и в паспорте дизеля делают соответствующую отметку.
Гайки крепления форсунки затягивают поочередно нормальным ключом (длина рукоятки не более 200 мм) на 2,5—3,5 грани от упора за 5—7 приемов усилием одной руки. Затягивать равномерно и поочередно для обеих гаек по 0,5 грани за прием.
Закрепив форсунку на шпильках, подсоединяют нагнетательную и сливную трубки. Гайки крепления форсунки зашплинто-вывают проволокой.
Установка реле давления масла и масляных трубопроводов. Оба реле давления масла (остановки дизеля и сброса нагрузки) прикрепляют болтами к блоку.
Переходную муфту 2 (рис. 137) ввертывают в резьбовое отверстие перегородки 5 блока. На резьбу угольника 4 наматывают льняную нитку, смазывают ее сверху суриком и завертывают угольник в переходную муфту 2. Аналогично ввертывают оба тройника / в резьбовые отверстия переходной муфты 2 и вотверстие верхнего масляного коллектора.
К тройнику верхнего масляного коллектора и к угольнику 4 присоединяют трубку 3.
На резьбе штуцеров обоих реле давления масла также наматывают льняную нитку, снаружи резьбу смазывают суриком. К штуцерам реле присоединяют трубки, концы которых закрепляют накидными гайками к их общему тройнику. К тройнику / присоединяют трубку отвода масла к манометру и закрепляют ее накидной гайкой.
Установка топливных насосов. Перед установкой насосов определяют толщину комплекта прокладок, помещаемого между корпусом насоса и толкателем. Каким образом подбирают прокладки, сказано в главе VI.
До постановки топливного насоса проверяют, легко ли перемещается рейка и возвращается ли она в исходное положение под действием пружины после нажатия на поводковую втулку.
На фланец корпуса насоса укладывают прокладки и подсоединяют насос к толкателю (надевают на болты). После этого навинчивают на болты гайки, установив под них замковые шайбы. Болты до отказа затягивают усилием одной руки, пользуясь ключом (см. рис. 61) с рукояткой длиной 350 мм. Затем еще раз проверяют плавность хода рейки топливного насоса и нет ли заедания поводковой втулки, фиксируют гайки пластинчатыми замками.
Топливные насосы и форсунки соединяют трубками высокого давления. Предварительно эти трубки прокачивают дизельным топливом, со штуцеров насосов и форсунок, а также с трубок снимают защитные колпачки.
Трубки должны подсоединяться к штуцерам насоса и форсунки свободно, без деформаций и подгибания, накидные гайки должны навинчиваться свободно.
На вновь установленном насосе должны быть нанесены клейма, определяющие его принадлежность к данному дизелю, данному цилиндру и место расположения (с правой или левой стороны) .
Установка регулятора числа оборотов и его привода. Шлице-вое соединение регулятора и его привода смазывают дизельным маслом. На фланец корпуса привода регулятора помещают уп-лотнительную прокладку из телефонной бумаги.
дизеля" width="240" height="144">Рис. 137. Узел соединения трубок подвода масла к реле давления и к манометру:
/ — тройник; 2 — переходная муфта; 3 — трубка; 4 — угольник; 5 — перегородка блока
Регулятор устанавливают на корпусе привода. На шпильки крепления регулятора надевают пружинные шайбы и равномерно затягивают четыре гайки. К рычагу управления регулятора присоединяют серьгу. В отверстие осп вставляют шплинт и разводят его. Аналогично сочленяют с серьгой шток сервомотора регулятора.
На шпильки блока надевают кожух пневматического сервомотора. Перед завертыванием гаек на шпильки помещают шайбы. Укрепив кожух, устанавливают пневматический сервомотор регулятора. Проверив совпадение меток (рисок) на шлиневом валике и рычаге регулятора, устанавливают вертикальную тягу привода регулятора.
Отвертывают пробку верхней шаровой опоры, надевают вертикальную тягу на головку шарнира и ввертывают пробку на место. Если шарнир вращается легко, пробку зашплинтовываюг.
Вертикальную тягу соединяют с призмой планки пневматического сервомотора. При помощи винтовой стяжки регулируют длину вертикальной тяги (см. главу VI).
После установки регулятора проверяют, чтобы тяги управления обеспечивали выключение подачи топлива при крайнем нижнем положении штока сервомотора регулятора.
Установка объединенного регулятора числа оборотов и мощности на дизеле 1 ОД 100 значительно упрощена. Регулятор устанавливают и закрепляют на корпусе привода, К штоку сервомотора регулятора шарнирно прикреплена (на опорной плите) горизонтальная тяга, с которой в свою очередь соединена вертикальная тяга, связанная с механизмом остановки дизеля. Пусковой сервомотор присоединяется к блоку рядом с регулятором.
Установка крышек люков вертикальной передачи. На шпильке блока укладывают паронитовую прокладку, а на нее помещают глухую крышку (без пружин) и закрепляют ее.
Установка крышек на отсеках нижнего коленчатого вала. Всекрышки с одной стороны дизеля имеют предохранительные про-тивовзрывные клапаны, аналогичные клапанам на крышках воздушного ресивера (см. рис. 134). Каждая крышка закрепляется на блоке четырьмя накладками, причем средние накладки двусторонние— общие для крепления двух соседних крышек.
Установка топливных коллекторов. Трубки / и 3 (рис. 138) заводят между гильзой первого цилиндра и перегородкой блока и скрепляют их фланцы двумя болтами 2. Гайки болтов 2 за-шплинтовывают.
Аналогично соединяют между собой трубки 10 и // с противоположной стороны дизеля. Штуцер 6 присоединяют к фланцу первого правого топливного насоса и слегка закрепляют его болтами 9.
Гайку 7 с тарелкой и кольцом помещают на трубку 8 звена коллектора и конец трубки 8 присоединяют к штуцеру 6 второго
дизеля" width="437" height="239">Рис. 138. Схема топливных коллекторов и трубопроводов:
1 и 3 — трубки от филр.тра к коллекторам; 2 и 9 — болты; 4, 7 и 16—гайки; 5 — фильтр; 6 — штуцер подвода топлива к насосу; 8 — трубка звена коллектора; 10 и //— трубки между коллекторами; 12 — тройник; 13 — штуцер для подсоединения манометра; /4 — отводная труба; 15— пробка; 17—перепускной клапан; 18 — трубка от перепускного клапанацилиндра. Присоединяют штуцер 6 к фланцу второго правого топливного насоса, затем затягивают болты 9 и навертывают о г руки гайку 7.
Таким же образом соединяют между собой остальные звенья правого и левого топливных коллекторов. Все звенья коллекторов закрепляют болтами 9. Каждые два болта данного звена за-шплинтовывают общей проволокой.
Трубки / и 5 присоединяют к штуцерам топливных коллекторов и затягивают до отказа накидные гайки 4. При этом не допускают касания трубок / и 5 с гильзой цилиндра и перегородкой блока. Аналогично подсоединяют к топливным коллекторам и закрепляют накидными гайками трубки 10 и //.
Трубку 5 соединяют со штуцером топливного фильтра 5 и до отказа затягивают ее накидную гайку.
Устанавливают перепускной клапан 17 и закрепляют его на шпильках блока. Закрепляют скобами на блоке отводную трубу 14. Навертывают гайку трубы /•/ на штуцер перепускного клапана 17.
На тройник 12 отводной трубы 14 навертывают гайку трубки //. Присоединяют и закрепляют трубку 18 к перепускному клапану 17.
В муфту отводной трубы 14 ввертывают пробку 15 и навертывают гайку 16 с наконечником. Штуцер 13 (для подсоединения манометра) ввертывают в тройник 12 отводной трубы. Затягивают болты у скоб, укрепляющих трубки.
Установка сливных топливных трубопроводов. Прикрепляют болтами сливные коллекторы к бойкам водоподводящих труб (расположенных в отсеке топливных насосов и форсунок), предварительно установив на бонки щитки.
Устанавливают шесть сливных трубок между сливными коллекторами и завертывают до отказа их накидные гайки. При необходимости можно произвести подгибку трубок по месту.
В отверстие каждого сливного коллектора вставляют по две трубки так, чтобы их концы были видны через окно в коллекторе. Накидные гайки, расположенные на противоположных концах этих трубок, соединяют со сливными штуцерами топливного насоса и форсунки данного цилиндра. На дизелях последних выпусков топливо, отливаемое форсунками, раздельно отводится в топливный бак.
С каждой стороны дизеля укрепляют по одной трубке от концов сливных коллекторов к штуцерам, ввернутым в боковые перегородки блока.
Вдоль каждой стороны дизеля укрепляют снаружи скобами по одной сливной трубе и соединяют эти трубы между собой (со стороны управления) поперечной трубой. Закрепляют накидные гайки поперечной трубы. Наружные сливные трубы (с каждой стороны дизеля) соединяют с внутренними трубками.
Ввертывают в каждую плиту жесткости по три штуцера и подсоединяют к ним сливные трубки, сообщающие полости под выпускными коллекторами с наружными сливными трубами.
Контроль сборки, установка дизеля на поддизельную раму и центровка его с генератором. После установки передней крышки блока, топливного фильтра тонкой очистки, поручней, люков, откидных площадок необходимо тщательно осмотреть дизель снаружи и установить все остальные детали.
Окончательно собранный дизель проверяют на легкость проворачивания от валоповоротного механизма. Кроме того, проверяют герметичность топливных, масляных и водяных трубопроводов. Топливные трубопроводы опрессовывают дизельным топливом под давлением 3 кГ/см2\ масляные трубопроводы—дизельным маслом под давлением 2,5 кГ/см2 в течение 10 мин; водяные трубопроводы опрессовывают водой под давлением 2 кГ/см2 в течение 20 мин.
Течь в местах соединений трубопроводов не допускается.
Проверку герметичности трубопроводов можно производить непосредственно после их установки, раньше чем закончится сборка всего дизеля.
Собранный дизель при помощи чалочного приспособления, показанного на рис. 59, снимают со стенда и переставляют на поддизельную раму для центровки и соединения с генератором и для окончательного его крепления к рамс.
Поддизельную раму предварительно ставят на жесткие стендовые балки, выверенные с точностью У2 деления по ватерпасу.
дизеля" width="152" height="168">Рис. 139. К монтажу главного генератора на подди-зельной раме
Длина ватерпаса должна быть не менее 200.«.«, а цена деления — 0,35 мм на 1 м длины. Стендовые балки аналогичны раме тепловоза, на которой устанавливается дизель в сборе с генератором. Под поверхности С в поддизельной раме (рис. 139) устанавливают по одной пружине. Каждую пружину при этом сжимают до 117±1 мм для дизеля 2Д100 и дс 182±1 мм — для дизеля 10Д100.
На фланец поддизельной рамы (в месте сопряжения с дизелем) укладывают уплотнительные парони-товые прокладки — по одной вдоль каждой стороны дизеля. дизель устанавливают на поддизелыгую раму, совместив отверстия для болтов крепления во фланцах рамы и блока.
После закрепления дизеля на раме устанавливают два штифта, фиксирующие его положение.
Затем устанавливают генератор на поддизельную раму и центрируют его с нижним коленчатым валом. Перемещение генератора на поддизельной раме как в продольном, так и в поперечном направлении производится при помощи домкратных упоров-кронштейнов или поднятием генератора краном.
Правильность установки генератора определяют по следующим показателям:
а) разномерпость радиальных зазоров между якорем и главными полюсами генератора не превышает 0,8 мм для дизеля 2Д100 при зазорах 3,2—4,4 мм и 1 мм для 10Д100 —при зазорах 4,2—5,5 мм;
б) колебание размера Л (рис. 140), т. е. толщина муфты при повороте коленчатого вала не превышает 0,15 мм. Размер А следует определять при повороте коленчатого вала на 360° в четырех положениях (через каждые 90°) в одном и том же месте на дисках муфты;
в) размер а (рис. 141) равен 364±2 мм для дизеля 2Д100 и 430±2 мм для дизеля 1 ОД100, когда размер А (см. рис. 140) соответствует указанному в паспорте муфты. При этих условиях обеспечивается необходимый осевой разбег якоря главного генератора.
При затяжке болтов, прикрепляющих муфту привода к генератору, необходимо руководствоваться указаниями, приведенными в главе V. При этом надо совместить метки на пластинах муфты и диске.
После центровки генератора необходимо окончательно закрепить его болтами, развернуть новые отверстия под конические
дизеля" width="432" height="243">штифты (фиксирующие генератор на поддизельной раме) и установить новые штифты. Подсоединение генератора к дизелю, несмотря на тщательность центровки, вызывает некоторое изменение зазоров «на масло» в 8-, 9- и 10-м коренных подшипниках нижнего коленчатого вала, что для данной конструкции является вполне нормальным и не влияет на работу дизеля. Практически величина зазора «та масло» (диаметральный зазор) в указанных подшипниках после установки генератора может измениться до 0,15 мм. Поэтому в нижней части между 8-, 9- и 10-й коренными шейками коленчатого вала и вкладышами появится зазор, равный этой величине.
Величину зазора в нижней части по указанным подшипникам следует записать в паспорт дизеля для возможности последующего контроля.










