15.1. Устройство и принцип действия
Гидравлические передачи в зависимости от принципа работы подразделяются на гидростатические и гидродинамические.
Гидростатические передачи работают на использовании принципа вытеснения или замещения небольших объемов жидкости при больших рабочих давлениях. В этих передачах скорость движения жидкости сравнительно невелика (не превышает 10 м/с), поэтому в них величина потенциальной энергии (энергии статического давления) значительно больше, чем величина кинетической энергии (энергии скоростного напора), что показано на рис. 15.1.
Гидростатические передачи применяются на ряде отечественных тепловозов в качестве привода вентилятора холодильника. Создать такие передачи большой мощности в настоящее время невозможно из-за технологических и конструктивных трудностей, связанных с обеспечением больших давлений при длительной эксплуатации, а также с изготовлением надежных гибких соединений трубопроводов, рассчитанных на высокие давления.
Гидродинамические передачи основаны на принципе использования кинетической энергии потока жидкости, циркулирующей по замкнутому контуру. Эти передачи получили преимуществен-

Рис. 15.1. Схема гидростатической передачи:
1 — ведущий вал; 2 — гидронасос; 3 — вспомогательный насос; 4 — клапан ограничителя давления; 5 — гидромотор; 6 — ведомый вал
ное распространение в качестве звена энергетической цепи тепловозов различной мощности, и их принято называть просто гидравлическими.
Конструктивно гидравлические передачи состоят из ряда узлов, основными из которых являются гидравлическая муфта и гидравлический трансформатор. Технические характеристики этих гидравлических элементов определяют все показатели и свойства гидравлической передачи.
Гидравлическая муфта. Гидравлической муфтой (рис. 15.2) называется устройство, обеспечивающее гибкое соединение ведущего и ведомого валов и передачу вращающего момента без изменения его по величине. По конструкции она представляет собой двухлопастную гидравлическую машину, состоящую из двух основных частей: насосного колеса, жестко связанного посредством ведущего вала с валом двигателя, и турбинного колеса, соединяемого с помощью ведомого вала и механических звеньев с движущими осями. Одно из рабочих колес, чаще всего турбинное, обхватывается кожухом, предназначенным для компоновки приборов питания (трубопроводов, клапанов) и уплотнения. Отличительной конструктивной особенностью обоих рабочих колес является наличие плоских радиальных лопаток. Лопатки сложного профиля применяются редко и только в муфтах специального назначения.

Рис. 15.2. Гидравлическая муфта:
а — схема: 1 — турбинное колесо; 2 — кожух; 3 — ведомый вал, 4 — насосное колесо; 5 — ведущий вал; б — внешняя характеристика: лн, лт — частота вращения насосного и турбинного колес; Мн, Мт — момент вращения насосного и турбинного колес; 5" — коэффициент проскальзывания турбинного колеса относительно насосного; Чм — КПД гидромуфты
Кромки лопаток рабочих колес насоса и турбины располагаются в непосредственной близости друг от друга с зазором, необходимым для обеспечения их свободного вращения и теплового расширения. Лопатки с примыкающими к ним частями корпуса колес образуют в совокупности пространство, называемое кругом циркуляции. В рабочем режиме круг циркуляции заполняется рабочей жидкостью.
При вращении насосного колеса жидкость, находящаяся в круге циркуляции, перемещается под действием центробежной силы от центра колеса к периферии, благодаря чему в потоке накапливается кинетическая энергия. Пройдя по каналам между лопатками, жидкость выбрасывается из насосного колеса, перемещается в осевом направлении, попадает на лопатки турбинного колеса и давит на них, заставляя колесо вращаться в сторону вращения насосного колеса. По мере перемещения по лопаткам турбины кинетическая энергия потока жидкости убывает, превращаясь в механическую энергию ведомого вала и частично в потери.
Круговое движение жидкости по лопаткам рабочих колес гидромуфты (циркуляция) становится возможным из-за разности давлений. Действительно, давление жидкости на выходе из насосного колеса больше, чем на входе в турбинное колесо, так как скорость вращения турбинного колеса всегда меньше скорости вращения насосного колеса.
Скорость циркуляции, т.е. скорость относительного движения потока жидкости по лопаткам, зависит от соотношения угловых скоростей вращения насосного и турбинного колес. Разность чисел оборотов насосного и турбинного колес называется скольжением.
Скольжение рабочих колес находится в обратной зависимости от их передаточного отношения, т.е. от отношения частоты вращения турбины к частоте вращения насоса. При отсутствии скольжения колес исчезнет перепад давлений и циркуляция жидкости прекратится, что прекратит передачу кинетической энергии с насосного колеса на турбинное, следовательно, вращающий момент будет равен нулю. Иная картина будет в случае, если турбинное колесо неподвижно, а насосное колесо вращается с нормальной скоростью (скольжение 100 %). Перепад давлений будет наибольший, также наибольшими будут скорость циркуляции жидкости и ее воздействие на лопатки турбинного колеса. Передаваемый вращающий момент будет иметь максимальное значение. При промежуточных значениях передаточного отношения гидромуфты скорость циркуляции жидкости и вращающий момент приобретают соответствующие промежуточные значения.
Из характеристик гидромуфты видно, что по своим энергетическим свойствам гидромуфта, отдельно взятая, не отвечает целям тяги. Это объясняется перегружающим воздействием на дизель и низким КПД ее в диапазоне невысоких частот вращения
турбинного колеса. Гидромуфта рассчитывается на передачу нормального момента Мнорм и работу при высоких передаточных отношениях с КПД 0,95... 0,98. В этот режим она включается в качестве ступени скорости гидравлической передачи.
Гидравлические преобразователи (гидротрансформаторы). Гидротрансформатором называется устройство, обеспечивающее гибкое соединение валов и передачу мощности с ведущего вала на ведомый с преобразованием вращающего момента и изменением частоты вращения ведомого вала по сравнению с частотой вращения ведущего вала (рис. 15.3).
Гидротрансформатор отличается от гидромуфты наличием третьего неподвижного лопастного колеса, называемого направляющим аппаратом. Насосное колесо, закрепленное на валу, приводится во вращение от дизеля. Частота вращения насосного колеса и вращающий момент на нем равны или, в случае наличия входного редуктора между дизелем и гидротрансформатором, пропорциональны частоте вращения коленчатого вала дизеля и вращающему моменту на нем. Турбинное колесо соединяется с движущими колесами тепловоза посредством механических элементов — системы зубчатых колес и карданных валов. Следовательно, скорость движения и сила тяги тепловоза пропорциональны частоте вращения турбинного колеса и вращающему моменту на нем. Все три рабочих колеса имеют профилированные лопатки, т.е. лопатки, сечение которых имеет сложную гидродинамическую форму.
Лопатки рабочих колес размещаются так, что выходные кромки одних лопаток располагаются в непосредственной близости от

Рис. 15.3. Гидротрансформатор:
а — схема: 1 — насосное колесо; 2 — турбинное колесо; 3 — кожух, 4 — направляющий аппарат; 5 — ведущий вал, 6 — внешняя характеристика: пк, пт — частота вращения насосного и турбинного колес; МИ, Мт — момент вращения насосного и турбинного колес; МИ0б — момент вращения насосного колеса с обгонной муфтой, т)„ — КПД насосного колеса, т)^ — КПД гидротрансформатора
входных кромок других лопаток. Между кромками лопаток смежных колес предусматриваются зазоры, необходимые для обеспечения свободного вращения и теплового расширения.
Принцип действия гидротрансформатора аналогичен принципу действия гидромуфты. Насосное колесо закручивает жидкость, создавая в ней запас кинетической энергии вращательного движения. Турбинное колесо, благодаря соответствующему профилю его лопаток, раскручивает жидкость. Запас кинетической энергии потока жидкости используется для преодоления внешних сил сопротивления, приложенных к ведомому валу, а значит и к движущим осям тепловоза.
Наличие в круге циркуляции неподвижных лопаток направляющего аппарата придает гидротрансформатору свойство автоматически изменять вращающий момент на турбинном колесе в зависимости от частоты вращения последнего, т. е. от скорости движения тепловоза. Преобразующее свойство гидротрансформатора оценивается коэффициентом трансформации момента К= Мт/Мн. Для тепловозных трансформаторов значение Л" составляет 3 и более.
По конструктивным особенностям гидротрансформаторы подразделяются:
• на одноступенчатые и многоступенчатые, если в круге циркуляции имеется соответственно один или несколько рядов (ступеней) лопаток турбинного колеса;
• одноциркуляционные и многоциркуляционные, если в их состав входит соответственно один или несколько кругов циркуляции;
• простые и комплексные, если они не обладают или, наоборот, обладают свойством гидромуфты.
В отечественном тепловозостроении имеются примеры выполнения и применения всех названных выше конструктивных видов гидротрансформаторов. Наряду с разделением гидротрансформаторов по конструктивным особенностям существует разделение их по так называемому свойству прозрачности: непрозрачные и прозрачные. Под прозрачностью гидротрансформатора понимается его свойство оказывать влияние на режим нагрузки дизеля при изменении внешнего сопротивления движению поезда.
В непрозрачном гидротрансформаторе момент насосного колеса при постоянной частоте вращения не изменяется при всех значениях момента турбинного колеса и его частоте вращения. Это свидетельствует о том, что изменение внешней нагрузки не оказывает влияния на нагрузку дизеля. Если же момент насосного колеса изменяется с изменением момента турбинного колеса, то характеристика гидротрансформатора называется прозрачной.
В тепловозных гидропередачах применяют непрозрачные или близкие к ним гидротрансформаторы, так как они обеспечивают постоянный режим работы дизеля при изменении сопротивления движению поезда.
Из характеристики гидротрансформатора видно, что отдельно взятый гидротрансформатор не отвечает требованиям, предъявляемым к тепловозной передаче. Если при трогании и разгоне турбинного колеса КПД гидротрансформатора низкий, то этот недостаток окупается реализацией необходимых тяговых свойств. Такой режим составляет относительно небольшой период времени работы гидротрансформатора.
Режим высокой частоты вращения турбинного колеса, характеризуемый также низким КПД, неприемлем для длительной работы тепловоза, поэтому гидротрансформаторы применяются в качестве ступеней скорости гидропередачи. Скоростной диапазон работы каждой ступени определяется по передаточным отношениям гидротрансформатора, при которых его КПД не ниже 80%.
Комплексные гидротрансформаторы. Стремление реализовать положительные свойства гидротрансформатора и гидромуфты в одном гидроаппарате привело к созданию комплексных гидротрансформаторов. Комплексный гидротрансформатор представляет собой устройство, обеспечивающее автоматический переход с режима гидротрансформатора на режим гидромуфты и наоборот в зависимости от условий работы.
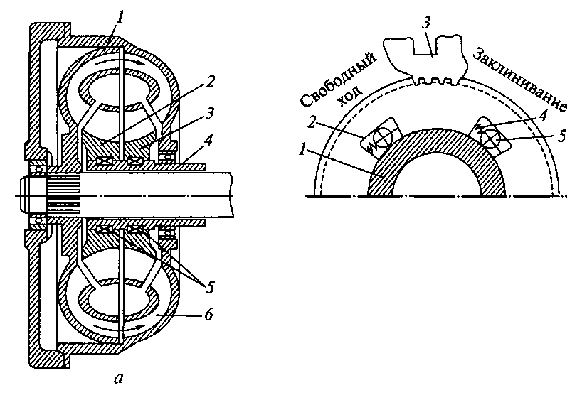
Особенностью конструкции комплексного гидротрансформатора (рис. 15.4) является то, что его направляющий аппарат, выполненный в виде одного или двух рядом стоящих лопастных колес, укрепляется на неподвижном валу с помощью муфт свободного хода, называемых автологами. Муфты свободного хода представляют собой различного рода храповой механизм. В тепловозных гидротрансформаторах применены роликовые муфты свободного хода. Неподвижная, жестко закрепленная внутренняя обойма охватывается наружной обоймой, которая жестко связана с направляющим аппаратом. Наружная обойма имеет пазы с наклонными плоскостями; между внутренней обоймой и наклонными плоскостями обоймы установлены ролики, которые поджимаются пружинами. В зависимости от изменения направления потока масла, прошедшего через турбинное колесо, и, следовательно, от того, с какой стороны лопатки направляющего аппарата давит поток масла, направляющий аппарат либо вращается, либо стоит на месте.
Полное заклинивание обеих ступеней направляющего аппарата происходит при работе гидротрансформатора с малыми передаточными отношениями (ят/ян, здесь пг и пИ — соответственно частота вращения турбинного и насосного колес), когда направление абсолютной скорости выхода жидкости из турбинного колеса таково, что обе ступени направляющего аппарата отжимаются потоком в сторону, противоположную направлению вращения турбинного колеса. Колеса направляющего аппарата заклиниваются роликами муфты свободного хода, тем самым обеспечивая режим работы гидротрансформатора.
Рис. 15.4. Комплексный гидротрансформатор:
а — схема гидротрансформатора: 1 — насосное колесо; 2, 3 — ступени направляющего аппарата; 4 — неподвижный вал; 5— автологи; 6 — турбинное колесо; 6 — схема автолога: 1 — внутренняя обойма; 2 — наружная обойма; 3 — лопатки направляющего аппарата; 4 — пружина; 5 — ролик
По мере увеличения передаточного отношения, что соответствует разгону тепловоза, изменяется направление абсолютной скорости выхода жидкости из турбинного колеса. При определенном передаточном отношении воздействие потока на лопатки направляющего аппарата совпадет с направлением его возможного вращения на муфтах свободного хода.
При дальнейшем увеличении передаточного отношения колесо направляющего аппарата первой ступени начинает вращаться в одну сторону вместе с турбиной, а гидротрансформатор переходит на работу с одной неподвижной ступенью направляющего аппарата. Этому режиму соответствует участок его характеристики, на котором КПД возрастает, а момент Мт изменяется более плавно.
При большом значении передаточного отношения направление скорости выхода жидкости из турбинного колеса совпадает с направлением выходных кромок лопаток второй ступени направляющего аппарата, муфта свободного хода расклинивается давлением потока, а колесо направляющего аппарата начинает вращаться вместе с турбинным колесом. Гидротрансформатор переходит на режим гидромуфты. На этом участке характеристики происходит дальнейшее увеличение КПД и снижение моментов Мт = = Мн с ростом передаточного отношения.
Таким образом, последовательное автоматическое расклинивание двух ступеней направляющего аппарата, установленных на муфтах свободного хода, позволяет реализовать в одном гидроаппарате три режима: два режима гидротрансформатора и режим гидромуфты. Каждому режиму соответствует определенный участок

характеристики. Как видно на характеристике, диапазон работы гидротрансформатора с высоким КПД за счет этого расширяется.
Комплексные гидротрансформаторы по сравнению с простыми имеют более сложную конструкцию. Надежность их в длительной эксплуатации снижается за счет трущихся элементов муфты свободного хода. В тепловозных гидропередачах комплексные гидротрансформаторы находят ограниченное применение.
Рабочие жидкости. Надежность и экономичность работы гидропередачи зависят от сорта и качества рабочей жидкости. Объемная масса жидкости влияет на размеры гидропередачи. Жидкости большей объемной массы позволяют создавать гидропередачи меньшего размера и массы. В гидравлических передачах в качестве рабочей жидкости может служить турбинное, веретенное масло или их смесь, которая одновременно является смазкой для трущихся частей. Минеральное масло, применяемое в качестве рабочей жидкости для тепловозных гидропередач, должно удовлетворять следующим требованиям.
1. Масло должно иметь определенную вязкость, при которой достигаются наименьшие потери и необходимые смазочные свойства. В градусах по шкале условной вязкости при температуре 50 "С масло должно иметь 2... 3 °ВУ. Вязкость масла характеризуется также кинематическим коэффициентом вязкости, измеряемым в сто-ксах (1 см2/с). В качестве основной характеристики в ГОСТах его обычно указывают в сантистоксах (сотая доля стокса или 10~2 см2/с). Вязкость зависит от температуры. Существуют формулы и таблицы для пересчета градусов условной вязкости (°ВУ,) в единицы кинематической вязкости при различной температуре.
2. Температура замерзания масла должна быть возможно более низкой, а температура вспышки ее паров — возможно более высокой. Для тепловозных гидропередач рекомендуется масло с температурой вспышки не ниже +160 ° С. Вязкость масла в интервалах крайних состояний не должна резко изменяться.
3. Масло должно быть химически чистым и однородным. Не допускается наличие в масле кислот и щелочей, так как они способствуют его разложению и вызывают коррозию деталей. В масле не должно содержаться мылообразующих жиров, которые служат причиной устойчивого пенообразования, а значит и снижения передаваемой мощности. Для борьбы с пенообразованием в масло вводят специальные жидкости, точно так же для предотвращения кислотности к маслу добавляют антиокислители.
4. Масло должно быть механически чистым и однородным. Содержание асфальтовых и смолистых веществ в масле нежелательно, так как они при высоких температурах выделяются и оседают на стенках трубопроводов, тем самым нарушая нормальную работу гидравлических элементов автоматики. Механические примеси в масле вызывают засорение отверстий в органах управления и
интенсивное изнашивание подшипников. Поэтому в гидропередачу подают масло, прошедшее через фильтры.










