11.6. Одноякорный преобразователь
В конструктивном отношении одноякорный преобразователь представляет собой электрическую машину постоянного тока, снабженную контактными кольцами, помещенными на валу со стороны, противоположной коллектору. Питание обмотки возбуждения одноякорного преобразователя постоянным током производится со стороны коллектора так же, как в машинах постоянного тока с параллельным возбуждением. В обмотке якоря протекает переменный ток. Если соединить обмотку якоря с контактными кольцами, как показано на рис. 11.9, то на них получается напряжение переменного тока. Такая электрическая машина и называется одноякорным преобразователем.
Одноякорный преобразователь обычно используется для преобразования переменного тока в постоянный. При этом по отношению к сети переменного тока он работает как синхронный двига-

а
Рис. 11.9. Принцип устройства (а) и схема (б) обыкновенного одно-якорного преобразователя:
/V, 5 — полюса магнита; II — напряжение постоянного тока; II--напряжение
переменного тока; /в — ток возбуждения; ОБ — обмотка возбуждения; А,
В, С — фазы; Я — якорь

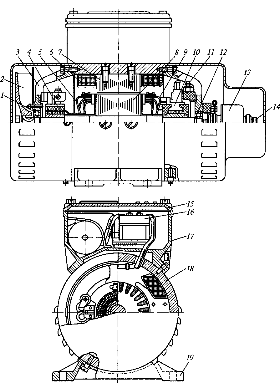
Рис. 11.10. Преобразователь ПО300В:
1, 12 — подшипники; 2 — вентилятор; 3 — щит подшипниковый; 4 — контактные кольца; 5 — якорная обмотка переменного тока; 6 — катушка полюса; 7 — сердечник главного полюса; 8 — сердечник якоря; 9 — якорная обмотка постоянного тока; 10 — коллектор; 11 — щеткодержатель; 13 — регулятор центробежный; 14— вал; 15— крышка; 16— коробка выводов; 17' — коробка фильтра; 18 —
станина; 19 — лапа
тель, а по отношению к сети постоянного тока — как генератор постоянного тока. Эта машина может также преобразовывать постоянный ток в переменный.
Одноякорный преобразователь ПО300В, предназначенный для питания радиостанции, представлен на рис. П. 10.
Преобразователь ПО300В защищенного исполнения имеет магнитную систему, общую для постоянного и переменного тока. Два главных полюса этой системы состоят из сердечника 7 и обмотки 6 последовательного и параллельного возбуждения.
Якорная обмотка постоянного тока 9 независима от обмотки переменного тока 5. Эти обмотки заложены в одни и те же пазы сердечника якоря 8 и выведены соответственно к коллектору 10 и контактным кольцам 4. Коллектор и контактные кольца расположены с разных сторон сердечника якоря. Вентиляция преобразователя осуществляется центробежным вентилятором 2, расположенным за подшипниковым щитом 3. Подшипниковые щиты имеют гнезда для установки подшипников 1, 12. На подшипниковом щите установлена траверса со щеткодержателями 11. Для крепления одно-якорного преобразователя снизу к станине 18 приварены лапы 19. Сверху к станине крепится коробка фильтра 77, в которой расположена коробка выводов 16. Коробка фильтра закрыта крышкой 15.
Для поддержания постоянной частоты вращения преобразователя при колебаниях нагрузки и напряжения питающей сети, на конец вала 14 преобразователя насажен центробежный регулятор частоты вращения 13.
На опытной партии тепловозов 2ТЭ116 для питания кондиционера применяется преобразователь АПТ-5-50 брызгозащищенного исполнения, преобразовывающий постоянный ток в трехфазный переменный. В состав преобразователя входят:
• двухмашинный агрегат, состоящий из электродвигателя постоянного тока и генератора переменного тока, выполненных в одном корпусе;
• пускорегулирующая аппаратура, состоящая из блока регулирования БР-5, блока сопротивлений БС-1/13 и пускателя ПП3343.
Пускорегулирующая аппаратура обеспечивает пуск, остановку и защиту электродвигателя от перегрузок; стабилизацию напряжения и частоты на выходе преобразователя.










