9.3. Приводы вентиляторов
Приводы вентиляторов холодильных камер (рис. 9.15) являются исполнительными элементами системы автоматического регулирования температурного режима дизеля. В процессе ведения поезда различные нагрузки на дизель требуют постоянного изменения интенсивности работы вентилятора для поддержания определенной температуры охлаждающих дизель жидкостей.

Рис. 9.15. Схемы привода вентилятора холодильника:
а — механический (тепловоз ТЭЗ); б — гидродинамический (тепловоз 2ТЭ10В); /— вал дизеля; II — приводной вал; ///, IV— промежуточный вал; V— горизонтальный вал углового редуктора; VI — полый вал с конической шестерней; VII — вертикальный вал углового редуктора (УР); VIII— карданный вал; IX— вал вентиляторного колеса; 1, 2, 7, 8, 9 — муфты; 3—6— зубчатые колеса распределительного редуктора (РР); 10, 11 — конические зубчатые колеса углового редуктора; 12, 13 — фрикционная муфта (ФМ); 14 — пневматический включатель фрикционной муфты; ПО — промежуточная опора; ПП — подпятник вентиляторного колеса; X — вал насосного колеса гидромуфты (ГМ); XI — вал турбинного колеса гидромуфты переменного наполнения
На ранее выпущенных тепловозах регулировать интенсивность работы вентилятора с механическим приводом можно было с помощью фрикционной муфты, причем в режимах «вентилятор включен» — «вентилятор выключен» и изменением вручную передаточного числа в редукторе. С увеличением секционной мощности тепловозов регулирование частоты вращения вентилятора, т. е. интенсивности охлаждения жидкостей, осуществляется наполнением гидромуфты привода вентилятора. Такие системы применяют на тепловозах типа 2ТЭ10. Степень наполнения круга циркуляции гидромуфты регулируется двумя поворотными черпачковыми трубками, с помощью которых изменяется наполнение маслом круга циркуляции.
Если черпачковые трубки сведены (на схеме их нет) к оси, то гидромуфта обеспечивает максимальную частоту вращения вентилятора — идет интенсивное охлаждение жидкостей. Если черпачковые трубки разворачиваются и сопла вводятся в круг циркуляции, то происходит интенсивный отсос масла из круга циркуляции, интенсивность вращения вентилятора падает.
Гидростатический привод (рис. 9.16) вентилятора холодильника с плавным регулированием его частоты вращения применяется

Рис. 9.16. Схема гидростатического привода вентилятора холодильника
тепловоза ТЭП70:
1 — бак; 2, 8 — манометры; 3, 5 — вентиляторные колеса; 4, 6 — гидромоторы (аксиально-поршневые); 7, 14 — терморегуляторы; 9, 12 — аксиально-поршневые насосы; 10 — вал дизеля; 11 — мультипликатор; 13 — фильтр магнитный; 15 — секция радиатора; 16 — фильтр
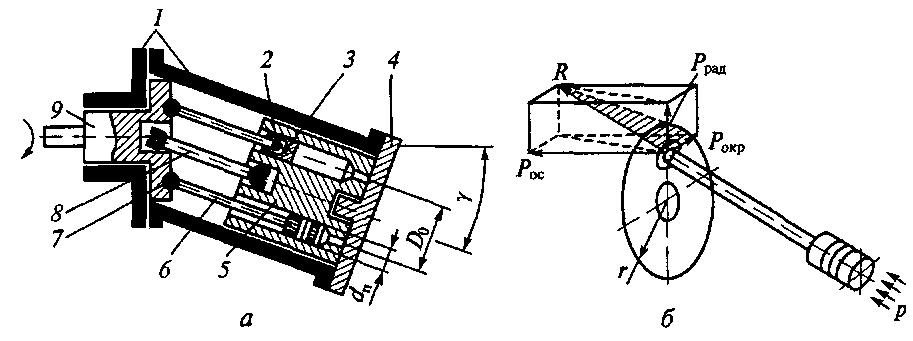
Рис. 9.17. Аксиально-поршневая гидромашина:
а — схема гидронасоса; б — схема передачи от поршня к валу гидромотора; 1 — корпус; 2 — шарнир; 3 — поршень (плунжер); 4 — крышка; 5 — блок цилиндров; 6 — шток; 7 — сферические шарниры; 8 — карданный валик; 9 — ведущий вал; у — угол между осями ведущего вала и вращения блока цилиндров; Д*, Я^, — осевая, радиальная и окружная составляющие силы, с которой масло действует на поршень гидромотора; К — результирующая сила; р — давление масла; </„ — диаметр поршня; £>0 — диаметр окружности, по которой расположены поршни
на тепловозах ТЭП60, ТГ16, ТЭП70 и дизель-поездах ДР1, ДР2. Мощность от дизеля к вентиляторам передается аксиально-поршневыми гидромашинами типа МН-250/100 (рис. 9.17, а). Каждый вентилятор оснащается гидродвигателем, а гидродвигатель получает энергию статического давления жидкости (турбинное масло) от гидронасоса. Гидродвигатель и гидронасос — взаимозаменяемы.
Ведущий вал и блок цилиндров вращаются совместно в корпусе; механическая энергия от ведущего вала передается поршням через сферические шарниры и штоки. Поршни за один оборот блока совершают ход всасывания и нагнетания. Турбинное масло подводится к цилиндрам и отводится от них через специальный торцовый распределитель и крышку. Подача аксиально-поршневых наносов сравнительно небольшая, однако развиваемые давления достигают 10... 12 МПа.
Из схемы на рис. 9.17, б видно, что давление р, воспринимаемое поршнем от турбинного масла, передается через шток на сферический шарнир, к которому приложена результирующая сила Л, дающая составляющие: осевую ДзС, радиальную /?рад и окружную /?оКр, образующую на плече г вращающий момент, передаваемый вентиляторному колесу.
Интенсивность вращения вентиляторного колеса зависит от температуры контролируемой жидкости. Вентилятор не вращается, если температура жидкости низкая, терморегулятор открыт и турбинное масло стекает в охладитель, фильтр и бак, не поступая к двигателю. С повышением температуры охлаждающей жидкости терморегулятор перекрывает слив турбинного масла, которое на-


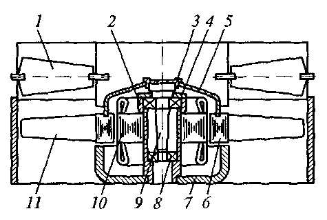
Рис. 9.18. Мотор-вентилятор переменного тока тепловоза 2ТЭ116:
/ — радиально-поворотные жалюзи; 2 — корпус статора; 3 ~ ступица; 4, 8 — подшипники ротора; 5 — крышка ротора; 6 — железо ротора; 7 — станина; 9 — вал ротора; 10 — железо статора; 11 — лопасти вентилятора
чинает поступать к двигателю, раскручивая колесо вентилятора. Такая система обеспечивает высокую точность температурного режима дизеля независимо от его загрузки. К недостаткам этой системы следует отнести высокую стоимость и сложность ремонта.
Электрический привод вентилятора имеет простую принципиальную схему и может применяться на постоянном и переменном токе. Применение электрического привода облегчает размещение охлаждающих устройств и исключает необходимость установки громоздкой системы валов и редукторов. Система электропривода легче автоматизируется. На рис. 9.18 представлен мотор-вентилятор, применяемый на тепловозах 2ТЭ116.
Основой конструкции мотор-вентилятора является обращенный асинхронный электродвигатель. Статор его свернут в виде цилиндра с обмоткой на внешней поверхности, а короткозамкну-тый ротор выполнен в виде кольца, охватывающего статор.
Статор неподвижен и укреплен в станине. В станине на подшипниках установлен вал ротора. Ротор укреплен на валу при помощи ступицы и крышки полусферической формы. Лопасти вентилятора укреплены непосредственно на внешней поверхности ротора. Мотор-вентилятор тепловоза устанавливается вместе с системой радиальных поворотных жалюзи, которые управляются пневматически сервоприводом.
При проведении ТО-3 и ТР-1 все редукторы тепловозов осматривают и проверяют их крепление. Устраняют течи масла, подтягивают ослабленные крепления. Осматривают шлицевые и карданные соединения, состояние и крепление промежуточных опор, муфт.
Проверяют состояние гидромуфты вентилятора холодильника дизеля 10Д100, терморегулятора и серводвигателя, гидропривода вентилятора дизеля 11Д45 и 5Д49 (ТЭП70).
При проведении ТР-2 снимают и ремонтируют распределительные редукторы, редукторы вентиляторов холодильника.
При проведении ТР-3 и КР все редукторы, муфты, карданные валы и промежуточные опоры, гидроприводы демонтируют с тепловоза для ремонта. Карданные и соединительные валы, муфты приводов, промежуточные опоры, вентиляторы и другие агрегаты и сборочные единицы снимают, разбирают, детали очищают,
осматривают, ремонтируют. При сборке проверяют соосность валов с помощью приспособлений и измерительных приборов.
Контрольные вопросы
1. Для чего предназначено масло дизеля?
2. В чем отличие внутренней и внешней масляных систем дизеля?
3. Каковы основные неисправности масляного насоса?
4. Какие существуют способы очистки масла дизеля?
5. Как классифицируются водяные системы тепловозов?
6. В чем преимущества и недостатки открытых и закрытых водяных систем охлаждения?
7. На чем основана технология промывки секций холодильника методом пневмогидроудара?
8. Какие типы приводов вентиляторов вы знаете?
9. Как устроен гидростатический привод вентиляторов охлаждения воды и масла дизеля?
10. В чем сущность ТО приводов вентиляторов различных систем?










