7.2. Поддизельная рама и блок цилиндров
Рама дизеля (рис. 7.1) служит для установки на ней дизеля и генератора, соединенных муфтой. На раме также крепят отдельные сборочные единицы вспомогательного оборудования.
Рамы дизелей типа Д100, Д40, Д49 сварены из горизонтальных и вертикальных листов, усиленных ребрами жесткости. Снизу к рамам приварены поддоны, образующие емкости для масел, закрытые стенками. Сюда же сливается масло после смазывания подшипников и охлаждения поршней дизеля. На верхние листы рам устанавливаются на болтах блоки дизелей и генераторы. Поддизельная рама устанавливается на главную раму тепловоза и крепится к ней болтами. К настильному листу рамы тепловоза привариваются упоры, предохраняющие поддизельную раму от продольных и поперечных перемещений.
Коллектор в поддоне служит каналом для подвода масла к масляному насосу; уровень масла в нем проверяется рейкой. По конструкции рамы дизелей типов Д49 и Д40 аналогичны раме дизеля 10Д100.
Блоки цилиндров разделяются на мокрые и сухие. В мокрых блоках между втулкой и стенками блока течет охлаждающая вода.

Рис. 7.1. Рама дизеля:
1,3 — отверстия для забора масла насосами; 2, 4— отверстия для слива масла из фильтра тонкой очистки и вспомогательных агрегатов; 5 — верхний лист для установки блока дизеля; 6 — сетка; 7 — трубка масломерной рейки; 8 — горловина заливки масла; 9 — опора для пружин; 10, 12 — соответственно отверстие и труба подачи воды к воздухоохладителям; 11 — платик установки рамы; 13 — поддон (маслосборник) рамы; 14 — место забора масла маслопрокачивающим
агрегатом
Охлаждение втулок в сухих блоках (рис. 7.2) осуществляется водой между втулкой и рубашкой, напрессованной на втулку. В мокрых блоках наблюдаются кавитационные разрушения стенок блока и уплотнительных колец втулок. В сухих и мокрых блоках цилиндров в процессе эксплуатации появляются трещины, свищи, вытяжка шпилек и болтов крепления подвесок коренных подшипников (рис. 7.3) коленчатого вала.
Трещины в блоке могут появляться вследствие гидроударов при пуске дизеля и от сильной затяжки цилиндровых крышек, превышающей нормы, установленные заводом.
При обнаружении в блоке трещин, свищей и других дефектов их устраняют в зависимости от величины и расположения различными способами: постановкой ввертышей, накладок, заделкой эпоксидной мастикой.
Отклонения от прямолинейности или плоскостности опорных платиков поддизельной рамы устраняются шлифованием или шабрением.
Соосность постелей под вкладыши коренных подшипников восстанавливается расточкой всех постелей в сборке с крышками

Рис. 7.2. Блок цилиндров дизеля 2А-5Д49 (сухой):
1 — корпус; 2 — передний лист блока; 3 — средняя плита; 4 — проставочная втулка; 5 — шпилька крепления лотка; 6 — верхняя плита; 7 — шпилька крепления цилиндровых крышек; 8 — проставка для подвода воздуха к впускным клапанам; 9 — верхний лист блока цилиндров; 10 — водяной коллектор; 11 — предохранительный клапан; 12 — крышка люка картера; 13 — стойка блока; 14 — втулки из нержавеющей стали для перепуска воды из коллекторов к рубашкам цилиндров; 15, 16 — вкладыши коренных подшипников; 17 — подвеска; 18 — болт; а, б, в — маслоподводящие каналы; г — воздушный коллектор; д — отверстие для перепуска воды из крышки в охлаждающую полость цилиндра; е — фиксирующие зубцы стыка подвески

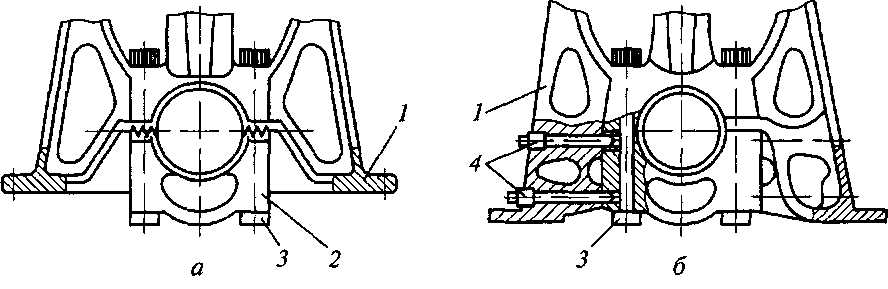
Рис. 7.3. Варианты соединения подвесок подшипников со стойками
а — с зубчатым стыком; б — с плоским стыком; / — стойка дизеля; 2 — подвеска; 3, 4 — болты крепления
под больший размер подшипников; при незначительных местных отклонениях допускается исправление шабрением или наращиванием металла.
В процессе текущих ремонтов проверяют крепление болтов и шпилек, визуальным осмотром выявляют трещины в блоке цилиндров, поддизельной раме и картере. При заводских ремонтах эти сборочные единицы дизеля после обмывки и очистки подвергают дефектоскопии с целью обнаружения трещин. Обнаруженные трещины заваривают по специально разработанной технологии.
Цилиндровые втулки (гильзы) служат в качестве направляющих для перемещения поршней, а также образуют рабочий объем, в котором происходит рабочий цикл ДВС. Применение вставных втулок (гильз) позволяет увеличить срок службы блока цилиндров путем замены изношенных втулок, а также изготовлением втулок из высококачественного износостойкого чугуна или стали.
Во время работы двигателя стенки втулок находятся под воздействием давления газов, а также боковых сил трения, возникающих при движении поршня. Кроме того, втулки нагреваются горячими газами также от трения поршня и поршневых колец о стенки. Высокая температура втулок недопустима, так как при этом ухудшается наполнение цилиндра свежим зарядом и снижается мощность двигателя, кроме того при высоком нагреве стенок втулки нарушаются условия смазки, что может быть причиной «прихватывания» поршня в цилиндре. Перечисленные условия требуют при установке цилиндровой втулки в блоке цилиндров обеспечения возможно большей жесткости и хорошего ее охлаждения.
Основными неисправностями цилиндровых втулок являются: износ рабочих поверхностей, нарушение плотности посадочных мест, задиры зеркала цилиндра, заклинивание поршня в цилиндре, пробой газов в воду через трещины, течь воды из системы охлаждения через поврежденные уплотнения.
В процессе ремонта особое внимание обращают на состояние рабочих поверхностей зеркала втулки. При обнаружении рисок и натиров на зеркале втулки ее зачищают на месте наждачным полотном с мелким зерном поперек оси втулки, а затем полируют войлочным кругом, предварительно вынув поршни. Зачищенное место обезжиривают бензином или ацетоном, затем протравливают 25 %-ным раствором азотной кислоты, промывают водой и нейтрализуют 10... 15 %-ным раствором каустической соды, после чего смазывают маслом. Работники, выполняющие эти работы, должны быть защищены от поражения химикатами.
Окна втулок двухтактных дизелей очищают от нагара с помощью металлических скребков, шаберов и протирают салфеткой, после чего проверяют крепление втулок цилиндра к блоку дизеля. Такие работы выполняют при ТР-1.
На дизелях с подвесными втулками (Д40, Д45, Д49) их извлекают из блока при демонтаже цилиндровых крышек в комплекте, после чего осматривают и обмеряют. Обмер втулок осуществляют по нескольким поясам по двум взаимно перпендикулярным направлениям специальным индикаторным нутромером с целью определения овальности и конусности рабочей поверхности. Если износ втулки превышает установленные нормы, то ее извлекают из блока с целью восстановления или замены. Втулки вынимают в случаях обнаружения задиров, глубоких рисок и подплавления металла на рабочей поверхности, трещин во втулке или в рубашке, течи масла или воды по уплотнениям посадочных мест, среза резьбы адаптерных отверстий или износа шпилек рубашки для водяных переходников (дизель 10Д100).
При текущем ремонте ТР-3 все втулки из блока цилиндров извлекают, осматривают и обмеряют, после чего подвергают ремонту.
При заводском ремонте все цилиндровые втулки заменяют независимо от состояния.










