4.6. Цилиндрические детали, движущиеся возвратно-поступательно
К цилиндрическим деталям, движущимся возвратно-поступательно, относятся пары: поршень — цилиндр, клапан и его направляющая, шток и его направляющая, плунжер и гильза, игла
и корпус распылителя и т.п. Соединения этого типа условно подразделены на три группы:
1) прецизионные пары, у которых зазор в сопряжении не превышает 0,01 мм, например гильза — плунжер топливного насоса, игла — корпус распылителя форсунки и т.п.;
2) пары, зазор между движущимися деталями которых превышает 0,01 мм, например клапан и его направляющая в цилиндровой крышке, поршень — цилиндр сервомотора или масляного аккумулятора регулятора частоты вращения, корпус — толкатель топливного насоса;
3) пары, у которых поршень, движущийся в цилиндре, имеет уплотняющие кольца или манжету, например поршень и цилиндр дизеля или компрессора, поршень — тормозной цилиндр и др. Детали этой группы (поршни) чаще всего подлежат замене (не восстанавливаются).
Восстановление работоспособности пар первой группы. Нормальный зазор между деталями прецизионных пар восстанавливают перекомплектовкой деталей, заменой одной из деталей новой и электролитическим наращиванием одной из деталей (обычно охватываемой). Из перечисленных способов наиболее прост способ перекомплектовки, так как он не требует сложного оборудования и поэтому чаще применяется в условиях депо. На ремонтных заводах или в специализированных мастерских, имеющих большой ремонтный фонд деталей и соответствующее оборудование, целесообразнее пользоваться другими способами.
Способ перекомплектовки заключается в том, что изношенные детали различных пар после соответствующей сортировки и доводки спариваются заново. Технологический процесс состоит из следующих операций: отбора и сортировки деталей, доводки при надобности прецизионных поверхностей, спаривания деталей, обкатки спаренных пар.
При отборе и сортировке деталей все пары ремонтного фонда, т. е. пары с низкой плотностью, разукомплектовывают. Детали, негодные по внешнему состоянию, отбраковывают, а годные сортируют по диаметрам с разницей 0,002 мм.
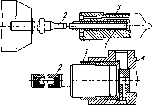
При доводке прецизионных поверхностей производят удаление с трущихся поверхностей незначительных натиров, рисок и местных потемнений. Для доводочных работ используют притиры и различные абразивные пасты. Охватываемую деталь — иглу распылителя, буксу регулятора и т. п. (рис. 4.15) — зажимают в патроне станка, на прецизионную поверхность наносят тонкий слой доводочной пасты. Притир 1 с оправкой 2 надевают на деталь. Чтобы обеспечить густую сетку пересечений абразивных частиц, притир перемещают вдоль и вокруг детали. По мере износа притира постепенно зажимают болт 3 так, чтобы притир перемещался вдоль детали без качки.

Рис. 4.15. Притиры для доводки поверхностей охватываемых деталей:
1 — притир; 2 — оправка; 3 — зажимной болт; 4 — игла распылителя форсунки; 5 — букса регулятора частоты вращения
Прецизионную поверхность охватывающей детали (гильзы, корпуса сервомотора регулятора, корпуса распылителя) доводят другим притиром (рис. 4.16). В патроне станка зажимают конец оправки притира. По мере износа притир разжимают, слегка ударяя по его торцу. С этой целью оправка 2 сделана конусной, а сам притир 1 разрезным. Разжимают притир настолько, чтобы деталь могла свободно перемещаться по нему. Доводочные работы с применением паст заканчивают после удаления с прецизионных поверхностей заметных на глаз дефектов. После этого доводку продолжают на чистом масле.
Перед спариванием детали подбирают так, чтобы обхватываемая деталь входила в отверстие обхватывающей детали на 1/5—2/5 своей длины. Для спаривания обхватываемую деталь (плунжер, иглу и т. п.) зажимают в патроне станка, а обхватывающую укрепляют в оправке. После пуска станка на поверхность обхватываемой детали наносят тонкий слой пасты; обхватывающую деталь постепенно надвигают на обхватываемую. Работа, связанная со спариванием деталей, требует от исполнителя большого терпения. Малейшая поспешность может свести на нет многочасовую работу, особенно в конце процесса спаривания, когда обхватывающая деталь уже полностью заходит на обхватываемую, но еще несколько заедает. С этого момента следует работать на старой пасте, имеющейся на поверхностях деталей, или применять более мелкую пасту (микропасту), а затем продолжать процесс на чистом масле. Спаривание деталей считается законченным, когда обхватываемая деталь, вынутая на 1/3 из обхватывающей, наклоненной к горизонту под углом 45°, будет плавно опускаться при любом повороте вокруг оси.
Окончательно детали спаренной пары доводят обкаткой на стенде в течение 30...40 мин. Качество выполненной работы проверяют интегральным методом.
Рис. 4.16. Притиры для доводки поверхностей обхватывающих деталей:
1 — притир; 2 — оправка; 3 — корпус распылителя форсунки; 4 — корпус сервомотора регулятора частоты вращения

Восстановление работоспособности пар второй группы. Пары этой группы ремонтируют теми же способами, что и прецизионные, но чаще прибегают к замене одной из деталей новой, к наращиванию изношенной поверхности одной из деталей хромированием или осталиванием, а в отдельных случаях к постановке дополнительной детали в отверстие охватывающей детали.
Процесс восстановления состоит из следующих операций:
1) доводки отверстия обхватывающей детали;
2) подгонки охватываемой детали;
3) спаривания деталей.
Цель первой операции — восстановление цилиндрической формы и устранение мелких повреждений (натиров, рисок и т. п.) с поверхности отверстия. В зависимости от размера и технологичности детали цилиндрическую форму восстанавливают станочной обработкой (шлифованием, хонингованием) или притирами. Там, где у обхватывающей детали имеются два отверстия с общей осью, например в корпусах сервомотора регулятора частоты вращения или толкателя топливного насоса, должны быть выдержаны требования по соосности отверстий. Незначительные натиры, риски и т. п. удаляют с отдельных участков трущихся поверхностей вручную мелким наждачным или алмазным камнем, шкуркой или притирочными пастами, нанесенными на войлок, с последующей полировкой. Зачищать и полировать поврежденные участки предпочтительнее перпендикулярно направлению движения охватываемой детали. Такая обработка способствует удержанию смазки и ускоряет процесс приработки трущихся пар.
Задачей второй операции является пригонка новой, восстановленной или запасной детали по отверстию обхватывающей детали с таким расчетом, чтобы обеспечить наименьший допускаемый зазор между ними. Детали, поставляемые в запас, такие, как поршни сервомотора, золотниковые втулки или буксы регулятора частоты вращения и т.п., делаются с некоторым припуском по диаметру. Чтобы обеспечить соосность деталей, станочную обработку трущихся поверхностей двух охватываемых деталей, смон-
тированных на одной оси, ведут с одной установки и только после закрепления их на оси.
Третья, окончательная, операция — доводка поверхностей притирами и спаривание деталей ведется с таким расчетом, чтобы обеспечить минимально допускаемый зазор между деталями и сделать трущиеся поверхности ровными и чистыми, без заметных на глаз рисок. Детали после спаривания должны перемещаться свободно, без заметных задержек.
Доводочные притиры и пасты. Притиры для доводочных работ изготовляют из перлитного чугуна, бронзы или латуни в виде разрезных колец или втулок. Перечисленные материалы обладают высокой износоустойчивостью и шаржирующей способностью. Твердость притиров НВ 190...203.
Пасты, применяемые для доводочных работ, подразделяют на пасты механического и химико-механического действия. В состав паст механического действия входят обычно порошки из твердых абразивов (корунд, карбид кремния, карбид бора, синтетический алмазный порошок и т. п.). Основными составляющими паст химико-механического действия являются мягкие абразивы — окись хрома или алюминия.










