1.4. Экипажная часть тепловоза
К экипажной части тепловоза относятся кузов, главная рама, автосцепное устройство, тележки, рессорное подвешивание и др.
Кузов. Кузова тепловозов разделяются по способу восприятия нагрузки на два типа: с несущей рамой и съемным кузовом; цельно-несущие, у которых рама и кузов представляют собой единую сварную конструкцию, обеспечивая высокую жесткость и снижение массы кузова на 20... 25 % при одинаковой мощности силовой установки.
Магистральные тепловозы серий ТЭП60, ТЭП70 и др. имеют цельнонесущий кузов, который представляет собой сложную про-

Рис. 1.4. Кузов тепловоза 2ТЭ116:
1 — главная рама; 2 — кабина машиниста; 3 — аппаратная камера; 4, 5, 6, 8, 10 — съемные секции; 7 — кузов дизельного помещения; 9 — холодильная камера
странственную систему, образованную из продольных и поперечных балок, тонкостенных стержней и обшивки. Для возможности выемки дизеля и других агрегатов в средней части крыши кузова сделан большой вырез, закрываемый съемным каркасом. В обшивочном листе кузова имеется ряд вырезов для установки вентиляторов, фильтров и размещения окон.
На других маневровых и поездных тепловозах применяются кузова с несущей рамой и съемным кузовом (рис. 1.4). Съемный кузов может быть вагонного или капотного типа. При использовании кузова вагонного типа локомотивная бригада имеет доступ к силовому оборудованию во время движения без выхода из кузова, что улучшает условия работы бригады; кроме того, кузов вагонного типа имеет хорошую аэродинамику. Поэтому кузовами вагонного типа оборудуются поездные локомотивы. Кузов капотного типа боковыми стенками и крышей закрывает лишь силовые агрегаты, что обеспечивает хороший обзор пути из кабины машиниста. Локомотивы с таким типом кузова используются в основном для маневровой работы.
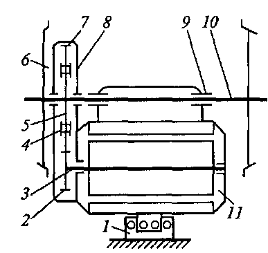
Главная рама. Она является основанием для размещения силовой установки и вспомогательного оборудования, а также передает продольные тяговые усилия от ведущих осей к составу. Основными силовыми элементами главной рамы (рис. 1.5) являются хребтовые двутавровые балки высотой 450 мм, верхняя и нижняя полки которых усилены приваренными полосами. Горизонтальные настильные листы толщиной от 4 до 14 мм имеют вырезы для монтажа оборудования. В средней части рамы расположен поддон для установки дизель-генератора. Наружный контур рамы имеет обносные швеллеры, к которым крепится кузов. Концы хребтовых балок связаны при помощи стяжных ящиков, отлитых из специальной стали. В них размещены фрикционные аппараты ударно-тяговых средств. К нижнему листу рамы приварены усиливающие

Рис. 1.5. Главная рама тепловоза:
1, 5 — стяжные ящики; 2, 4 — шкворни; 3 — ферма, усиливающая главную раму; 6 — желоб с крышкой для кабеля; 7 — хребтовая балка; 8 — стальная полоса усиления балки; 9 — крышка шкафа аккумуляторной батареи; 10 — стальное кольцо шкворня; 11 — специальный лист для установки верхней части опорно-возвращающего устройства
полосы толщиной 20 мм, а к ним — шкворни (передний и задний), которые передают только горизонтальные усилия и не воспринимают вертикальных нагрузок. Вертикальные нагрузки от рамы на тележки передаются через восемь шаровых опор (по четыре опоры на каждую тележку). Для подъема рамы при ремонтах в передней и задней частях ее размещены специальные кронштейны.
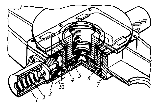
Автосцепное устройство. Оно состоит из корпуса автосцепки 1 (рис. 1.6, а), расцепного привода, ударно-центрирующего прибора, тягового хомута с упорной плитой и поглощающего аппарата, расположенного в хомуте между его задней стенкой и упорной плитой.
Голова автосцепки подвешена на балочке 8 с помощью двух маятниковых подвесок 9, вторые концы которых укреплены шар-нирно в ударной розетке 10. Подвеска, балочка и ударная розетка представляют собой центрирующий прибор, который служит для автоматического центрирования автосцепки относительно продольной оси локомотива.
Автосцепной механизм состоит из замка 1 (рис. 1.6, б), замко-держателя 7, предохранителя замка 17, подъемника 12 и его валика 20. Замок, служащий для запирания двух сомкнутых автосцепок, вместе с собранным механизмом установлен в вертикальном положении в полости головки и, на своей нижней радиальной опоре 5 может поворачиваться вдоль полости вокруг зуба 6 замка. Под действием собственного веса замок своей замыкающей частью стремится выйти наружу из полости. На шип 2 замка навешен двуплечий предохранитель (собачка) 7 7 замка. Замкодержатель 7,

в
Рис. 1.6. Автосцепка СА-3:
а — автосцепное устройство: 1 — розетка; 2 — маятниковый болт; 3 — стяжной ящик; 4 — фрикционный аппарат; 5 — тяговый хомут; 6 — планка; 7 — упорная плита; 8 — клин; 9 — центрирующая балочка; 10 — автосцепка; б — элементы конструкции автосцепного механизма: 1 — замок; 2 — шип; 3, 21 — отверстия; 4 — сигнальный отросток; 5 — радиальная опора; 6 — зуб замка; 7 — замкодер-жатель; 8 — противовес; 9 — выступ; 10 — лапа; 11 — овальное Отверстие; 12 — подъемник; 13 — квадратное отверстие; 14 — узкий палец; 15 — широкий палец; 16— болт; 17— предохранитель замка; 18— нижнее плечо; 19— верхнее плечо; 20 — валик подъемника; 22 — выемка; 23 — стержень; 24 — балансир; в — расцепной привод: 1 — корпус автосцепки; 2 — замкодержатель; 3 — замок; 4 — балансир валика подъемника; 5 — цепь; 6 — рычаг расцепной; 7 — упор; 8 — балочка; 9 — маятниковая подвеска; 10 — ударная розетка; 11 — малый зуб;
12 — большой зуб
предназначенный для удержания замка в сцепленном и расцепленном положениях, навешивается овальным отверстием 11 на шип в полости автосцепки. Рядом с замком расположен подъемник 12, надетый на квадратный хвостовик валика 20 подъемника. Валик располагается в отверстии автосцепки и проходит через отверстие 3 замка. Балансир 24 валика подъемника остается снаружи корпуса автосцепки. Балансир соединен с цепью расцепного привода. От выпадания из корпуса автосцепки валик удерживается выемкой 22, в которую заходит тело болта 16, установленного в приливе корпуса автосцепки.
Расцепной привод (рис. 1.6, в), служащий для расцепления автосцепок и установки механизма в выключенное положение, состоит из двуплечего рычага 6, расположенного на буферном брусе тепловоза и удерживаемого специальными кронштейнами, и цепи 5, соединяющей рычаг с балансиром 4 валика подъемника. На маневровых тепловозах расцепной привод оборудуется пневмоцилинд-ром с дистанционным управлением из кабины машиниста.
Тележки. В зависимости от устройства ходовой части тепловозы делятся на две группы. В первую входят тепловозы, у которых ведущие колесные пары размещены непосредственно на раме. Такая конструкция применяется только на тепловозах малой мощности, имеющих небольшое количество ведущих колесных пар (тепловозы ТГМ1, ТГМ23). Группировка колесных пар в жесткой раме ведет к увеличению базы тепловоза, а это усложняет управление локомотивом на кривых участках пути.
Вторую группу составляют тепловозы с тележечной экипажной частью. Наличие тележек улучшает условия движения локомотива на кривых участках и обеспечивает высокие скорости движения. Такая ходовая часть применяется на большинстве магистральных и маневровых тепловозов. Конструкция тележки определяется числом колесных пар, способом подвешивания тяговых электродвигателей, системой рессорного подвешивания, устройствами связи колесных пар с рамой тележки, а также устройствами соединения тележки с главной рамой.
В зависимости от числа колесных пар, объединенных в одной раме, тележки бывают двух- и трехосными. Двухосные тележки применяются на тепловозах с гидропередачей (ТГМЗ, ТГМ4, ТГ16 и др.) и тепловозах, у которых четырехосные тележки состоят из двух двухосных тележек с промежуточной рамой (ТЭМ7). Трехосные тележки бывают челюстными и бесчелюстными (рис. 1.7). Челюстные тележки применяются на маневровых и грузовых тепловозах ранних выпусков (2ТЭ10Л, 2ТЭ10В, М62, ТЭМ1 и др.). На тепловозах 2ТЭ116, 2ТЭ10М, 2М62, ТЭМЗ и др. применяются унифицированные тележки.
Унифицированная трехосная бесчелюстная тележка предназначена для всех модификаций тепловозов. В тележке предусматри-

Рис. 1.7. Общий вид бесчелюстной тележки тепловоза 2ТЭ116:
1 — тормозной цилиндр; 2 — воздухопровод; 3 — демпфер; 4 — букса; 5 — рама; 6— пружина; 7— поводок; 8— рычаг подвески тормозных колодок; 9— песко-подающая труба; 10 — колесная пара; 11 — электродвигатель; 12 — опора; 13 — масленка; 14 — шкворневое устройство; 15 — кожух тягового редуктора; а, б — кронштейны крепления буксовых поводков; в, ж — концевые балки; г — боковина; д — средние поперечные балки; е — шкворневая балка; з — кронштейн
подвески двигателя
вается возможность изменения передаточного числа тягового редуктора с 4,41 (75/17) до 3,04 (70/23) при одном и том же тяговом электродвигателе; перехода с ширины рельсовой колеи 1520 мм на 1435 мм в соответствии с габаритом 0-2Т ГОСТ 9238—83 (за счет изменения положения дисков колесных центров); установки тормозного оборудования как отечественной, так и других систем. ТЭД на тележке имеют опорно-осевое подвешивание с рядным расположением (гуськом).
Рама тележки связана с колесными парами через поводковые бесчелюстные буксы с жесткими осевыми упорами качения одностороннего действия. Такая связь позволяет упруго передавать от колесных пар на раму тележки силы тяги и торможения, поперечные силы (при набегании на рельс), а также обеспечивать симметричность и параллельность осей колесных пар и их относительные вертикальные колебания. Средняя колесная пара имеет возможность свободного поперечного перемещения ± 14 мм. Параллельно индивидуальному буксовому рессорному подвешиванию устанавливаются фрикционные гасители колебаний. В тележке применяется пневматический индивидуальный двусторонний колодочный тормоз, с тормозным цилиндром диаметром 8" на
каждое колесо. Сила тяги от рамы тележки на главную раму передается через шкворневое устройство. Передняя и задняя тележки секции тепловоза по конструкции одинаковы, за исключением наличия на передней тележке рычажной передачи ручного тормоза, подножек для входа в кабину управления и привода скоростемера.
Опорно-осевое подвешивание ТЭД (рис. 1.8) используется на большинстве маневровых и грузовых тепловозов. ТЭД в одной точке закрепляется через пружинный комплект на раме тележки, а в двух других точках опирается на ось колесной пары через моторно-осевые подшипники. Вращающий момент от вала ТЭД через пару цилиндрических зубчатых колес передается на ось колесной пары. Зубчатые колеса привода закрыты кожухом тягового редуктора. Они подвергаются значительным динамическим нагрузкам. Для снижения ударных нагрузок, большое зубчатое колесо на многих тепловозах делается составным. Зубчатый венец со ступицей соединяется с помощью комплекта резинометаллических втулок. Упругая связь почти в 5 раз уменьшает динамические нагрузки на ТЭД и снижает износ зубьев.
Опорно-рамное подвешивание ТЭД (рис. 1.9) применяется в основном на пассажирских тепловозах. На тепловозе ТЭП70 вращающий момент передается через редуктор, большая шестерня которого вращается в подшипниках на полой опоре. Ступица большой шестерни соединена поводками с фланцем полого карданного вала. На противоположном конце вала укреплен приводной фланец. Пальцы приводного фланца соединяются поводками с пальцами колесных центров. Поводки образуют шарнирно-рычаж-ную муфту с резинометаллическими шарнирами, соединяющую полый вал с колесной парой. При опорно-рамном подвешивании ТЭД опирается на раму тележки, что значительно снижает массу неподрессоренных частей тепловоза и улучшает его динамические характеристики.
Основными частями колесной пары тепловоза (рис. 1.10) являются ось, колесные центры и бандажи. Оси изготавливаются из специальной осевой стали. На оси имеются шейки для установки букс, предподступичные части и подступичные части, на кото-

Рис. 1.8. Схема опорно-осевой подвески тягового электродвигателя:
1 — пружинный комплект на раме тележки; 2 — зубчатое колесо якоря ТЭД; 3 — вал якоря ТЭД; 4 — резинометаллические втулки зубчатого колеса; 5 — ступица зубчатого колеса; 6 — колесо колесной пары; 7 — зубчатый венец; 8 — кожух тягового редуктора; 9 — моторно-осевые подшипники; 10— ось колесной пары; 11 — ТЭД

Рис. 1.9. Схема опорно-рамной подвески тягового электродвигателя:
а — схема опорно-рамного подвешивания тепловоза ТЭП60; б — схема опорно-рамного подвешивания тепловоза ТЭП70; 1, 10, 14 — резиновые амортизаторы в точках крепления ТЭД; 2, 24 — пальцы колесных центров; 3 — траверса; 4 — палец; 5— отверстие в колесном центре; 6 — цапфа; 7— зубчатое колесо полого вала; 8, 18 — тяговые редукторы; 9 — полый вал; 11 — моторный подшипник ТЭД; 12, 22 — приводные фланцы; 13 — ТЭД; 15 — ступица большой шестерни; 16 — поводок фланца полого вала; 17 — большая шестерня; 19 — подшипники; 20 — полая опора; 21 — полый карданный вал; 23 — пальцы вала; 25 — поводки
рые напрессовываются колесные центры. Колесные центры состоят из ступицы, обода и диска. Они напрессовываются на ось с натягом. Бандажи являются сменным элементом колесной пары. Их напрессовывают на колесные центры с натягом тепловым способом, нагревая до температуры 250... 320 °С, и закрепляют кольцами. Особенности конструкции колесных пар определяются типом тягового привода. Колесная пара при опорно-осевом подвешивании ТЭД имеет на оси подступичную часть, на которую напрессовывается зубчатое колесо, а шейки служат опорами моторно-осевых подшипников. При циркуляционной системе смазки мо-

Рис. 1.10. Колесная пара тепловоза:
1 — бандаж; 2 — колесный центр; 3 — ось; 4 — укрепляющее кольцо; 5 — ведомое зубчатое колесо; б — отбойное кольцо
торно-осевых подшипников в средней части оси устанавливается разъемная шестерня привода масляного насоса.
В процессе эксплуатации наиболее интенсивному износу подвергаются бандажи колесных пар. По мере износа бандажей, т.е. при появлении проката поверхности катания и подреза гребня, производится обточка колесных пар. Бандажи заменяются при достижении ими минимальной толщины. Диаметр новых колес по кругу катания, измеряемый на расстоянии 70 мм от внутренней грани бандажа, составляет 1050 мм, а на тепловозах ТЭП70 — 1220 мм. На некоторых тепловозах (ТГМЗА, ТГ16) применяют безбандажные колеса.
Буксы предназначены для передачи нагрузок от массы тепловоза на вращающиеся колесные пары, тяговых и тормозных усилий, от колесной пары к раме тележки, а также боковых усилий, возникающих при вписывании экипажа в кривые, и ударных нагрузок при движении по неровностям пути. Крепления букс к раме тележки должны обеспечивать параллельность колесных пар и установленные поперечные перемещения их относительно рамы тележки.
На тепловозах применяются два основных типа буксовых устройств: челюстные, с направляющими в раме тележки, и поводковые (бесчелюстные). Челюстные буксы (рис. 1.11) применяются на тепловозах ТЭМ1, ТЭМ2, 2ТЭ10Л и др. Основными частями являются корпус 3 и роликовые подшипники 4 и 7. Корпус закрывают двумя крышками 2 и 8, задняя крышка имеет лабиринтное уплотнение 1 со стопорной шайбой 9. Расстояние между подшипниками устанавливается дистанционными кольцами 5 и 6. Радиальные подшипники не воспринимают осевых усилий, поэтому в передней крышке буксы установлен упор П. Торцевая поверхность

Рис. 1.11. Челюстная букса тепловоза:
1 — лабиринтное уплотнение; 2 — задняя крышка; 3 — корпус; 4, 7— роликовые подшипники; 5, 6 — дистанционные кольца; 8 — передняя крышка; 9 — шайба; 10 — гайка; 11 — осевой упор; 12 — фитиль; 13 — упорный бурт; 14 — боковой наличник; 15 — масленка
упора имеет бронзовую наплавку и смазывается маслом, которое подается фитилем 12 из масляной ванны корпуса буксы.
В буксах средней оси установлен жесткий упор. Буксы крайних осей трехосной тележки оборудованы упругими упорами с пружинами. К боковым поверхностям буксы приварены наличники 14 и прикреплены винтами сменные наличники 13. Наличники смазываются маслом из ванны 15 с помощью фитилей.
Поводковые буксы (бесчелюстные) (рис. 1.12) применяются в бесчелюстных тележках тепловозов 2ТЭ10М, 2ТЭ116, ТЭП70 и др. Корпус буксы защищает подшипники и шейку оси от грязи и влаги. Он заполнен смазкой ЖРО для обеспечения нормальной работы подшипников. Стальной, литой корпус имеет два боковых опорных кронштейна для установки пружин рессорного подвешивания тележки и восприятия вертикальной нагрузки. С рамой тележки корпус буксы соединяется кососимметрично расположенными поводками. В цилиндрическую расточку корпуса буксы до упора в заднюю крышку устанавливаются два роликовых подшип-

Рис. 1.12. Поводковая букса и поводок тепловоза 2ТЭ116:
а — буксовый узел: / — поводок; 2 — лабиринтное кольцо; 3 — стопорный болт; 4 — задняя крышка; 5 — роликовый подшипник; 6— корпус; 7, 8— дистанционные кольца; 9, 11 — стопорные кольца; 10 — кронштейн; 12 — шарикоподшипник; 13 — амортизатор; 14— передняя крышка; 15 — пружина; 16— упор; 17 — коническая пробка; 6 — поводок буксового узла: 1 — полукольцо; 2, 13 — амортизаторы; 3, 12 — резинометаллические втулки; 4 — штифт; 5 — длинный валик; 6 — полукольцо; 7 — корпус; 8 — короткий валик; 9 — кольцо; 10 — резиновый элемент; 11 — шайба
17

б
Рис. 1.13. Схемы рессорного подвешивания:
а — сбалансированного; б — индивидуального; 1,5— тарелка; 2 — пружина; 3 — подвеска; 4— балансир; 6— предохранительная скоба; 7— листовая рессора; 8 — серьга; 9 — букса; 10 — подвеска; // — поводок буксы; 12 — поводковая букса; 13 — фрикционный гаситель колебаний
ника с дистанционными кольцами между ними. Потолок корпуса буксы выполнен в виде свода параллельного сечения, с увеличенной толщиной в верхней части. Это обеспечивает более равномерное распределение нагрузки на ролики подшипников.
На предподступичную часть оси до упора в галтель с натягом устанавливается лабиринтное кольцо, которое вместе с задней крышкой образует лабиринтное уплотнение буксы. Внутренние кольца роликовых подшипников удерживаются на шейке оси стопорным кольцом. В передней крышке монтируется осевой упор качения. Одно кольцо упорного шарикоподшипника устанавливается на торцевой проточке оси, а другое — на упоре крышки.
Рессорное подвешивание тепловоза предназначено для уменьшения динамического воздействия колес на рельсы при движении по неровностям пути, распределения нагрузок по колесам и обеспечения плавности хода тепловоза. Рессорное подвешивание бывает сбалансированное и индивидуальное, одноступенчатое и двухступенчатое.
Сбалансированное подвешивание применяется на тепловозах ТЭМ2, 2ТЭ10Л, ТЭП60 и др. (рис. 1.13, а). При этом подвешивании каждая тележка имеет по две самостоятельные сбалансированные

Рис. 1.14. Рессорное подвешивание:
а — тепловоза 2ТЭ116: 1 — опора пружины нижняя; 2 — пружина нижняя; 3 — пружина внутренняя; 4 — пружина средняя; 5 — опора пружины верхняя; 6 — прокладки; б — тепловоза ТЭП70: 1 — регулировочная прокладка; 2 — резиновый амортизатор; 3, б — верхний и нижний опорные стаканы; 4 — пружина; 5 —
технологический болт
группы листовых рессор и цилиндрических пружин, каждая группа которых расположена по сторонам тележки. Балансиры в системе рессорного подвешивания выравнивают нагрузки между колесными парами при проезде неровностей пути любой из них, однако, при больших скоростях движения и ударных нагрузках, вследствие трения в шарнирных соединениях и сил инерции, перераспределения нагрузок практически не происходит.
При индивидуальном подвешивании (рис. 1.13, б) каждая колесная пара имеет независимые комплекты подвешивания с каждой стороны тележки.
Одноступенчатое рессорное подвешивание унифицированной тележки тепловоза 2ТЭ116 (рис. 1.14, а) состоит из 12 комплектов цилиндрических пружин, по два комплекта на каждую буксу. Колебания надрессорного строения устраняются с помощью гасителей колебаний — фрикционных (рис. 1.15) или гидравлических. Их устанавливают между буксой и рамой тележки.
На пассажирских тепловозах ТЭП60 и ТЭП70 применяется двухступенчатое рессорное подвешивание (рис. 1.14, б). Первая ступень его расположена между колесными парами и рамой тележки, а вторая ступень — между рамой тележки и несущим кузовом. Это обеспечивает меньшее воздействие на путь, надежную работу агрегатов тепловоза и нормальные условия работы локомотивной бригады при высоких скоростях движения.
Устройства связи главной рамы с тележками тепловоза должны обеспечивать передачу нагрузки от массы кузова на тележки и

Рис. 1.15. Фрикционный гаситель колебаний:
I — амортизатор; 2 — сухарь; 3 — обойма; 4 — шток; 5 — поршень; 6 — фрикционная накладка; 7 — вкладыш; 8 — корпус гасителя; 9 — защитный кожух; 10 — пружина;
II — крышка; 12 — гайка; 13 — шплинт; 14 — крышка буксы

Рис. 1.16. Резинороликовая опора:
1 — опорная плита; 2 — резинометаллический элемент; 3 — стакан; 4 — регулировочная пластина; 5 — чехол; 6 — роликовая опора

Рис. 1.17. Упругое шкворневое устройство:
/ — стакан; 2 — пружина; 3 — упор; 4 — ползун; 5 — шкворень; 6 — сменные
накладки; 7 — балка
возвращения их в первоначальное положение при выходе тепловоза из кривых участков пути. Движение тепловоза на прямых участках сопровождается интенсивным вилянием тележек, вызванным конусностью бандажей и зазорами между их гребнями и головками рельсов. Уменьшение передачи боковых сил от экипажа на рельсы должно обеспечиваться опорно-возвращающими устройствами. Угловые и поперечные относительные перемещения кузова и тележек, обеспечиваемые опорно-возвращающими устройствами, могут быть свободными или упругими. Для уменьшения виляния экипажа применяют демпфирование перемещений.

Рис. 1.18. Опорно-возвращающее устройство тепловоза ТЭП70:
1 — рама тепловоза; 2 — пружины второй ступени подвешивания; 3 — гаситель колебаний; 4 — пружины первой ступени; 5 — рама тележки; 6 — пружинное устройство; 7 — низкоопущенный шкворень рамы
На тепловозах применяются различные конструкции опор и возвращающих устройств: роликовые — 2ТЭ10, скользящие — ТЭМ1, ТЭМ2, резинороликовые опоры (рис. 1.16) с упругим шкворневым устройством (рис. 1.17) — 2ТЭ10В, 2ТЭ10М, 2ТЭ116, маятниковые опоры с пружинными возвращающими аппаратами — ТЭП60, ТЭП70 № 1 — 7, пружинные, работающие на вертикальную и горизонтальную нагрузки (рис. 1.18 — ТЭП70 № 008 и выше), опоры на маятниковых подвесках — ТЭМ7, ЧМЭЗ.
Основные параметры опорно-возвращающих устройств подбирают с расчетом получения необходимой плавности хода при всех скоростях движения тепловоза.










