5. Фильтры топлива
Зазоры между деталями плунжерной пары насоса высокого давления и распылителя форсунки размером 0,002—0,003 мм предъявляют повышенные требования к тонкости фильтрации топлива. Механические примеси в топливе приводят к износу и заметным повреждениям рабочих поверхностей, вплоть до возникновения задиров и поэтому недопустимы. Для нормальной

работы прецизионных пар насосов и форсунок применяют фильтр грубой и тонкой очистки топлива. Фильтры грубой очистки топлива устанавливают вне дизеля. Фильтры тонкой очистки топлива устанавливают на дизеле по возможности ближе к насосам высокого давления.
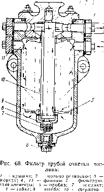
Фильтр грубой очистки топлива расположен перед насосом подачи топлива и предназначен для предварительной, грубой очистки топлива от частиц размером более 0,045 мм. Крышка / фильтра (рис. 68) прижата шпильками к корпусу 3 и уплотнена резиновым кольцом 2. Стержень завертывается до упора в крышку, а пакет фильтрующих элементов, собранный на стержне, прижимается к крышке гайкой 8 с шайбой 9, стопорящейся гранями стержня и предохраняющей элементы от повре ждения при затяжке. Топливо поступает в фильтр через нижнее отверстие в корпусе и, очищаясь, проходя через фильтрующие элементы, перетекает по каналам трехгранного стержня в канал крышки / и далее через верхнее отверстие в корпусе выходит из фильтра. Фильтрующие элементы при эксплуатации периодически очищаются при помощи специальных приспособлений.
При сборке следят за целостностью сеток и плотностью прилегания стыков фильтрующих элементов. Фильтры тонкой очистки топлива крепят на дизелях к специальным литым кронштейнам, обеспечивающим малую вибрацию и, следовательно, надежную работу трубопроводов, соединенных с фильтрами. На дизелях 16ЧН26/26 и 20ЧН26/26 устанавливаются по два фильтра тонкой очистки топлива, на дизелях 8ЧН26/26 и 12ЧН26/26 — по одному.
Фильтр тонкой очистки топлива (рис. 69) состоит из двух фильтрующих бумажных или миткалевых элементов, расположенных в отдельных корпусах 7, объединенных общей крышкой 8 и уплотненных прокладкой 9. Для разделения полостей каждая пара фильтрующих элементов между собой, сверху и снизу уплотнена резиновыми кольцами 10, постоянно обжимаемыми усилием пружины 4. В нижней части корпуса расположен болт 1, через

шарик 3 закрывающий сливное отверстие. В крышке 8 имеются два болта // для спуска воздуха на каждой секции и кран 14 для распределения подачи топлива в обе секции. Сменный бумажный фильтрующий элемент состоит из гофрированной круглой шторы 16, наружной стороной приклеенной к футляру и заваль-цованной сверху и снизу вместе с футляром 17, крышками 15 и 20. Трубка 19 фильтрующего элемента обвальцована сверху и снизу крышками, что обеспечивает жесткость конструкции и гарантирует трубку от перемещений внутри элемента.
Топливо от насоса через штуцер 13 и отверстия в крышке и кране попадает в оба корпуса фильтра, проходит гофрированную штору через отверстия 18 в футляре и далее по стягивающей трубе 5 и отверстиям в крышке поступает к штуцеру 12. Топливо, проходя через фильтрующие элементы, очищается от частиц, превышающих размер 0,003—0,005 мм.










