1. Основные требования и схема
Необходимые технико-экономические и эксплуатационные показатели дизелей можно получить, если топливная аппаратура обеспечивает: подачу за рабочий цикл в каждый цилиндр заданного в соответствии с нагрузкой дизеля количества топлива; начало подачи топлива в определенный момент по установленному значению угла опережения подачи топлива до ВМТ; подачу топлива по заданному закону; достаточное распыливание топлива и равномерное распределение его в камере сгорания; сохранение вышеперечисленных характеристик в течение времени, определенного руководством по эксплуатации дизелей, при условии качественного обслуживания топливной системы; возможность восстановления указанных характеристик при плановых ремонтах. На дизелях типа Д49 применяются две аналогичные схемы топливных систем. Дизели 8ЧН 26/26 типов ЗА-6Д49, ЗАЭ-6Д49 имеют насос, установленный на дизель, и прокачивающий насос с электроприводом в системе тепловоза. На дизель-генераторах 1А-9ДГ, 2А-9ДГ и 2В-9ДГ насос устанавливается с 1978 г. Система отличается тем, что фильтры тонкой очистки топлива расположены непосредственно на дизеле, что позволяет устранить загрязнение топлива при монтаже дизеля на тепловозе.
Топливная система (рис. 63) ряда дизелей Д49 состоит из фильтров грубой и тонкой очистки, топливопровода, расположенного на дизеле, и перепускного клапана. До и после фильтра тонкой очистки, для определения давления топлива на входе в дизель и засоренности фильтра по перепаду давлений установлены манометры 2. Топливо из бака тепловоза через фильтр грубой очистки засасывается насосом подачи топлива и через фильтр тонкой очистки подается по трубе 3 к насосам высокого давления правого и левого рядов дизеля. Избыток топлива через перепускной клапан 7 и топливоподогреватель отводится в бак тепловоза. Топливо, просочившееся из полости высокого давления форсунок, по трубе 9 также сливается в топливный бак тепловоза. На всех дизелях типа Д49 установлены одинаковые 'индивидуальные для каждого цилиндра топливные насосы высокого давления с механически приводимым плунжером-золотником и [форсунки закрытого типа с гидравлическим управлением движения иглы.
Топливоподкачивающий насос. На дизелях Д49 применяются две разновидности топливоподкачивающих насосов: насос шестеренного типа с приводом от электродвигателя, смонтированного совместно с насосом на общей плите, установленной вне дизеля, а также насос, установленный на дизель с приводом от коленчатого вала. По характеру работы насосы отличаются тем, что насосы с приводом от электродвигателя имеют постоянную независимо от дизеля частоту вращения приводного вала и подачу, в то время как насос, установленный на дизеле, имеет частоту вращения ведущего вала, изменяющуюся соответственно частоте вращения коленчатого вала дизеля. Это позволяет при насосе независимого привода создавать наибольшие давление и циркуляцию топлива через насосы высокого давления на режимах холостого хода и наименьшие на режиме полной мощности. Насосы с приводом от дизеля обеспечивают обратную картину. Кроме того, насосы с приводом от дизеля вследствие конструктивных особенностей позволяют иметь давление в системе до 0,6 МПа, а с независимым приводом не более 0,25—0,3 МПа.
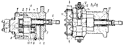
Насос шестеренного типа (рис. 64) с приводом от дизеля установлен на торце корпуса привода насосов и приводится во вращение через промежуточный шлицевый валик 6, втулку и штифт, позволяющие за счет зазоров в шлицевых соединениях компенсировать несоосность ведущего валика насоса и шестерни привода. Корпус / насоса соединен с кронштейном 2 шпильками и зафиксирован двумя штифтами 3. Ведущая шестерня 9 и зубчатое колесо 10 вращаются в текстолитовых втулках 8, запрессованных в корпус и кронштейн насоса. Втулки 8 установлены в корпусе и кронштейне на эпоксидной смоле и обеспечивают совпадение разгрузочных канавок. Подшипники шестерен смазываются топливом, проходящим по зазорам из полости нагнетания насоса. В корпусе насоса с обеих сторон выполнены цилиндрические расточки и конические поверхности для установки перепускного клапана в нагнетательной полости. В зависимости от направления враще-

Рис. 63. Топливная система дизеля 16ЧН 26/26:
1 — фильтр тонкой очистки топлива: 2 — манометр: 3 — труба подвода топлива; 4 — насос высокого давления; 5 — топливопровод высокого давления; 6 — форсунка; 7 — перепускной клапан; 8 — труба слива избытка топлива с дизеля, 9 — труба слнва топлива из форсунок; 10 — топлнвоподкачнвающий насос

Рис. 64. Топливоподкачивающий насосния ведущей шестерни насоса положение перепускного клапана в корпусе изменяется. На рис. 64 положение клапана соответствует вращению ведущего валика против часовой стрелки. Клапан 14 дифференциального типа прижимается конусной поверхностью к аналогичной поверхности, выполненной в корпусе, пружиной 13. Затяжка пружины регулируется изменением высоты кольца 12.
В кронштейне насоса размещено сальниковое уплотнение, состоящее из манжет 7 и проставочных колец 4, 5. Уплотнение зажато между стопорными кольцами 15. Для контроля за уплотнением в проставочном кольце 5 имеется отверстие б с проточкой на наружной поверхности, соединенных с каналом а в кронштейне. Из канала а вытекает топливо при нарушении уплотнения левой манжетой и масло — правой манжетой. Топливо, просочившееся через зазоры между цапфой шестерни и втулкой, отводится во всасывающую полость по каналам г в кронштейне и д в зубчатом колесе 10.
При работе насоса топливо, подведенное во всасывающую полость, захватывается вращающимися шестернями и переносится в нагнетательную полость, откуда направляется в нагнетательную магистраль дизеля. Топливо из впадины шестерни протекает через разгрузочные канавки во всасывающую полость насоса. При давлении топлива в нагнетательной полости насоса выше 0,6— 0,05 МПа клапан 14 сжимает пружину 13 и перепускает избыток топлива во всасывающую полость насоса.










