III.3. Система охлаждения
Для отвода тепла, выделяющегося при работе дизель-генератора, служит система охлаждения тепловоза закрытого типа с принудительной циркуляцией. На тепловозе имеются два самостоятельных контура охлаждения, каждый из которых имеет свой трубопровод, водяной насос, секции радиатора и мотор-вентиляторы.
Контур охлаждения дизеля предназначен для охлаждения втулок и крышей цилиндров дизеля, корпуса турбокомпрессора и выпускных коллекторов. В холодное время года охлаждающая жидкость используется для подогрева топлива, обогрева кабины машиниста, подогрева воды в баке санитарного устройства. Этот контур предусматривает как высокотемпературное, так и низкотемпературное охлаждение, причем переход на высокотемпературное охлаждение допускается при давлении в расширительном баке не менее 0,03 МПа (0,3 кгс/см2). Переход осуществляется'вручную установкой тумблера на шкафу аппаратной камеры в положение "104 "С"; при этом отключается реле, обеспечивающее снятие нагрузки дизель-генератора при температуре охлаждающей жидкости 96 'С.
Водяной насос дизеля (правый по ходу тепловоза) нагнетает охлаждающую жидкость в охлаждающие полости дизеля. Нагретая охлаждающая жидкость отводится от дизеля в верхний коллектор холодильника тепловоза, проходит через секции радиатора 21 (рис. 47) и из нижнего правого коллектора поступает во всасывающую полость насоса, замыкая круг циркуляции "горячего" контура.
На трубопроводе отвода охлаждающей жидкости из дизеля предусмотрены две бонки 3 для электротермометров, измеряющих температуру жидкости на выходе из дизеля, а также пять бонок 20 для датчиков-реле температуры, три из которых служат для управления холодильником тепловоза, а оставшиеся два предназначены для снятия нагрузки дизель-генератора при достижении предельных температур охлаждающей жидкости при высокотемпературном и низкотемпературном охлаждении. На этом же трубопроводе имеется штуцер 6 для манометра. Такой же штуцер есть на трубопроводе подвода охлаждающей жидкости к всасывающей полости водяного насоса; рядом с ним установлен патрубок 7 для ртутного термометра. На выходе охлаждающей жидкости из дизеля от наивысшей точки трубопровода и от верхней части коллекторов охлаждающих секций идут трубопроводы в расширительный бак. Они отводят паровоздушную смесь во время работы дизель-генератора и воздух при заправке системы, благодаря чему исключается образование в системе "пробки", которая может привести к нарушению режима охлаждения.
Трубопровод на всасывании соединен через невозвратный клапан 18 с расширительным баком, что обеспечивает подпитку контура системы охлаждения. Кроме того, столб охлаждающей жидкости от расширительного бака до полости на всасывании насоса создает подпор, улучшающий условия работы водяного насоса. От контура охлаждения дизеля предусмотрен отбор горячей воды через вентиль 26 на подогрев топлива. При открытом вентиле 23 охлаждающая жидкость подогревает воду в баке 4 санитарного устройства. От задней части дизель-генератора охлаждающая жидкость при открытом вентиле 33 поступает в отопительно-вентиля-ционный агрегат. Для выпуска охлаждающей жидкости из трубопровода отопительно-вентиляционного агрегата необходимо открыть вентиль 31 и краны 41 и 42. Кран 42 служит, кроме того, для выпуска воздуха при заправке системы. Его необходимо также открывать перед каждым пуском дизель-генератора после длительной стоянки тепловоза во избежание образования воздушной "пробки" и замерзания в холодное время года воды в трубопроводе, идущем к отопительно-вентиляционному агрегату. Так как трубопровод отопительно-вентиляционного агрегата в зимнее время может подвергаться переохлаждению, то на нем предусмотрена теплоизоляция.
Для пополнения системы охлаждающей жидкостью служит ручной водяной насос 19. Перед работой ручным насосом нужно соединить заправочную головку с емкостью, заполненной приготовленной охлаждающей жидкостью, и открыть вентили 24 и 25. После окончания заправки необходимо эти вентили перекрыть и слить охлаждающую жидкость из насоса, вывернув пробку в нижней части его корпуса. Ручным насосом пользуются в тех случаях, когда тепловоз находится далеко от мест экипировки.
Заправляют систему охлаждения через вентили 30 и 35. При этом открывают вентиль 28, соединяющий верхнюю полость расширительного бака с атмосферой. Для полного удаления охлаждающей жидкости из системы отворачивают пробки слива 13 и 14. Невозвратный клапан 18 предотвращает выброс охлаждающей жидкости в расширительный бак после остановки дизель-генератора при высокой температуре охлаждающей жидкости.
Контур охлаждения масла и наддувочного воздуха имеет свой водяной насос (левый по ходу тепловоза), который нагнетает охлаждающую жидкость в левый нижний коллектор холодильника тепловоза, поступающую оттуда по передним секциям радиатора в левый верхний коллектор. Из левого верхнего коллектора охлаждающая жидкость отводится в правый верхний коллектор, далее по левым и правым задним секциям радиатора опускается вниз, охлаждается и от нижних коллекторов подводится к охладителю масла. Охладив масло, жидкость идет на охлаждение наддувочного воздуха и к всасывающей полости водяного насоса, замыкая "холодный" контур системы охлаждения. Всасывающая полость водяного насоса этого контура также соединяется с расширительным баком через трубу с невозвратным клапаном 18. Параллельно этому клапану установлен вентиль 29, который открывают при заправке и сливе охлаждающей жидкости из системы. На трубопроводе данного контура имеются штуцера 6 для манометров и патрубки 7 для ртутных термометров.
В холодное время года при работе дизель-генератора на малых позициях контроллера машиниста наддувочный воздух бывает холоднее, чем охлаждающая его жидкость, и наблюдается обратный процесс передачи тепла от охлаждающей жидкости к наддувочному воздуху. В результате этого процесса возникает опасность переохлаждения жидкости "холодного" контура. Поэтому в системе предусмотрен вентиль 27, при открытии которого часть охлаждающей жидкости, выходящей из дизеля, попадает во всасывающую полость водяного насоса "холодного" контура, а водяной насос "горячего" контура отбирает охлаждающую жидкость из "холодного" контура после охладителя масла дизеля.
Температура охлаждающей жидкости регулируется открытием и закрытием боковых жалюзи, а также включением и отключением вентиляторов холодильника тепловоза с одновременным открытием и закрытием верхних жалюзи. Автоматическое управление правыми жалюзи и вентиляторами осуществляют датчики-реле температуры, установленные на выходе охлаждающей жидкости из дизеля, а автоматическое управление левыми жалюзи и вентиляторами — датчики-реле, установленные на выходе масла из дизеля.
Расширительный бак (рис. 48) предназначен для компенсации тепловых расширений охлаждающей жидкости, пополнения системы, создания напора на всасывании циркуляционных насосов. Он представляет собой цилиндрическую емкость объемом 0,34 м3 (340 л), разделенную перегородкой 12, установленной по центру паровоздушного клапана 11. Перегородка не доходит до верхней и нижней частей обечайки 10, что обеспечивает сообщение левой и правой частей бака между собой. Одна часть бака сообщается с контуром охлаждения дизеля, а другая — с контуром охлаждения масла и наддувочного воздуха через патрубки 17, приваренные к обечайке бака. В месте приварки патрубков обечайка усилена накладками. Бак крепится к кронштейну в крыше тепловоза с помощью двух лент 9 и четырех болтов 8.
Внутри бака установлена труба 7, которая служит для выпуска воздуха из системы при заправке и в то же время не допускает переполнения бака охлаждающей жидкостью. Объем охлаждающей жидкости в баке при полностью заправленной системе составляет 0,295,м3 (295 л). С правой стороны по ходу тепловоза к днищу бака приварены два штуцера 16 для крепления водомерного устройства 75. Эти штуцера сообщают полости бака и водомерного устройства. По водомерному устройству визуально контролируют уровень охлаждающей жидкости в баке. Для улучшения видимости уровня предусмотрен светильник, укрепленный на бонках 14. Пароотводные трубки от контуров охлаждения дизеля, масла и надду-
Рис. 48. Расширительный бак: 1 — днище; 2 — ограждение реле уровня; 3 — реле уровня; 4, 14 — бонки; 5, 6, 13, 16 — штуцера; 7 — труба; <* — болт; 9 — лента; 10 — обечайка; 11 — паровоздушный клапан; 12 — перегородка; 15 — водомерное устройство; 17 — патрубок вочного воздуха подсоединяются к штуцерам 6 и 13. В днище бака с левой стороны вварено ограждение 2, в котором установлено реле уровня 3. Когда уровень охлаждающей жидкости в баке становится ниже допустимого, реле замыкает электрическую цепь лампочки, находящейся на пульте управления. Бонка 4 служит для крепления электрических проводов к реле. Штуцер 5 предназначен для подсоединения трубопровода к манометру, с помощью которого контролируют давление в расширительном баке при высокотемпературном режиме охлаждения дизеля. Паровоздушный клапан 11 и реле уровня 3 уплотнены прокладками.
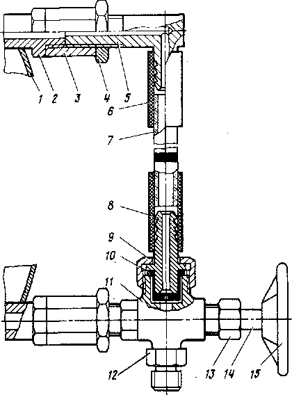
Водомерное устройство (рис. 49), показывающее уровень охлаждающей жидкости в расширительном баке, представляет собой сосуд, сообщающийся с баком. Оно крепится к штуцерам 2, вваренным в днище бака, с помощью муфт 3 и контргаек 4. Монтаж этих резьбовых соединений производится с подмоткой из пеньки на цинковых белилах. Бак сообщается с водомерным устройством в верхней части через штуцер 5, а в нижней части — через корпус крана 11. К верхней части корпуса крана крепится с помощью накидной гайки 9 наконечник 8. Корпус крана и наконечник уплотнены втулкой 10. На наконечник 8 и штуцер 5 надеты рукава 6, в которые вставлена стеклянная трубка 7. Рукава 6 обеспечивают герметичность соединений, а также предохраняют стеклянную трубку от повреждений, выполняя функцию амортизаторов. На стеклянной трубке красной эмалью нанесены метки нижнего и верхнего допустимых уровней. Водомерное устройство разобщается с расширительным баком клапаном 14 крана. На хвостовике клапана закреплен маховичок 15. Со стороны маховичка в корпус крана 11 установлены поднабивное кольцо, уплотнение и втулка сальника. Уплотнение изготовлено из ас-бестопроволочной набивки. Образованный таким образом сальник поджимается накидной гайкой 13. В нижнюю часть корпуса ввернут штуцер 12, к которому подсоединяется водоспускной кран.
Рис. 49. Водомерное устройство:
/ — днище бака; 2, 5, 12 — штуцера; 3 — муфта; 4 — контргайка; 6 — рукав; 7 — трубка; * — наконечник; 9, 13 — гайки; 10 — втулка; // — кран; 14 — клапан; 15 — маховичок
Чтобы проверить уровень охлаждающей жидкости в баке, необходимо при закрытом водоспускном кране открыть кран водомерного устройства вращением маховичка 15. При этом образуются два сообщающихся сосуда: бак и водомерное устройство. Охлаждающая жидкость из бака пройдет через нижний штуцер, внутреннюю полость корпуса крана 11, переходник и заполнит стеклянную трубку. Воздух, вытесненный охлаждающей жидкостью, уйдет из водомерного устройства через верхние штуцера 5 и 2 в расширительный бак. Уровень охлаждающей жидкости в стеклянной трубке будет соответствовать уровню в расширительном баке. Чтобы проверить правильность показаний водомерного устройства в эксплуатации, необходимо закрыть кран //, открыть водоспускной кран и выпустить охлаждающую жидкость из водомерного стекла. Затем закрыть водоспускной кран, открыть кран водомерного устройства и после заполнения стеклянной трубки и прекращения колебаний мениска отметить занятое им положение. Потом повторить все сначала. Жидкость должна занять то же положение.
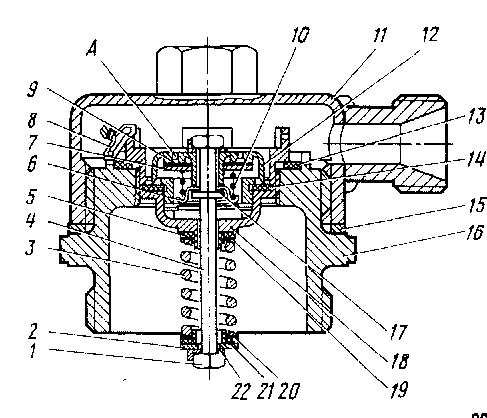
Паровоздушный клапан (рис. 50) предназначен для поддержания необходимого давления в расширительном баке при высокотемпературном режиме охлаждения дизеля и для сообщения бака с атмосферой при разрежении в системе охлаждения. Клапан находится в верхней части бака. Для его установки в отверстие обечайки вварена гайка с резьбой. На корпусе 16 клапана также нарезана резьба. При ввертывании клапана между гайкой и фланцевой поверхностью корпуса устанавливают прокладку. Между колпаком 11 и корпусом 16 имеется прокладка 15. К колпаку приварен штуцер, к которому подводится труба, соединяющаяся с атмосферной трубой расширительного бака после вентиля 28. В корпус 16 клапана ввернут корпус 18 парового клапана, который уплотнен прокладкой 13. Для фиксации положения обоих корпусов они зашплинтованы проволокой 8. Если давление в баке станет бо-л'ее 0,05—0,075 МПа (0,5—0,75 кгс/см2), грибок 12 парового клапана, преодолев сопротивление пружины 3, поднимется вверх. После поднятия грибка образуется кольцевой зазор между прокладкой 14 и посадочной поверхностью грибка. Через этот зазор пар начнет выходить из бака по пароотводной трубе в атмосферу. При установившемся нормальном давлении в баке усилия пружины 3, которая своим нижним концом давит на шток 4 через опорную шайбу 20, нижний изолятор 21, шайбу 2, контровочную шайбу 22 и гайку 1, станет достаточно для того, чтобы грибок 12, жестко закрепленный в верхней части штока, опустился вниз и прижался к прокладке 14. Это обеспечит герметичность бака и дальнейшее понижение давления в нем прекратится.
Рис. 50. Паровоздушный клапан: 1 — гайка; 2 — нижняя шайба; 3 — пружина прямого действия; 4 — шток; 5 — верхний изолятор; 6,7 — нижняя и верхняя тарелки; 8 — шплинтовочная проволока; 9 — уплотнительиое кольцо; 10 — пружина обратного действия; /; — колпак; 12 — грибок; 13, 14, 15, 17 — прокладки; 16, 18 — корпуса; 19, 20 — опорные шайбы; 21 — нижний изолятор; 22 .— контровочная шайба; А — отверстие для впуска воздуха
При охлаждении воды в расширительном баке образуется разрежение. Когда оно достигнет 2—8 кПа (0,02—0,08 кгс/см2), верхняя тарелка 7 воздушного клапана под действием избыточного атмосферного давления опустится, сжав пружину 10. При этом внутренняя полость бака окажется сообщенной с атмосферой через отверстия А. Как только давление в баке сравняется с атмосферным, пружина 10 снова прижмет верхнюю тарелку 7 к грибку 12. Герметичность закрытия обеспечивается уплотнительным кольцом 9.
Реле уровня предназначено для дистанционного контроля за нижним уровнем охлаждающей жидкости в расширительном баке. При снижении уровня охлаждающей жидкости ниже допустимого поплавок реле опускается и рычагом воздействует на контакты микровыключателя, замыкая их. В результате замыкается электрическая цепь сигнальной лампы на пульте управления. Уровень охлаждающей жидкости, при котором срабатывает реле, регулируют болтом, ввернутым в рычаг поплавка с наружной стороны бака. При транспортировке реле поплавок фиксируют стопорным винтом, для чего поворотом винта по часовой стрелке совмещают индекс на его головке с буквой Т на крышке реле. При вводе реле в эксплуатацию стопорный винт поворачивают на 180° против часовой стрелки до совмещения индекса на головке винта с буквой Э на крышке реле.
Датчики-реле температуры предназначены для обеспечения работы холодильника тепловоза в автоматическом режиме и для защиты дизеля от перегрева охлаждающей жидкости. Проверять и регулировать уставки датчиков-реле можно как в специальном нагревательном сосуде с помещенным в него ртутным термометром (при этом термосистема датчика-реле и термометр не должны касаться стенок и дна сосуда), так и в системе тепловоза. Конструкция прибора допускает перенастройку на температуры, необходимые для управления холодильником тепловоза и для защиты дизель-генератора от перегрева теплоносителя. После изменения уставки следует охладить теплоноситель до температуры на 7—10 °С меньше уставки, а затем равномерно со скоростью не более 0,5 °С в минуту нагревая теплоноситель, проверить уставку срабатывания датчика-реле. Возврат датчика-реле после срабатывания в исходное положение происходит при охлаждении теплоносителя до температуры, которая меньше уставки на величину зоны нечувствительности (нерегулируемой зоны), равной 3—6 °С.
Отопительно-вентиляционный агрегат (рис. 51) предназначен для вентиляции и обогрева воздуха в кабине машиниста. Он собран на раме 18 и установлен в столе помощника машиниста. К полу кабины агрегат крепится болтами, а к передней стенке кабины — планкой 14. Электродвигатель 9 постоянного тока приводит во вращение вентилятор 23, который по соединительному каналу подает холодный воздух к нагревательной секции 4. Горячая охлаждающая жидкость по трубе 22 подводится к коллектору секции. Прой дя по трубкам секции и отдав тепло через стенки трубок потоку воздуха, охлаждающая жидкость по трубе 21 отводится в контур охлаждения дизеля. Подогретый воздух из нагревательной секции 4 поступает в распределительный канал 7, а оттуда — в каналы подвода воздуха в кабину для обогрева лобовых стекол и ног машиниста. В распределительном канале стоят заслонки. Увеличивая или уменьшая зазоры между заслонками и стенками канала, тем самым увеличивают или уменьшают потоки воздуха. Положение заслонок регулируют рукоятками 5 и У.
Воздух можно забирать через люк 11 снаружи и через боковые проемы в дросселе изнутри тепловоза. В люке установлен фильтр большими ячейками наружу тепловоза. В дросселе 13 имеются створки для переключения забора воздуха, управляемые рукояткой 6. Вентиляция может быть включена и без подогрева воздуха. Для этого отключают подвод горячей воды к нагревательной секции. Кроме того, при движении тепловоза можно отключить вентилятор и оставить открытыми створки дросселя 13. Электродвигтель 9 включается с пульта управления в кабине машиниста.
Рис. 51. Отопительно-вентиляционный агрегат:
/ — рукоятка регулирования потока воздуха в канале обогрева кабины; 2, 18 — рамы' 3 — канал подвода воздуха для обогрева лобовых стекол; 4 — нагревательная секция; 5 — рукоятка регулирования потока воздуха в канале его подвода к ногам машиниста; 6 - рукоятка управления створками дросселя; 7 — распределительный канал; 8, 15 — каналы; 9 — электродвигатель; 10 стоика; // — люк; 12 — фильтр; 13 — дроссель забора воздуха; 14 — планка; 16 21 —' труоы; 17 — патрубок; 19 — кран для выпуска паровоздушной смеси; 20 — воронка; 22 — труба подвода охлаждающей жидкости к нагревательной секции; 23 — вентилятор
Коллекторы охлаждающего устройства установлены по два с каждой стороны прохода холодильной камеры. Полости коллекторов, кроме верхнего левого,. разделены поперечными перегородками для разобщения1 потоков охлаждающей жидкости "горячего" и "холодного" контуров системы охлаждения, а также для организации движения охлаждающей жидкости в секциях радиатора. Коллекторы сварные, корпуса их выполнены из гнутой листовой стали. С торцов коллекторы закрыты крышками, в крышке одного из торцов вмонтирована сливная пробка. К коллекторам приварены трубы, оканчивающиеся фланцами, для соединения с трубопроводами системы охлаждения. В планке, служащей для подсоединения к коллектору секций радиатора, для каждой из секций имеются свои два круглых и одно эллиптическое отверстия, предназначенные для соединения полости коллектора с полостью в крышке секции радиатора. Кроме того, в планке выполнены резьбовые отверстия для шпилек крепления секций к коллектору.
Секции радиатора крепятся к верхнему и нижнему коллекторам четырьмя шпильками: двумя сверху и двумя снизу. Отверстия под шпильки в крышке секции сквозные. Для уплотнения места соединения секции с коллектором применена паронитовая прокладка. По конструкции все секции одинаковы. Они представляют собой набор плоских трубок, на которые насажены пластины для увеличения поверхности теплоотдачи. На пластинах выдавлены бугорки, способствующие завихрениям воздуха. Сверху и снизу на трубки надеты трубные коробки, прикрепленные заклепками к пластинам. Концы трубок перед пайкой раздают пуансоном, а затем припаивают к трубной коробке меднофосфористым припоем. С боков трубки защищены щитками.
В каждой секции 76 трубок, но охлаждающая жидкость проходит только по 68. Восемь трубок (по четыре с двух сторон секции) заглушены. По длине эти трубки короче остальных и своими концами упираются в усилительную доску с целью уменьшения напряжения в зоне припайки крайних рядов трубок и в самих трубках. Глухие трубки, упираясь в усилительные доски, передают часть напряжений на трубные коробки. Это уменьшает случаи повреждения трубок и течи секций.
Ручной водяной насос служит для пополнения системы охлаждения вручную. При работе насос создает давление 0,3 МПа (3 кгс/см2) на выходе, а на всасывании — разрежение 55 кПа (0,55 кгс/см2). Насос состоит из корпуса с цилиндром диаметром 80 мм, клапанов с седлами, поршня и механизма передачи движения к поршню. В верхней части корпуса расположена клапанная коробка, отлитая заодно с корпусом. В клапанной коробке, соединенной со всасывающими и нагнетательными каналами корпуса, имеются два нагнетательных и два всасывающих клапана, седла которых запрессованы в отверстия коробки. Насос приводится в действие ручкой, движение которой передается поршню через вал, рычаг и тягу. При движении поршня в цилиндре с одной стороны поршня происходит всасывание, а с другой — выталкивание жидкости. Подача за двойной ход поршня составляет 0,74 дм3 (0,74 л). Поршень снабжен двумя поршневыми кольцами. Торцовые крышки и крышка клапанной коробки уплотнены в местах соединения с корпусом прокладками. В нижнюю часть корпуса ввернута пробка с уплотнительным кольцом. Пробку выворачивают после окончания работы насоса и при сливе охлаждающей жидкости из системы во избежание замерзания ее в корпусе в зимнее время.
Упругое компенсирующее соединение устанавливается на трубопроводах в местах подвода охлаждающей жидкости к дизелю и отвода от него, а также на подпиточных и перепускных трубах. Оно предназначено для предохранения труб от воздействия сил вибрации и тепловых расширений, возникающих при работе дизель-генератора. Соединение состоит из втулки, приваренной к трубе, подвижного и неподвижного фланцев и уплотнительного кольца, зажатого между фланцами и втулкой. Кольцо служит не только для уплотнения, но и для гашения сил вибрации. Соединение позволяет компенсировать температурные изменения длины трубопровода и погрешности сборки. Зазор между фланцами соединения должен быть 2—8 мм.










