РАБОТА УКАЗАТЕЛЯ ПОВРЕЖДЕНИЙ
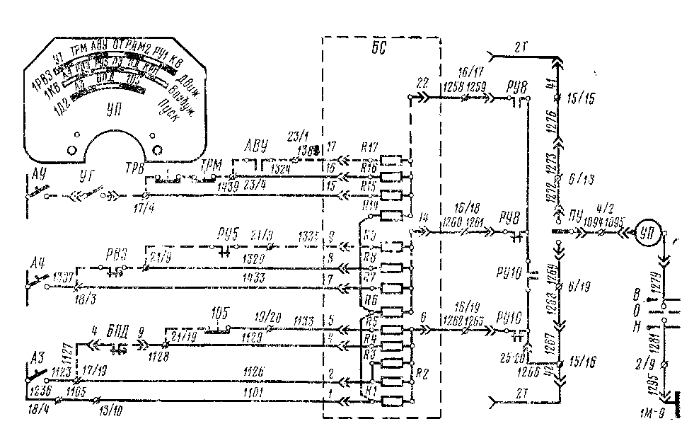
Указатель повреждений УП служит для облегчения и правильной ориентации при отыскании неисправности в цепях дизеля и включении возбуждения тягового генератора. В схему указателя повреждений входят резисторы /—21 блока резисторов БС, контакты реле РУ8 и РУ10, переключатель указателя повреждений ПУ и собственно указатель УП, представляющий собой вольтметр со специально выполненной шкалой (рис. 20).
Шкала указателя разбита на три части, на каждой из которых нанесены обозначения контролируемых аппаратов: при пуске дизеля — «Пуск», при включении возбуждения в режиме холостого хода •— «Возбуждение» и в тяговом режиме — «Движение».
В соответствии с этими обозначениями аппаратов резисторы блока БС, кроме трех — PI, Р6 и Р14, подсоединены через отводы в цепи питания этих аппаратов. Резисторы /, 6 и 14 являются базовыми соответственно для каждой из трех контролируемых цепей. Они включаются в цепь указателя УП контактами реле РУ8 или РУ10 и подобраны так, что стрелка указателя находится в крайнем левом положении.
Перед пуском дизеля после включения разъединителя аккумуляторной батареи и включения переключателя ПУ стрелка указателя устанавливается слева против надписи на шкале «Пуск» — A3, указывая на то, что не включен автомат A3 «дизель». Цепь питания указателя: плюс клеммы 18/4, провод 1105, клемма 13/10, провод 1101, резистор R1 блока БС, провода 1262, 1263, размы-

Рис. 20. Схема включения указателя повреждений
кающий контакт реле РУ10, провода 1266—1269, контакт переключателя ПУ, провода 1094, 1095, указатель УП, провод 1279, контакты В или Н реверсивного механизма контроллера, минус цепей управления ШР 1М-9.
При включении автомата АЗ «дизель» параллельно базовому резистору / включается резистор 2 по цепи: автомат АЗ, провод 1123, клемма 17/19, провод 1126, резистор Р2, провод 1262. В результате этого сопротивление в цепи указателя УП уменьшается и стрелка указателя установится против надписи на шкале «Пуск» •— БПД. Если после выдержки времени на прокачку маслом дизеля не включается контактор Д2 и стрелка указателя остается неподвижной, то неисправен блок БПД или нарушен его контакт (1127, 1128) в цепи контактора Д2.
По окончании пуска дизеля стрелка указателя вновь перейдет влево и установится против надписи на шкале «Возбуждение» — А4. В этом случае указатель питается по цепи: плюс клеммы 13/10, провод 1101, резистор Я6, провода 1260, 1261, размыкающий контакт реле РУ8, замыкающий контакт реле РУ10, провода 1266—1269, переключатель ПУ, указатель УП и на минус цепей управления.
При включении автомата А4 (1307, 1433) параллельно резистору Р6 включается резистор Я7 (Я8—И13), а стрелка указателя будет перемещаться вправо по мере срабатывания аппаратов в цепи контактора КВ и займет правое крайнее положение.
Включение аппаратов цепи возбуждения тягового режима проверяется только со 2-й позиции контроллера по шкале «Движение», когда включается реле РУ8 и своим замыкающим контактом включает указатель через резистор Р14 (1258, 1259). При этом по этой шкале контролируется только цепь включения реле РВЗ, так как продолжение этой цепи до катушки контактора КВ идентично для обоих режимов возбуждения и контролируется по шкале «Возбуждение».
Контроль неисправности цепей управления ведомой секции производится переключением тумблера ПУ (1272, 1273, 1276, 41) а подачей на указатель питания через межсекционное соединение 2Т.










