VI.4. Колесно-моторный блок
Колесно-моторный блок осуществляет кинематическую и силовую связь между тяговым электродвигателем и колесной парой тепловоза. Тяговый электродвигатель одной стороной жестко опирается на ось колесной пары через моторно-осевые подшипники, а другой (опорным приливом) — упруго через пружинную подвеску на раму тележки. При такой подвеске практически половина массы тягового электродвигателя жестко связана с необрессоренными массами колесной пары и составляет для одного блока около 4250 кг.
Вращающий момент тягового электродвигателя передается на колесную пару через одноступенчатую зубчатую передачу; шестерню, напрессованую на вал якоря и находящуюся в постоянном зацеплении с упругим зубчатым колесом колесной пары. Шестерня и -зубчатое колесо закрыты кожухом, который крепится болтами в трех точках к остову электродвигателя. Для защиты от пыли и влаги торец моторно-осевого подшипника со стороны коллектора электродвигателя закрыт хомутом, который выполнен в виде двух полуколец, армированных войлоком. Торец моторно-осевого подшипника со стороны зубчатой передачи находится в контакте со ступицей зубчатого колеса. Для улучшения смазывания торцовых поверхностей на торцах передних половин вкладышей выполнено по две прорези, в которые при сборке устанавливают войлочные полосы размерами 6x10x160 мм. Общее перемещение тяговрго электродвигателя относительно оси должно быть не более 1,2 мм.
Моторно-осевые подшипники (рис. 84) имеют разъемные вкладыши 1 и 3, изготовленные из бронзы. Положение вкладышей в корпусе электродвигателя фиксируется шпонкой 2. Верхние вкладыши 1 установлены в остов двигателя, нижние 3 с вырезом 180x60 мм для подвода смазки прижаты к верхним корпусами 12 подшипников, которые имеют камеры для размещения смазывающего польстерного устройства. Корпус подшипника крепится к остову электродвигателя четырьмя болтами 15, момент затяжки болтов 1250—1420 Н-м (125—142 кгс-м). Вкладыши осевых подшипников левой и правой сторон электродвигателя взаимозаменяемы.
Во избежание повышенных давлений по краям вкладышей из-за прогиба оси колесной пары расточку внутренней поверхности вкладышей выполняют по гиперболе. Разность диаметров гиперболической расточки на краях рабочей поверхности вкладышей и в средней части составляет 1 мм. Строительный диаметральный зазор в осевом подшипнике по вершине гиперболы составляет 0,5—0,86 мм. В процессе эксплуатации допускается увеличение зазора до 1,8 мм. Производить на сменяемых вкладышах расточку внутренних поверхностей следует по усеченным конусам в предельных размерах гиперболической расточки.
Смазывание моторно-осевых подшипников тяговых двигателей ЭД-118А осуществляется польстерным устройством, укрепленным на дне корпуса 12 подшипника. Смазку к узлу трения подает польстерный пакет (фитиль) 13. Он собран из трех пластин тонкошерстного каркасного войлока размерами 13x157x190 мм. Каждая пластина состоит из четырех спрессованных слоев тонкошерстного войлока, между которыми проложена шерстяная ткань, состоящая из 50 % шерсти и 50 % штапельно-вискозного полотна. Как показал опыт эксплуатации, польстерный пакет можно собирать из двух войлочных пластин размерами 8x157x190 мм и 12 хлопчатобумажных фитилей шириной 80 мм и длиной 200 мм, уложенных между ними в два ряда. Польстерный пакет 13 закреплен в подвижной коробке 4 так, что рабочий торец пакета выступает на (16 + 1) мм над кромкой коробки. Коробка для возможности перемещения без перекосов и заеданий в направляющих корпуса 5 подпружинена четырьмя пластинчатыми пружинами: по две снизу и сверху. Каждая пластинчатая пружина одним концом прикреплена к коробке и имеет возможность свободно перемещаться в пазе корпуса коробки при ее деформации. Коробка с польстерным пакетом постоянно поджимается усилием 40—60 Н (4—5 кгс) через окно во вкладыше 3 к шейке оси колесной пары. Усилие создают винтовые пружины 9, действующие через рычаг 8. Оси 6 и 7 рычага 8 и пружин 9 закреплены в корпусе 5. Для удержания рычага в поднятом положении при проведении работ, связанных с выемкой польстер-ного пакета, на ось 7 установлен пружинный фиксатор 10, свободный конец которого выполнен так, что при неопущенном в рабочее положение рычаге 8 он не дает возможности установить крышку 11 на корпус 12 подшипника.
Масляная ванна корпуса подшипника в нижней части имеет отстойник для конденсата со сливной пробкой 14, а сверху закрыта крышкой 11 с паронитовой прокладкой. Заполняется масляная ванна через отверстие в боковой стенке корпуса подшипника осевым маслом Л, 3 или С в зависимости от времени года и места эксплуатации тепловоза. Кромка заправочного отверстия определяет наибольший уровень смазки, соответствующий объему масла в ванне 6 л. Наименьший допустимый уровень смазки отмечен риской на щупе маслоуказателя 16, закрывающем заправочное отверстие польстерной камеры осевого подшипника.
В целях повышения работоспособности осевых подшипников, особенно при эксплуатации в северных районах, тепловозы с конца 70-х годов оборудуются электродвигателями ЭД-П8Б с циркуляционной системой смазывания. В целом колесно-моторные блоки с электродвигателями ЭД-118А и ЭД-118Б взаимозаменяемы.
Циркуляционная система смазывания осевых подшипников (рис. 85) обеспечивает циркуляцию масла по замкнутому кругу через вкладыши осевых подшипников. На тяговом электродвигателе / установлен единый осевой подшипник 2, который включает в себя две польстерные камеры 3 и 9 и в нижней средней части маслосборник 15 вместимостью 35 л, соединенные системой каналов. В маслосборнике на крышке 10 установлен шестеренный насос 13, который приводится в действие от оси колесной пары через шестерню 11, выполненную разъемной для возможности монтажа и демонтажа без расформирования колесной пары, и зубчатое колесо 12, укрепленное на валу насоса. Зацепление зубчатой передачи привода насоса регулируют прокладками 16 крышки 10. При этом между зубьями устанавливают увеличенный (до 1 мм) боковой зазор для компенсации сдвижки централи передачи, вызываемой износом вкладышей осевого подшипника в процессе эксплуатации.
В польстерных камерах вместимостью 5 л каждая размещены польстерные смазывающие устройства 17, полностью унифицированные с устройствами, применяемыми для электродвигателей ЭД-118А. Камеры левой и правой сторон сообщаются через канал Г на уровне нижних кромок окон вкладышей 18. При движении тепловоза масло, нагнетаемое насосом, по системе каналов в подшипнике поступает в польстерные камеры, оттуда самотеком через окна во вкладышах проникает в зазор между шейкой оси колесной пары и вкладышем, а затем по каналам Д сливается в маслосборник, замыкая круг циркуляции. В момент трогания и до скорости 25 км/ч, когда насос не обеспечивает подачу достаточного количества масла, смазывание подшипника в основном осуществляется польстерным устройством, как на ЭД-118А.
Для уменьшения потерь масла при циркуляции и исключения возможности попадания в него смазки тяговой зубчатой передачи, а также влаги и пыли из атмосферы вкладыши выполнены за одно целое с комбинированным контактно-лабиринтным уплотнением. Кроме того, вкладыши сделаны биметаллическими с баббитовой заливкой на бронзовой основе для лучшей приработки и во избежание задиров шеек осей колесных пар. Расточка внутренней поверхности вкладышей также производится по гиперболе, но под шейки осей диаметром 210 мм, чтобы сохранить жасткость биметаллических вкладышей на уровне бронзовых.
Рис. 85. Система смазывания осевого подшипника электродвигателя ЭД-118Б: / — тяговый электродвигатель; 2 — осевой подшипник; 3, 9 — польстерные камеры; 4, 8 — сливные пробки польстерных камер; 5 -— контрольная пробка; 6 пробка заправочного отверстия; 7 — сливная пробка маслосборника; 10 — крышка; // — шестерня; 12 — зубчатое колесо; 13 — насос; 14, 20 — болты; 15 — маслосборник; 16 — прокладка; 17 — нольстерное смазывающее устройство; 18 — вкладыш с окном для подачи смазки; 19 — корпус польстера; В, Г — каналы для подачи смазки в польстерные емкости; Д —
Систему смазывания заправляют осевым маслом. Масло заливают в польстерные камеры по нижнюю кромку окна вкладыша, а в маслосборник — по кромку заправочного отверстия 6. В процессе эксплуатации за работой насоса наблюдают через отверстие, закрываемое пробкой 5.
Шестеренный насос (рис. 86) имеет чугунный корпус 4, в который вставлены шестерни 2 и 3 с 14 зубьями каждая, модулем 2 Мм и шириной венца 14 мм. Шестерни обеспечивают подачу масла в систему смазывания осевого подшипника. К корпусу насоса штифтами 9 и болтами 14 крепится клапанная коробка 1, в которой размещаются обратные шариковые клапаны 13, работающие на всасывание и нагнетание при обоих направлениях вращения насоса. Всасывающие отверстия клапанной коробки закрыты сеткой 12. На хвостовик вала шестерни 3 установлено приводное зубчатое колесо 10, которое находится в зацеплении с шестерней, расположенной на оси колесной пары. Приводное зубчатое колесо снизу ограждено кожухом И для уменьшения барботажных потерь (вспенивания) .
Тяговый редуктор тепловоза предназначен для повышения вращающего момента, передаваемого тяговым электродвигателем на колесную пару, и обеспечения заданной длительной и конструкционной скоростей движения тепловоза.
Основные параметры зубчатой передачи тягового редуктора
- шестерни ............................................................... '7
- колеса ................................................................... 75
- Модуль, мм .............................................................. 'О
- Угол исходного контура, град .................................. 20
Коэффициент коррекции:
- шестерни ............................................................... 0,505
- колеса ................................................................... 0,437
Длина общей нормали, мм:
- шестерни ............................................................... 79,639_о,з'8«,.-0 4
- колеса ................................................................... 264 "
Диаметр окружности выступов, мм:
- шестерни ............................................................... 198,88
- колеса ................................................................... 777,5
- Передаточное число ................................................ 4,412
- Межцснтровос расстояние, мм ................................ 468,8
Число зубьев:
Зубчатая передача редуктора при опорно-осевом подвешивании тягового электродвигателя работает в тяжелых условиях из-за переменных режимов работы и динамических нагрузок, перекосов зубчатых колес от деформации оси и вала якоря, а также перекосов остова тягового электродвигателя вследствие зазоров в осевом подшипнике, которые в эксплуатации могут достигать 2 мм и более. Для обеспечения надежности и увеличения срока службы редуктора зубчатое зацепление выполнено с самоустанавливающимся зубчатым венцом упругого колеса. Венец и ведущую шестерню изготавливают из легированных сталей.
Шестерня изготавливается из стали 12Х2Н4А. Поверхности зубьев и впадин шестерен цементируют на глубину 1,6— 1,9 мм (после шлифовки) и подвергают закалке до твердости НИС 3* 59; твердость сердцевины зуба и обода НЕС 3* 35. С целью повышения усталостной прочности при изгибе шестерен исходный профиль впадин зубьев выполняют с выкружками (протуберанцами) и не шлифуют. Продольных скосов, как в прежних жестких передачах, зубья шестерен не имеют, а влияние перекоса компенсируется самоустанавливающимся зубчатым венцом упругого колеса. После закалки и шлифовки профили зубьев и впадины шестерни подвергают магнитной дефектоскопии.
Шестерню, предварительно нагретую до 443 К (170 °С), насаживают на конический (конусность 1:10) хвостовик вала якоря тягового электродвигателя с осевым натягом 1,3—1,45 мм. Перед насадкой шестерни на вал их сопрягаемые посадочные поверхности проверяют на прилегание по краске (прилегание должно быть не менее 75 %). На валу электродвигателя шестерню для предотвращения сползания с конуса в нагретом состоянии дополнительно крепят гайкой [момент затяжки 500 Н-м (50 кгс-м)] и контрят от-гибочной шайбой. Для съема шестерни гидрораспрессовкой на торце вала электродвигателя предусмотрено резьбовое отверстие с выходом на сопрягаемую посадочную поверхность для установки специального ручного гидронасоса.
Зубчатое колесо (рис. 87) имеет зубчатый венец 6, который через упругие элементы 1 ш 2 посредством тарелок 19, призонных втулок 4, болтов И и гаек 3 соединен со ступицей 20 и жестко сцентрирован через ролики 10 по ее сферической поверхности. Момент затяжки болтов крепления тарелок 80—90 Н-м (8— 9 кгс-м). Собранное зубчатое колесо насажено ступицей на ось колесной пары с натягом 0,16—0,22 мм.
Зубчатый венец изготавливают из стали 45ХН. Рабочая поверхность зубьев подвергается секторной закалке токами высокой частоты на глубину 3—5 мм до твердости ЖС > 50, твердость сердцевины зубьев и обода венца НВ255—НВ302. Впадины зубьев упрочняют накаткой роликами диаметром 120 мм с усилием 85— 95 кН (8500—9500 кгс). После закалки и шлифовки профиля зубьев и впадины венца подвергают магнитной дефектоскопии.
Упругие элементы для получения нелинейной характеристики тангенциальной жесткости зубчатого колеса выполнены двух типов. Восемь элементов / (малой жесткости), имеющие жесткость (125-Г-135) 10" Н/м (125-П35 кгс/мм), установлены в отверстия диаметром 70 мм тарелок и зубчатого венца по скользящей посадке. Они состоят из пальца 22 и насаженных на неге резиновых амортизаторов 24 и 23, предварительно вставленных в металлические втулки 5, 7 а 8. Втулки 5 и 7 имеют ограничительные бурты, препятствующие одностороннему свободному осевому перемещению по ним венца. Поэтому,на каждой стороне зубчатого венца устанавливают по четыре сформированных упругих элемента 1.
Рис. 87. Зубчатое колесо: ; 2 — упругие элементы; 3 — гайка; 4 - призониая втулка;'5, 7, 8, 16, 18 — втулки; б — зубчатый венец; 9 - кольцо; 10 - ролик; 11 - болт; 12 - отражательное кольцо; 13 - шайба; 14 - полукольцо; 75, 22 - пальцы; 17, 23, 24 - амортизаторы; 19 — тарелка; 20 — ступица; 21 — пружинное кольцо
Упругие элементы в тарелках и венце закрепляют стопорными пружинными кольцами 21.
Восемь других упругих элементов 2 имеют большую жесткость, равную (47-r50) 106 Н/м (470—500 кгс/мм). Они установлены в отверстия тарелок по скользящей посадке, а в отверстия венца — с радиальным зазором 4 мм. Упругий элемент 2 также состоит из профильного пальца 15 и напрессованных на его концы резиновых амортизаторов 17, предварительно вставленных в металлические втулки 16 и 18. Для предотвращения сползания втулка 16 имеет ограничительный бурт и проточку, а втулка 18 — две проточки под установку стопорных пружинных колец 21. Необрезиненная поверхность пальца выполнена бочкообразной (радиусом 270 мм).
Все резиновые амортизаторы упругих элементов изготовляют из маслобензостойкой резины. Формирование упругих элементов производится запрессовкой резиновых амортизаторов в металлическую арматуру; при этом посадочные поверхности предварительно смазывают смесью из 30 % касторового масла и 70 % этилового спирта. Сформированные упругие элементы для стабилизации сцепления резины с металлом выдерживают в течение 20 дней при температуре 288—303 К (15—30 °С) без нагружения и доступа света.
При сборке упругого зубчатого колеса между венцом и ступицей устанавливают без сепаратора 90 роликов 10 размерами 15x25 мм, поверхности качения которых обеспечивают поворот венца относительно ступицы, жесткую их центровку и разгрузку упругих элементов от радиальных усилий в зубчатом зацеплении тяговой передачи. Для возможности самоустановки зубчатого венца поверхность ступицы под роликами выполнена сферической радиусом 300 мм, а упругие элементы сформированы с зазорами до 5 мм между ограничительными буртами втулок. Поверхности венца и ступицы под роликами термообработаны до твердости HRC => 48. В целях предотвращения выпадания пальцев 15 и 22 с наружных сторон тарелок прикреплены ограничительные кольца 9. Тарелки, втулки и пальцы изготовлены из стали 45 или 38ХС и термообработаны для повышения износостойкости гнезд под упругие'элементы.
Передача вращающего момента зубчатым колесом, имеющим упругие элементы двух типов, осуществляется как бы в два этапа: сначала при малом вращающем моменте в работу вступают упругие элементы 1 с меньшей жесткостью, а затем с увеличением вращающего момента (при трогании) венец поворачивается, и при угле поворота примерно Г вступают в работу более жесткие элементы 2. Таким образом обеспечивается требуемая нелинейная характеристика тангенциальной жесткости упругого зубчатого колеса.
Для осмотра деталей упругого зубчатого колеса при ремонтах, а также замены упругих элементов предусмотрена возможность полной его разборки без расформирования колесной пары. При разборке производится сдвижка зубчатого венца в сторону противоположного колесного центра.
Для создания масляной ванны и предохранения зубчатых колес и шестерен от песка, пыли и других абразивных материалов тяговая зубчатая передача помещена в кожух.
Применение в тяговом редукторе упругого зубчатого колеса позволило снизить на 40—50 % динамические нагрузки, возникающие в зацеплении при движении тепловоза, и за счет этого уменьшить повреждаемость тяговых двигателей, кожухов, а также примерно в 2 раза повысить долговечность шестерен и зубчатых колес.
Кожух тягового редуктора (рис. 88) состоит из разъемных верхней 1 и нижней 9 половин сварной конструкции. Плоскость разъема проходит через центры шестерни и зубчатого колеса.
Изнутри и снаружи к верхней половине кожуха по всему периметру приварены накладки 3 и 4. В образованный этими накладками паз укладывают резиновую трубку 5 для уплотнения места разъема. Половины кожуха скрепляют четырьмя болтами 7. Толщина прокладок 6 обеспечивает установку уплотнительной трубки по разъему с натягом.
Кожух центрируют горловиной По бурту вкладыша осевого подшипника и жестко крепят к остову тягового электродвигателя в трех точках болтами М42, ввернутыми в бонки 75 и 8. Две бонки 75 приварены к несущей боковой стенке кожуха вблизи вертикальной плоскости, проходящей через центр зубчатого колеса. Вворачиваемые в них болты воспринимают большую часть веса кожуха Болт, вворачиваемый в бонку 8, которая приварена к листу и обечайке нижней половины кожуха, обеспечивает правильную установку кожуха относительно зубчатого колеса. С помощью прокладок, устанавливаемых под бонки, регулируют зазор между торцами зубчатого колеса и стенками кожуха (должен быть не менее 8 мм) а также радиальный зазор между ступицей колесного центра и горловиной кожуха (должен быть не менее 1,5 мм). Регулирование зазоров необходимо из-за иноса осевого подшипника в процессе эксплуатации. Момент затяжки болтов должен быть 1400—1600 Н-м (140—160 кгс-м).
Уплотнение кожуха с внешней стороны в месте соприкосновения горловины с буртом вкладыша осевого подшипника создается войлочными полукольцами 11, уложенными в пазы горловинь а по отверстию монтажа ведущей шестерни — установленным с натягом войлочным кольцом между стенкой кожуха и подшипниковым щитом тягового электродвигателя. Уплотнение кожуха относительно оси выполнено бесконтактным с дополнительным расширительным коробом 14, который имеет отражательное полукольцо 13 и в нижней части отверстие Б для возврата проникшей в короб смазки в полость кожуха. Герметичность сварных соединений кожуха проверяют керосином. Особое внимание уделяют уплотнению между кожухом и осевым подшипником, так как для них применяют разные смазки, смешивание которых резко снижает работоспособность рассматриваемых узлов и особенно польстерного устройства смазывания осевого подшипника вследствие замасливания фитилей вязкой смазкой зубчатой передачи. Это уплотнение выполнено бесконтактным лабиринтно-кольцевым. Его образуют "тбойное кольцо на ступице зубчатого колеса и желоб, который у.,.~рж"вает-ся полукольцами 12 (по одному на каждой половине), приваренными изнутри к несущей боковине кожуха. В нижней части полукольца 12 имеется отверстие В, которое служит для отвода проникшей через уплотнение смазки за пределы кожуха.
Зубчатая передача тягового редуктора смазывается способом окунания, при котором зубчатое колесо захватывает смазку из нижней части кожуха и подает к месту зацепления с зубьями шестерни. В нижнюю половину кожуха заливают смазку СТП в количестве 5 кг. При этом зубья колеса погружаются в- масло не глубже окружности впадин. Масло благодаря своим высоким показателям вязкости создает на поверхности зубьев непрерывный смазочный слой и в то же время стекает в нижнюю часть кожуха. Смазка СТП зубчатой передачи тягового редуктора, как показал опыт эксплуатации, обладает хорошей влагостойкостью и устойчивостью к окислению, имеет высокий показатель вязкости и удовлетворительные смазывающие качества при низких температурах (—50 °С) Для предотвращения повышения давления газов в кожухе на его верхней половине установлен сапун 2, соединяющий полость кожуха с атмосферой.
В эксплуатации контроль уровня смазки и ее дозаправку производят через горловину, закрытую резьбовой пробкой 10. Уровень смазки ограничивается нижним краем заправочной горловины.
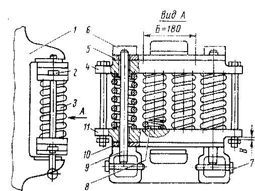
Подвешивание тягового электродвигателя (рис. 89) упругое пружинное, выполнено так, что позволяет без труда опустить полностью колесно-моторный блок и выкатить его из-под тепловоза без выкатки тележки. Такое подвешивание называют обычно траверсным. Оно состоит из нижней 11 и верхней 4 балочек с приваренными к ним накладками 5 и 10 из стали 20Х, цементированными и закаленными до твердости НЯС 3* 50, и четырех расположенных между балочками пружин 3, изготовленных из прутка диаметром 21 мм пружинной стали 60С2. Пружины 3, предварительно затянутые усилием около 40—50 кН (4—5 тс) с помощью стяжных болтов 2. Собранная траверса устанавливается между четырьмя опорными приливами кронштейна 6 поперечной балки рамы тележки и закрепляется от выпадания из кронштейна направляющими стержнями 9, пропущенными через отверстия кронштейна 6 и балочек 4 и 11 траверсы. Крайние пружины удерживаются направляющими стержнями, а средние — специальными трубчатыми выступами 8, приваренными к балочкам. Направляющим стержням не дают выпасть валики 7, прикрепленные болтами к кронштейну рамы тележки.
При установке колесно-моторного блока на тележку двигатель поворачивают приблизительно на 30° относительно горизонтальной плоскости и путем опуска рамы тележки или подъема колесно-моторного блока заводят опору (носик) двигателя на траверсу, установленную на раме тележки. После установки тягового электродвигателя 1 отпускают стяжные болты, создавая зазор В - 10 мм между гайками и опорными поверхностями нижней балочки. При этом траверсу устанавливают с натягом в кронштейне тележки и с незначительным зазором в опоре двигателя для обеспечения поперечных и продольных перемещений колесно-моторного блока, которые возникают при движении тепловоза.
Рис. 89. Подвешивание тягового электродвигателя: 1 — тяговый электродвигатель; 2 — стяжной болт; 3 — пружина; 4, 11 — верхняя и нижняя балочки; 5, 10 — накладки; 6 — кронштейн рамы тележки; 7 — валик; <У — трубчатый выступ; 9 — направляющий стержень; Б — длина рабочей поверхности накладки; В — зазор
Упругая.пружинная траверсная подвеска тягового электродвигателя смягчает удары, передаваемые на раму тележки при колебаниях колесно-моторного блока во время движения. Пружины подвески рассчитывают так, чтобы при наибольшей силе тяги между их витками оставался зазор. Однако при движении тепловоза ко-лесно-моторный блок совершает колебания (особенно интенсивные при боксовании), которые могут привести к полной осадке пружин. Это вызывает отрыв балочек траверсы от поверхностей контакта с кронштейном рамы тележки, опоры двигателя и большие ударные нагрузки, которые передаются на узлы подвешивания тягового электродвигателя. Кроме того, опорная часть двигателя при движении перемещается по балочкам траверсы (особенно средней колесной пары тележки) как в продольном, так и в поперечном направлении. Все это вызывает интенсивный износ трущихся деталей (накладок траверсы, опор двигателя и кронштейнов тележки), которые после пробега 400 тыс. км подлежат замене или восстановительному ремонту.
Уменьшение этого нежелательного явления и, следовательно, повышение долговечности подвески достигаются за счет применения упругих элементов, обладающих нелинейно нарастающей жесткостью, в частности, резинометаллических втулок в маятниковой подвеске типа "Серьга" (рис. 90). В этой конструкции вместо нижней отъемной опоры, используемой в серийной траверсной подвеске, к двигателю / прикреплен болтами 4 кронштейн 3, фиксируемый шпонкой 5.
Рис. 90. Маятниковая подвеска типа "Серьга": / — тяговый электродвигатель; 2 — серьга; 3, 6 — кронштейны; 4 — болт; 5 — фиксирующая шпонка; 7 — резинометаллическая втулка; & — валик
Нижняя проушина серьги 2 резинометаллической втулкой и валиком 8 соединяется с кронштейном двигателя. Верхняя проушина серьги 2, расположенная с нижней в одной плоскости, перпендикулярной оси колесной пары, аналогичным образом соединена с кронштейном 6 поперечной балки рамы-тележки.
При такой подвеске поперечные перемещения электродвигателя сопровождаются деформацией резиновых втулок проушин и отклонением серьги, а вертикальные — только деформацией резиновых втулок; поворот двигателя при наезде одного колеса на неровность или возвышение наружного рельса в кривых производится за счет деформации резиновых втулок и отклонений серьги. Применение подвески типа "Серьга" предусмотрено на тепловозах, подлежащих оборудованию модернизированными тяговыми электродвигателями с моторно-осевыми подшипниками качения.










