12.7.6. Работ электрической схемы возбуждения и регулирования тягового генератора
Тяговый генератор имеет независимое возбуждение. Как было описано ранее, независимая обмотка возбуждения Я—НН питается от возбудителя В, в свою очередь также имеющего обмотки независимого возбуждения — намагничивающую HI—НН1 и размагничивающую Н2—НН2. Первая из них подключена на выход рабочей обмотки ампли-стата и ток в ней регулируется системой автоматического регулирования возбуждения тягового генератора (нормальный режим). Вторая включена в общую электрическую цепь управления тепловозом и питается постоянной для каждой позиции величиной тока.
Основная функция системы автоматического регулирования возбуждения заключается в поддержании постоянства мощности тягового генератора, заданной для данной позиции. Кроме того, система автоматического регулирования возбуждения обеспечивает ограничение критических параметров тягового генератора по току и напряжению.
Зависимость напряжения генератора UT от тока его нагрузки <УГ — 21 (/г) иллюстрируется внешней характеристикой генератора (рис. 133). На этой характеристике участок ДГ является ограничением по максимальному напряжению (в основном по допускаемой величине среднего напряжения между пластинами коллектора). Рабочая зона характеристики при мощности Рт = const ограничена гиперболическим участком ГБ. При этом часть гиперболического участка В Б характеризуется ограничением длительности реализуемых токов данной зоны (по условиям нагрева коллектора и обмоток). Время использования этих токов уменьшается по мере приближения к точке Б. Отсюда начинается участок БА — ограничение по максимальному току и условиям коммутации коллектора тягового генератора.
Процесс регулирования тока возбуждения основан на зависимости выходного тока, амплистата от сигналов (токов) обратной связи по току нагрузки и напряжению тягового генератора. Принципиальная схема узла обратной связи представлена на рис. 134. Выходным током амплистата является ток в его рабочей обмотке Н1К.1— Н2К2, после выпрямления попадающий в обмотку возбуждения возбудителя. Величина этого тока зависит от степени намагничивания (насыщенности) сердечника амплистата, которая в свою очередь зависит от величины результирующего магнитного потока, создаваемого задающей, регулировочной, управляющей и стабилизирующей обмотками амплистата. Токи задающей и регулировочной обмоток создают намагничивающий поток одного направления, а ток управляющей сбмотки создает поток противоположного направления. Стабилизирующая обмотка работает только при переходных процессах в электрической схеме, т. е. выполняет роль демпфера электрической схемы.
Рис. 133. Внешняя характеристика тягового генератора:
1 — селективная характеристика при минимальной уставке (рабочая обмотка отключена); 11 — внешняя характеристика; /// — селективная характеристика при максимальной уставке
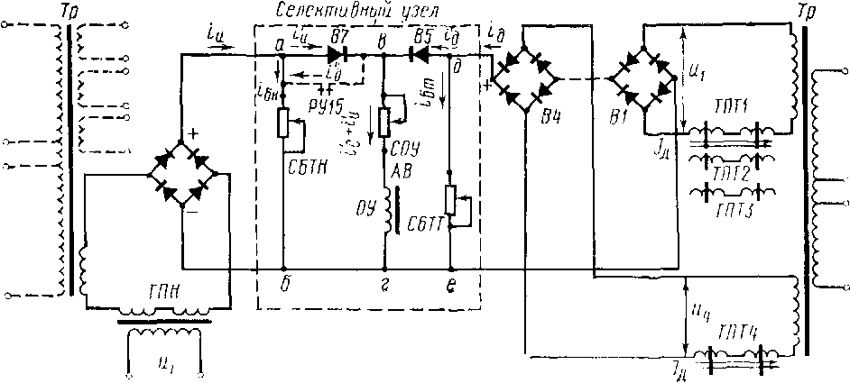
Рис. 134. Принципиальная схема узла обратной связи
При увеличении намагничивающей силы и насыщенности сердечника амплистата индуктивное сопротивление рабочей обмотки уменьшается, а ее выходной ток, поступающий в обмотку возбуждения возбудителя, увеличивается. Следовательно, увеличивается напряжение тягового генератора. Уменьшение насыщенности сердечника вызывает обратный процесс. Характеристика амплистата, показывающая зависимость тока выхода от намагничивающей силы обмоток подмагни-чивания, приведена на рис. 135.
Ток задающей обмотки пропорционален изменению напряжения тахометрического блока, т. е. частоте вращения вала дизеля и ограничиваемого резистором СОЗ.
На тахометрический блок переменное напряжение подается от синхронного подвозбудителя с клеммы 7/11 (759, 743) через балластный резистор СБТ и с клеммы 2/3 (756).
Выпрямленное напряжение поступает на задающую обмотку амплистата с клеммы 2 (+) по проводу 1143 на размыкающий контакт РУ17. Далее, на 1-й позиции контроллера питание на обмотку 03 подается непосредственно через резистор СОЗ (1139, 424, 443), часть которого зашунтирована только замкнутыми контактами отключателей моторов ОМІ—0М 6 (431, 420, 421, 427, 432); на 2-й и 3-й позициях— через замыкающий контакт РУ8 (419, 417, 425 ...); с 4-й позиции и выше — через замыкающий контакт РУ10 (419, 418, 421).
Регулировочная обмотка амплистата питается с клемм 01—02 распределительного трансформатора TP (1086, 433). Переменное напряжение поступает через обмотку индуктивного датчика (414, 407)
на выпрямительный мост БВ (кл. 3, 4—5), выпрямляется и с клемм 1 и 2 подается на резистор СОР (1087, 1088), далее по проводам 413, 465 и через замкнутые на 4-й позиции контакты реле РУ10 (411, 412, 415, 5Ziy— на регулировочную обмотку.
Обмотка управления ОУ амплистата является выходной частью узла обратной связи по току и напряжению главного генератора. Узел обратной связи (см. рис. 134) состоит из трансформаторов постоянного тока ТПТ 1-4, трансформатора постоянного напряжения ТПН, выпрямительных мостов и селективного узла СУ.
Как видно из схемы, ток управляющей обмотки равен сумме токов на выходе рабочих (вторичных) обмоток ТПТ и ТПН, питающихся от распределительного трансформатора ТР. Подмагничиваю-щей (первичной) обмоткой каждого ТПТ являются кабели силовой цепи, а у трансформатора ТПН — первичная обмотка, включенная на напряжение тягового генератора. Поэтому подмагничивание сердечников и выходные токи рабочих обмоток ТПТ и ТПН прямо пропорциональны току и напряжению генератора. Чем больше будут ток или напряжение тягового генератора, тем больше будут подмагничи-вающие токи ТПТ или ТПН, т.е. больше будет ток в управляющей обмотке. При одном и том же для данной позиции токе задания (в задающей обмотке) увеличение тока управления (в управляющей обмотке) будет приводить к уменьшению потока намагничивания (размагничиванию) сердечников амплистата и уменьшению выходного тока амплистата в обмотке возбуждения генератора. При уменьшении тока управления — наоборот. Следовательно, в'зависимости от тока нагрузки автоматически изменяется напряжение генератора.
Подмагничивающая обмотка (НУ—КУ) ТПН включена на напряжение генератора через регулирующий резистор СТН (498 , 497, 508). На рабочую обмотку ТПН и выпрямительный мост В4 переменное напряжение подается от обмотки Н5К5 распределительного трансформатора (1091, 1092, 1094). Выпрямленное напряжение с моста В4 подается на балластный резистор СБТН, который вместе с диодом В7 выполняет функцию селективного узла со стороны сигнала по напряжению.
Подмагничивающей обмоткой ТПТ, как уже было сказано, являются силовые кабели от генератора к тяговым электродвигателям, проходящие попарно через каждый из четырех ТПТ: ТПТ-1 — кабели 531, 533; ТПТ-2 — кабели 535, 536; ТПТ-3 — кабели 534, 536; ТПТ-4 — кабели '531, 532.
На рабочие обмотки ТПТ и выпрямительные мосты переменное напряжение подается также с обмоток распределительного трансформатора:
НЗКЗ (1076, 1077, 1085) — ТПТ-1, ВЗ;
Н4К4 (1078, 1079, 1084) — ТПТ-2, В2;
Н2К2 (1074, 1075, 1083) — ТПТ-3, В1;
Н102 (455, 1260, 1080, 1081, 1082) — ТПТ-4, В6.
Выпрямленное напряжение через четыре последовательно соединенных моста подается на балластный резистор СБТТ, который вместе с диодом В5 выполняет функцию селективного узла со стороны сигнала по наибольшему из токов пары тяговых электродвигателей.
Последовательно соединенные выпрямительные мосты, выделяющие наибольший из поступающих сигналов от трансформаторов ТПТ-1—4, называют узлом выделения максимума. Если ток пары электродвигателей в кабелях, проходящих через ТПТ-1 (см. рис. 134), больше, чем в кабелях каждого из остальных трансформаторов ТПТ-2—4, то больше и его подмагничивающее действие на сердечник ТПТ-1. Индуктивное сопротивление рабочей обмотки в этом случае меньше, чем у остальных, а значит напряжение цепи U-,, приложенное к мосту В1, будет наибольшим по отношению к мосту В4 на величину (£/,—04). На выходе же моста В4 суммарная величина выпрямленного напряжения будет равна выходному напряжению U4 плюс величина разности напряжений (U1—£/4), т. е. результирующее напряжение будет пропорционально наибольшему из токов пары тяговых электродвигателей.
Стабилизирующая обмотка амплистата получает питание непосредственно со вторичной обмотки стабилизирующего трансформатора СТР, первичная обмотка которого через резистор СТС включена на напряжение возбудителя (476, 477, 495).










