3.3. Блок дизеля
Блок служит остовом, на котором установлены все детали и узлы дизеля. Блок представляет собой стальную сварную конструкцию, состоящую в основном из горизонтальных и вертикальных, продольных и поперечных листов.
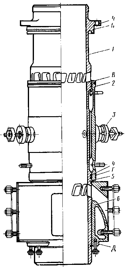
дизеля (внешний вид)" width="377" height="332">
Рис 11 Блок дизеля (внешний вид)
1 — отсек выпускных коллекторов, 2— отсек управления, 3 — отсек верхнего коленчатого вала, 4 — полость для установки воздухоохладителя, 5 — отсек вертикальной передачи, 6 — отсек топливной аппаратуры; 7 — отсек воздушного ресивера 8 - опік нижнего колеичатоїо вала
Главные элементы силовой схемы блока — вертикальные листы, которые несут основную силовую нагрузку. Вертикальные листы отделяют в передней части блока отсек управления 2 (рис. 11), а в задней части—отсек вертикальной передачи 5 и привод центробежного нагнетателя.
В центральной части блока вертикальные листы создают отсеки, в которых расположены цилиндры. Горизонтальными листами блок делится на пять отсеков: верхнего коленчатого вала 3, воздушного ресивера 7, топливной аппаратуры 6, выпускных коллекторов 1 и нижнего коленчатого вала 8. Отсеки нижнего и верхнего коленчатых валов соединены друг с другом через отсеки вертикальной передачи и управления.
На торце блока со стороны управление крепятся: в верхней части — крышка отсека управления и кронштейн, предназначенный для установки двух турбокомпрессоров; в нижней части — выпускные патрубки и опорная плита, на которой установлены агрегаты дизеля с приводом. К торцу блока со стороны генератора в верхней части прикреплен центробежный нагнетатель с редуктором и воздухоохладители, в нижней части — корпус уплотнения коленчатого вала и валоповоротный механизм.
Большая часть агрегата, механизмов и трубопроводов помещается внутри блока. Для осмотра и демонтажа этих узлов в блоке имеются соответствующие люки. Отсеки выпускных коллекторов закрыты плитами жесткости, которые прикреплены к блоку призонными болтами и шпильками. К вертикальным листам вверху и внизу приварены опоры коренных подшипников коленчатых валов (по 12 для каждого вала). К опорам прикреплены стальные крышки подшипников. Для удобства монтажа и демонтажа подшипников верхние крышки крепятся к опорам блока шпильками, а нижние — болтами.
Коренные вкладыши — бронзовые с баббитовой заливкой (рис. 12, а, б, в, г). В крышки коренных опор верхнего и нижнего коленчатых валов установлены бесканавочные вкладыши (см. рис. 12, а и б), в постели блока —• канавочные вкладыши (см. рис. 12, в и г).
Бесканавочные вкладыши, устанавливаемые в крышке верхнего коленчатого вала (см. рис. 12, б), отличаются от бесканавочных вкладышей, устанавливаемых в крышки нижнего коленчатого вала (см. рис. 12, а), наличием масляной канавки на тыльной стороне и двух отверстий, через которые обеспечивается подвод масла к шейкам верхнего коленчатого вала.
Вкладыши одиннадцатых коренных опор (считая со стороны управления) верхнего и нижнего коленчатых валов, устанавливаемые в блок, являются упорными (см. рис. 12). Остальные вкладыши коренных опор обоих коленчатых валов — опорные.
В верхней части к вертикальным листам приварены справа и слева от оси блока по 11 опор кулачковых валов топливных насосов. Отсеки верхнего и нижнего коленчатых валов и воздушного ресивера оборудованы предохранительными клапанами. Блок сверху закрыт крышкой, имеющей смотровые люки.
Рис. 13. Втулка (гильза) цилиндра:
1— втулка; 2 — рубашка; 3 — адаптер (переходник); 4 — уплотнителыюе кольцо; 5 — упорное кольцо; 6 — выпускная коробка










