3.1. Назначение и работа
дизель-генератор 10Д100 — силовая (энергетическая) установка тепловоза 2ТЭ10В. дизель соединен с генератором полужесткой муфтой и смонтирован с ним на одной раме.
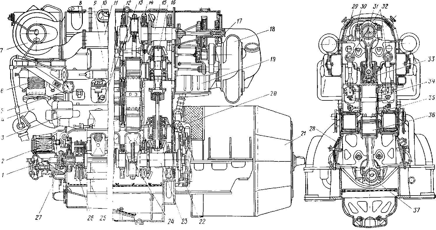
дизель 1 ОД 100 (рис. 7) — двухтактный, вертикальный, десятицилиндровый, двухвальный с противоположно движущимися поршнями, непосредственным впрыском топлива, прямоточной продувкой и водяным охлаждением. В верхней части гильзы цилиндра расположены впускные окна, через которые воздух поступает в цилиндр из продувочного ресивера.
В нижней части гильзы расположены выпускные окна, через которые газы, отработавшие в цилиндре, поступают в выпускной трубопровод. В центральной части гильзы цилиндра диаметрально противоположно расположены две форсунки, которые впрыскивают топливо в камеру сгорания, образуемую поршнями при их сближении.
дизель-генератор 10Д100" width="717" height="378">
Рис. 7. дизель-генератор 10Д100: 1, 17 — валы отбора мощности; 2 — масляный насос; 3 — объединенный регулятор; 4 — выпускной патрубок; 5 — тахометр; 6 — компенсатор; 7 _ турбокомпрессор; 8 — маслоотделитель; 9 — блок; 10 — крышка блока; — трубопровод воздушный; 12 — топливный насос; 13 — форсунка; 14 — верхний шатун- 15 — верхний коленчатый вал; 16 — вертикальная передача; 18 — центробежный нагнетатель второй ступени; 19 — воздухоохладитель; 20 — валоповоротный механизм; 21 — генератор; 22 — муфта привода генератора; 23 — нижний коленчатый вал; 24 — нижний шатун; 25 — рама дизель-генератора; 26 — антивибратор; 27 — привод масляного насоса и регулятора; 28, 29 — смотровые люки; 30 — трубопровод масла; 31 — коренной подшипник верхнего коленчатого вала; 32 — распределительный вал; 33 — поршень верхнего коленчатого вала; 34 — втулка цилиндра; 35 — водяной патрубок; 36 — поршень нижний; 37 — коренной подшипник нижнего коленчатого вала
дизеля с противоположно движущимися поршнями" width="474" height="382">
Рис. 8. Схема работы двухтактного дизеля с противоположно движущимися поршнями:
1 — верхний поршень; 2 — впускные окна; 3 — форсунка; 4 — камера сгорания; 5 — выпускные окна; 6 — нижний поршень
Рис. 9. Круговая диаграмма рабочего цикла
Верхний и нижний коленчатые валы соединены между собой торсионной вертикальной передачей. От нижнего коленчатого вала вращение передается на вал генератора, а также на валы масляного и водяных насосов, объединенного регулятора и механического тахометра. От верхнего коленчатого вала приводятся в действие центробежный нагнетатель и кулачковые валы топливных насосов.
Впускные и выпускные окна открываются и закрываются поршнями при их движении в цилиндре. Нижний коленчатый вал при вращении опережает верхний коленчатый вал на 12°, вследствие чего он передает примерно 70% мощности дизеля. Это опережение обеспечивает также запаздывание закрытия впускных окон относительно выпускных, чем достигается «дозарядка» цилиндра свежим воздухом.
Подачу воздуха в цилиндры дизеля обеспечивает система наддува с охлаждением наддувочного воздуха. Система наддува двухступенчатая: первая ступень — два автономных турбокомпрессора, работающие параллельно; вторая ступень — центробежный нагнетатель с механическим приводом.
Турбокомпрессоры приводятся во вращение энергией выпускных газов. Атмосферный воздух засасывается турбокомпрессорами и подается под давлением по двум воздухопроводам к центробежному нагнетателю. Давление воздуха в центробежном нагнетателе повышается до требуемой величины и через воздухоохладители, расположенные с левой и правой стороны дизеля, воздух поступает в воздушный ресивер и далее в цилиндры дизеля.
Схема работы двухтактного дизеля с противоположно движущимися поршнями и круговая диаграмма его рабочего цикла приведены на рис. 8, 9.










