10.6. Воздухопровод автоматики
Сжатый воздух к электропневматическим аппаратам и пневматическим устройствам управления тепловозом поступает из воздухопровода автоматики (рис. 69).
Из питательной магистрали воздух проходит фильтр 27 и разветвляется по двум трубопроводам. От одного трубопровода воздух давлением 7,5 — 8,5 кгс/сма поступает через клапан 2 на свисток 3 или тифон 4. В тифоне звук вызывается колебанием мембраны при выходе воздуха в атмосферу, а труба усиливает звук. На тепловозах выпуска 1975 г. от воздухопровода имеется отвод к тифону вызова помощника машиниста.
Рис. 69. Воздухопровод автоматики:
1— стеклоочиститель с пусковым краном; 2 — клапан тнфона и свистка; 3— свисток; 4— тифон; 5, 7 — групповые контакторы; 6 — реверсор; 8 — контакторы; 9 — воздушный цилиндр поворота колеса воздухоочистителя; 10 — кран 1050 сб; 11 — воздушный цилиндр включения привода вентилятора; 12 — воздушный цилиндр привода правых жалюзи; 13 — воздушный цилиндр привода левых жалюзи; 14 — воздушный цилиндр привода верхних жалюзи; 15 — клапан запорный; 16, 23 — краны разобщительные (4200 сб); 17, 18, 19 — электропневматические вентили (ВВ-3), привода жалюзи, привода вентилятора и отключения пяти и десяти топливных иасосов; 20 — манометр давления воздуха в контакторах; 21 — ускоритель пуска; 22 — патрубок для обдува высоковольтных камер; 24 — электропневматический вентиль песочной системы; 25 — клапан максимального давления ЗМД; 26, 28 — краны разобщительные (383 сб); 27— фильтр Э114
Рис. 70. Пневматический привод стеклоочистителя: 1 — крышка, 2 — уплотнение; 3— корпус; 4 — сектор, 5 — рейка зубчатая; 6 клапан; 7 — гай ка; 8—поршень; 9 — корпус золотника; 10 — золотник; 11 —пробка; А, Б, Д, Е, Я —полости; В, Г, И, Л. М. О. П, Р — каналы
Из этого же трубопровода воздух поступает на обмыв лобовых стекол кабины машиниста и на стеклоочиститель 1.Доступ воздуха в пневматический привод стеклоочистителя (рис. 70) и изменение цикличности работы стеклоочистителя осуществляются вращением винта 6 запорно-регулировочного клапана (рис. 71). При этом воздух из магистрали по каналам Ф и Т крана и каналам М и Р привода стеклоочистителя (см. рис. 70) поступает в полость А, зубчатая рейка 5 перемещается вправо и через зубчатый сектор 4 и ось приводит в движение щетку стеклоочистителя. Воздух, вытесняемый из полости Б, по каналам В и. Л поступает в полость Е и перемещает вправо поршень 8, после чего, проходя через отверстие в поршне, отжимает подпружиненный клапан 6 и по каналу Г поступает в канал X (см. рис. 71) и далее через канал О в атмосферу. Перемещаясь вправо, зубчатая рейка уплотнением 2 (см. рис. 70) откроет канал П, по которому воздух из полости А поступит в полость Я золотника и переместит его вправо. Воздух из полости К через канал И вытеснится в атмосферу. При этом золотник 10 соединит каналы Р с Л и каналы M с В. Воздух по каналам M и В начнет поступать в полость Б, а из полости А через каналы Р и Л в полость Е и через клапан 6 уйдет в канал X запорно-регулиро-вочного клапана и далее в атмосферу. Перемещаясь влево, зубчатая рейка своим уплотнением соединит полость Б с каналом И, воздух по нему зайдет в полость К, золотник переместится и цикл повторится.
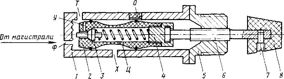
Рис 71. Кран запорно-регулировочный:
1 — корпус; 2 — золотник; 3 — клапан; 4 — болт; 5 — крышка; б — винт ри улировочный; 7 — винт стопорный; 8 —ручка; О, Т, У, Ф, X, Ц — каналы
От другого трубопровода воздух давлением 5—6 кгс/см2 поступает к групповым контакторам 5 и 7 (см. рис. 69), реверсору 6, поездным контакторам 8, механизмам отключения пяти и десяти топливных насосов дизеля (при включении вентилей 19 типа ВВ-3), ускорителю пуска 21, электропневматическому вентилю песочной системы. Давление в системе автоматики поддерживается клапаном максимального давления 25 типа ЗМД.
От трубопровода, соединяющего регулятор давления ЗРД с клапаном холостого хода компрессора, воздух подается на привод 9 колеса воздухоочистителя. Шток привода через упор входит в зацепление с зубчатым венцом колеса, перемещаясь каждый раз при включении регулятора давления.
От воздушного трубопровода противопожарной системы воздух подается через электропневматические вентили 17 и 18 на воздушные цилиндры 12, 13,14 привода жалюзи холодильной камеры и запорный клапан масляной системы.










