8.3. Система вентиляции картера
Разрежение в картере дизеля и удаление взрывоопасной смеси паров масла и газов обеспечиваются системой вентиляции, состоящей из двух маслоотделителей 2 (рис. 40), установленных на крышке дизеля, двух труб вентиляции картера 3, соединяющих маслоотделители со всасывающими полостями турбокомпрессоров, и двух гидравлических затворов 4. Картерные газы, отсасываемые турбокомпрессорами, проходят через маслоотделители, в которых улавливаются частицы масла. Очищенные от масляных паров газы проходят по трубам вентиляции картера 3 во всасывающие полости турбокомпрессоров.
Рис. 40. Система вентиляции картера:
1 — люк; 2 — маслоотделитель; 3 — труба вентиляции картера; 4 — затвор
Диафрагмы, установленные между фланцами левого и правого маслоотделителей и фланцами труб вентиляции картера 3, представляют собой шайбы с диаметрами отверстий от 14 до 28 мм. Диафрагмы служат для регулировки величины разрежения в картере. Через затворы 4 отделенное от газов масло сливается из маслоотделителя в картер. Сопротивление масляного столба в колене затвора препятствует обратному ходу масла через маслоотделители на всасывание турбокомпрессоров.
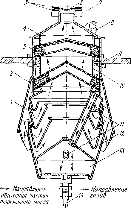
В корпусе 1 маслоотделителя (рис. 41) установлены две проволочные кассеты 2 и 3, обечайки 10 и диафрагмы 6. Конусы 12, выполненные в корпусе, изменяют направление движения отсасываемых газов, и трубки 11 для отвода отделенного масла. Нижним фланцем 9 маслоотделитель прикреплен к фланцу на крышке дизеля, верхним фланцем 7 маслоотделитель подсоединен к трубе вентиляции картера.
Величину разрежения после маслоотделителя замеряют через отверстие в бонке 8.
Набивка кассет 2 и 3 выполнена из проволоки диаметром 0,25 мм, предварительно пропущенной через зубья шестерен с модулем 2,5— 3 мм. Отсасываемые из картера газы, проходя через конусы, изменяют направление движения, теряют скорость и выделяют при этом на стенках маслоотделителя крупные частицы масла. Масло по трубкам 11 собирается в полости отделенного масла 13, а затем сливается через затвор 14 в картер дизеля.
При прохождении картерных газов через проволочную набивку кассет отделяются более мелкие частицы масла, которые по трубкам также сливаются в полость 13, а оттуда в картер.
Очищенные от масляных паров газы через диафрагму и трубу вентиляции картера поступают во всасывающую полость турбокомпрессора.
Рис 41 Маслоотделитель 1—корпус, 2, 3 —кассеты, 4 —крышка, 5 — прокладки 6 — диафрагма (шайби), 7,9 — фланцы, 8 — бонка, 10 — обечайка, 11 — трубки 12 — конусы, 13 — полость отделенного масла, 14 — затвор










