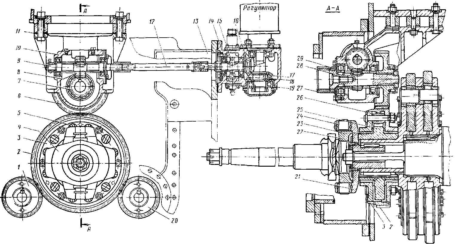
5.4. Привод агрегатов
Вращение от нижнего коленчатого вала к агрегатам дизеля и тепловоза передается при помощи эластичного привода, привода масляного насоса, привода объединенного регулятора и тахометра, а также карданной передачи (рис. 27).
Ступица эластичного привода на шпонке и прессовой посадке установлена на цапфе маятникового антивибратора, смонтированного на нижнем коленчатом валу дизеля. Ступица своими выступами передает крутящий момент от нижнего коленчатого вала через пружины 5 и сухари опорному диску 3 и шестерне 2. С шестерней эластичного привода входят в зацепление шестерни приводов масляного насоса 6 и водяных насосов 1 и 20.
Корпус привода масляного насоса 10 крепится к горизонтальному листу блока в отсеке управления. В корпусе на роликовом и шариковом подшипниках установлен ведущий вал 28, на одном конце которого на шлицах установлена шестерня 6, входящая в зацепление с шестерней эластичного привода. На другом конце вала установлена шлице-вая муфта 27, служащая для соединения вала с ведущим валом масляного насоса.
На ведущий вал между двумя подшипниками посажена на шпонке цилиндрическая шестерня 7 с винтовыми зубьями, которая входит в зацепление с винтовой шестерней 8, установленной на ведомом валике 9. На конце валика 9 имеются шлицы, соединяющиеся со шлицами промежуточного валика 12 привода объединенного регулятора и тахометра.
Привод регулятора крепится к боковому фланцу плиты насосов 13. Он состоит из пары конических прямозубых шестерен 16 и 17, передающих вращение к регулятору и винтовой шестерне 15, с которой входят в зацепление винтовые шестерни. Эти шестерни передают вращение тахометру, установленному на дизеле, и валику для замера частоты вращения переносным тахометром. Шестерни приводов водяных насосов / и 20, находящиеся в зацеплении с шестерней коленчатого вала 2, установлены на приводных валах этих насосов. Плита насосов 13 установлена в нижней части торца блока со стороны управления. Плита на блоке фиксирована четырьмя коническими штифтами.
Карданная передача состоит из вилок 21 и 4 и крестовины 22. Крестовина двумя цапфами входит в вилку 21, а двумя другими цапфами — во втулки вилки 4, передающей вращение агрегатам тепловоза.
Рис. 27. Привод агрегатов:
1, 20 — шестерни водяных насосов; 2 — шестерня коленчатого вала; 3— опорный диск; 4, 21 — вилкн карданные; 5 — пружина; 6 — шестерня привода масляного насоса; 7, 8, 15, 18 — винтовые шестерни; 9 — ведомый валик; 10 — корпус; 11, 14, 19 — регулировочные прокладки; 12 — промежуточный валик; 13 — плита насосов; 16 — вал-шестерня коническая; 17 — коническая шестерня; 22 — крестовина; 23, 24 — втулки; 25 — ступица; 26 — сухарь; 27 — шлицевая муфта; 28 — ведущий вал; 29 — стопорное кольцо










