5.2. Устройство аварийной остановки
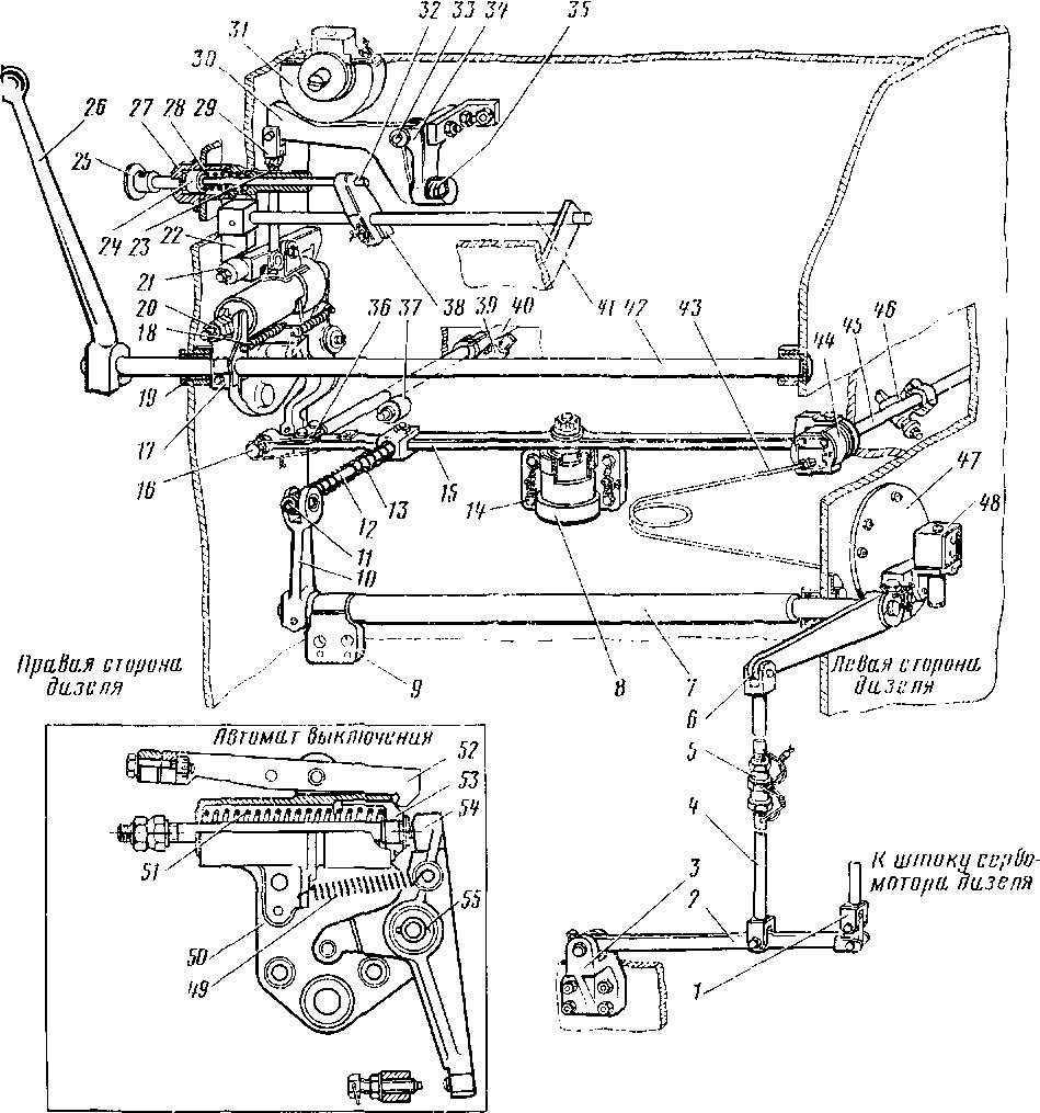
Устройство аварийной остановки состоит из автомата выключения, вала взвода автомата и механизма аварийной остановки. Автомат выключения предназначен для остановки дизеля под действием груза предельного регулятора или пуговки механизма аварийной остановки. Автомат расположен внутри отсека управления с правой стороны дизеля (см. рис. 24). Корпус 50 закреплен четырьмя шпильками к боковому листу блока. В расточке корпуса 50 установлен поршень 53 со штоком, нагруженный пружиной 51. На переднем торце поршня выполнена кольцевая выточка, в зацеплении с которой находится зуб защелки 52, удерживающий поршень во взведенном положении.
Нижний конец рычага поджат пружиной 35, отжимающей противоположный конец рычага и тягу 23 вверх для ввода зуба защелки 52 в зацепление с поршнем 53 при взводе автомата выключения. На конце защелки на оси установлен ролик 21, на который воздействует кулачок 22 механизма аварийной остановки. К торцу штока поршня 53 пружиной 51 поджимается сферический упор верхнего плеча рычага 54. Нижнее плечо рычага 54 с запрессованным в него упором перемещает коромысло 15 при срабатывании автомата.
Рис. 24. Управление дизелем:
1 — шток сервомотора регулятора; 2 — рычаг регулятора; 3, 9, 34 — кронштейны; 4 — вертикальная тяга; 5 — муфта; 6 — рычаг промежуточного вала; 7— вал промежуточный; 8 — кронштейн коромысла; 10 — рычаг стопорной тяги; 11, 20 — гайки; 12 — стопорная тяга; 13 — пружина стопорной тягн; 14 — болт; 15 — коромысло; 16 — регулировочный болт; 17, 30 — рычаги; 18, 28, 35, 49 и 51 — пружины; 19 — кольцо уплотнительное; 21 — ролик; 22 — кулачок; 23 — тяга; 24 — плунжер; 25 — пуговка выключателя; 26 — рукоятка взвода; 27 — корпус; 29 — вилка; 31 — груз предельного регулятора; 32 — шток; 33 — ось; 36 — серьга; 37 — упор; 38 — поводок; 39, 46 — поводки рейкн насоса; 40 — правая тяга управления; 41 — вал выключения; 42 — вал взвода автомата; 43 — трубка; 44 — механизм выключения левого ряда насосов; 45 — левая тяга управлення; 47 — крышка; 48 — электропневматический вентиль; 50 — корпус автомата; 52 — защелка; 53 — поршень; 54 — рычаг выключения топлива; 55 — шплинт
При превышении дизель-генератором максимально допустимой частоты вращения груз 31 предельного регулятора под действием центробежных сил преодолевает усилие своей пружины и отходит от корпуса. Ударяя по рычагу 30, он отжимает его вниз. Тяга 23 поворачивает вокруг оси защелку 52 автомата выключения, выводя поршень из зацепления.
Под действием пружины 51 поршень выходит из корпуса и поворачивает рычаг выключения 54, который нижним плечом поворачивает коромысло в положение нулевой подачи топлива. дизель останавливается. Для возвращения поршня автомата во взведенное положение служит рукоятка взвода 26. При повороте рукоятки по часовой стрелке поворачивается в ту же сторону посаженный на одном валу с ней рычаг взвода 17. Рычаг, нажимая своей вилкой на регулировочные гайки 20, через шток сжимает пружину 51, перемещает поршень 53 внутрь цилиндра, давая возможность зубу защелки 52 войти в кольцевую проточку поршня и зафиксировать его во взведенном положении. При этом рычаг 54 пружиной 49 возвращается в исходное положение, а коромысло 15 перемещается в сторону увеличения подачи топлива.
Для экстренного выключения подачи топлива насосами и остановки дизеля вручную служит механизм аварийной остановки, смонтированный на крышке стороны управления. Механизм состоит из вала 41 с кулачком 22, поводка 38, штока 32, пружины 28, корпуса 27, плунжера 24 с пуговкой 25.
Вал 41 перемещается вдоль своей оси в отверстиях кронштейна, приваренного к внутренней стенке крышки стороны управления. На конце вала установлен с помощью штифта кулачок 22, имеющий скошенную рабочую плоскость. Поводок 38 соединяет вал со штоком 32, который пружиной 28 поджимается к торцу плунжера 24. На резьбо-вый конец плунжера 24, размещенного в корпусе 27, навернута пуговка 25.
При нажатии на пуговку 25 вал 41 отжимает вниз кулачком 22 ролик 21 защелки автомата выключения. Зуб защелки освобождает поршень. Рычаг выключения 54 поворачивает коромысло в положение нулевой подачи топлива. При освобождении пуговки 25 кулачок 22 действием пружины 28 возвращается в исходное положение. Автомат устанавливается в рабочее положение поворотом по часовой стрелке рукоятки 26.
Механизмы выключения рядов топливных насосов. Для устранения разжижения масла топливом в системе управления дизелем установлены механизмы выключения рядов топливных насосов: на левой тяге — механизм выключения всех десяти насосов левой стороны дизеля; на верхней правой тяге — механизм выключения пяти насосов (2, 3, 6, 8 и 9-го цилиндров) правой стороны дизеля.
Механизм левой стороны выключает топливные насосы па всех позициях холосюго хода, механизм правой стороны - на нулевой и первой позициях холостого хода, а также на первой позиции контроллера над нагрузкой.
Таким образом, при работе дизеля: на нулевой и первой позициях холостого хода работают пять насосов правого ряда (1, 4, 5, 7 и 10-го цилиндров), от второй до пятнадцатой позиции холостого хода — 10 насосов правого ряда, на первой позиции под нагрузкой —10 насосов левого и пять насосов правого рядов (15 насосов). При отключении части топливных насосов каждый работающий насос подает увеличенную порцию топлива, что способствует улучшению качества распыла и процесса сгорания топлива. При работе дизеля от второй до пятнадцатой позиции контроллера под нагрузкой работают все 20 топливных насосов. Управление работой механизмов выключения обеспечивается схемой электрооборудования тепловоза с помощью электропневматических вентилей ВВ-32, установленных с левой стороны блока у отсека управления и с правой стороны — у окна 10-го цилиндра.
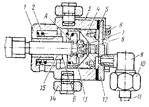
Корпус механизма выключения левого ряда топливных насосов (рис. 25) посажен с зазором на хвостовик левой тяги управления 45 (см. рис. 24). Поршень под действием пружины 2 (см. рис. 25) отжимается от упора в крышку, закрывающую с помощью паронитовой прокладки воздушную полость механизма. Крышка прикреплена к торцу корпуса четырьмя болтами. В крышку завернут угольник подвода воздуха, соединенный со штуцером электропневматического вентиля. Вилка, закрепленная двумя болтами на крышке, предохраняет механизм от проворота вокруг своей оси.
При замыкании электрической цепи катушки вентиль открывает доступ сжатого воздуха в полость механизма выключения. Воздух давлением 5—6 кгс/см2, преодолевая действие пружины, передвигает поршень, а вместе с ним и всю левую тягу в положение выключенной подачи топлива. При размыкании цепи катушки вентиль прерывает доступ воздуха в механизм выключения и сообщает полость механизма выключения с атмосферой. Усилием пружины тяга перемещается в сторону увеличения подачи топлива до упора поршня в крышку корпуса механизма выключения. Конструкция и принцип действия механизма выключения пяти топливных насосов правого ряда аналогичны описанным выше для механизма левого ряда.
Рис. 25. Механизм выключения левого ряда топливных насосов:
1 — корпус; 2 — пружина; 3 — вилка; 4 — поршень; 5 — прокладка; 6 — болт; 7, 10 — гайки; 8 — шплинт; 9 — угольник; 11 — трубка; 12 — крышка; 13 — тарелка; 14 -- коромысло; 15 — втулка










