4.4. Электрогидравлическое управление частотой вращения вала дизель-генератора
Объединенный регулятор имеет электрогидравлическую систему управления частотой вращения с 15 фиксированными положениями.
Электрогидравлическое управление состоит из следующих элементов (см. рис. 21):
а) электромагнитов MPI, МР2, МРЗ, МР4, которые включаются контроллером в определенной последовательности и изменяют положение золотникового устройства;
б) золотникового устройства, управляющего подачей масла под давлением в сервомотор управления 15;
в) гидравлического сервомотора управления 15, который изменяет затяжку всережимной пружины регулятора;
г) жесткой обратной связи (тяга и рычаги 10, 11, 13), обеспечивающей устойчивость процесса задания частоты вращения.
Как видно из принципиальной схемы объединенного регулятора, три электромагнита MPI, МР2, МРЗ действуют на вершины треугольной пластины 1, поддерживаемой пружиной в верхнем положении. Перемещение треугольной пластины / через рычаг 11 передается золотнику 2, управляющему подачей масла в сервомотор 15. Включением электромагнитов в определенной последовательности достигается семь различных ступеней скорости. Четвертый электромагнит МР4 действует на золотниковую втулку 3. Результат его перемещения противоположен результату перемещения электромагнитов MPI, МР2, МРЗ.
При включении электромагнита MP 4 золотниковая втулка движется вниз, открывая регулирующее отверстие в ней на слив, что ведет к уменьшению частоты вращения вала дизеля, при этом обратная связь перемещает золотник вниз, перекрывая отверстие в золотниковой втулке диском золотника. При выключении электромагнита МР4 золотниковая втулка движется вверх под действием пружины, расположенной под ней, открывая подвод масла к поршню 19, что ведет к увеличению частоты вращения вала. Использование электромагнита МР4 в комбинации с тремя электромагнитами MPI, МР2 и МРЗ удваивает число ступеней скорости.
Работа системы при различных режимах работы дизеля. Равновесное положение. На установившемся режиме золотник 2 своим диском перекрывает отверстие в золотниковой втулке 3, благодаря чему масло запирается в пространстве под поршнем 19 и обеспечивает его фиксирование при заданной частоте вращения.
Увеличение частоты вращения вала. При переводе контроллера с низших позиций на высшие включается один или комбинация электромагнитов MPI, МР2, МРЗ, МР4. Электромагнит или электромагниты перемещают вниз треугольную пластину 1, которая через рычаг перемещает золотник 2 вниз. При этом диск золотника 2 открывает доступ масла под давлением из аккумуляторов через регулирующее отверстие (определяющее скорость затяжки пружины измерителя) во вращающейся золотниковой втулке 3 к поршню 19 сервомотора управления 15. Поршень 19 опускается, сжимая пружину измерителя 9 и вызывая схождение грузов; при этом регулятор перемещает рейки топливных насосов на увеличение подачи топлива. Одновременно жесткая обратная связь (рычаги 10, 11, 13) возвращает золотник .2 в среднее положение, а диском золотника закрывает отверстие золотниковой втулки 3 и тем самым поршень устанавливается в положении, соответствующем включенным электромагнитам.
Уменьшение частоты вращения вала дизе-л я. При переводе контроллера с высших позиций на низшие один или комбинация электромагнитов MPI, МР2, МРЗ, МР4 обесточивается, и золотник 2 перемещается вверх пружиной 4, расположенной под ним. Полость под поршнем сообщается со сливом, что вызывает перемещение поршня 19 под действием пружины вверх и уменьшение затяжки пружины измерителя, при этом регулятор перемещает рейки топливных насосов на уменьшение подачи топлива. При движении поршня 19 вверх золотник 2 с помощью рычагов обратной связи возвращается в среднее положение, а поршень 19 займет новое положение, соответствующее включенным электромагнитам. Этот процесс снижения частоты вращения вала происходит в случае перевода рукоятки контроллера на две или более позиции. При этом масло свободно проходит над нижним сливным диском золотника в выпускное окно, чем достигается быстрое снижение частоты вращения.
При переводе контроллера на одну позицию частота вращения вала дизеля снижается плавно, так как масло из сервомотора перетекает в ванну регулятора через зазор между нижним диском золотника и золотниковой втулкой 3 (положительная перекрыша).
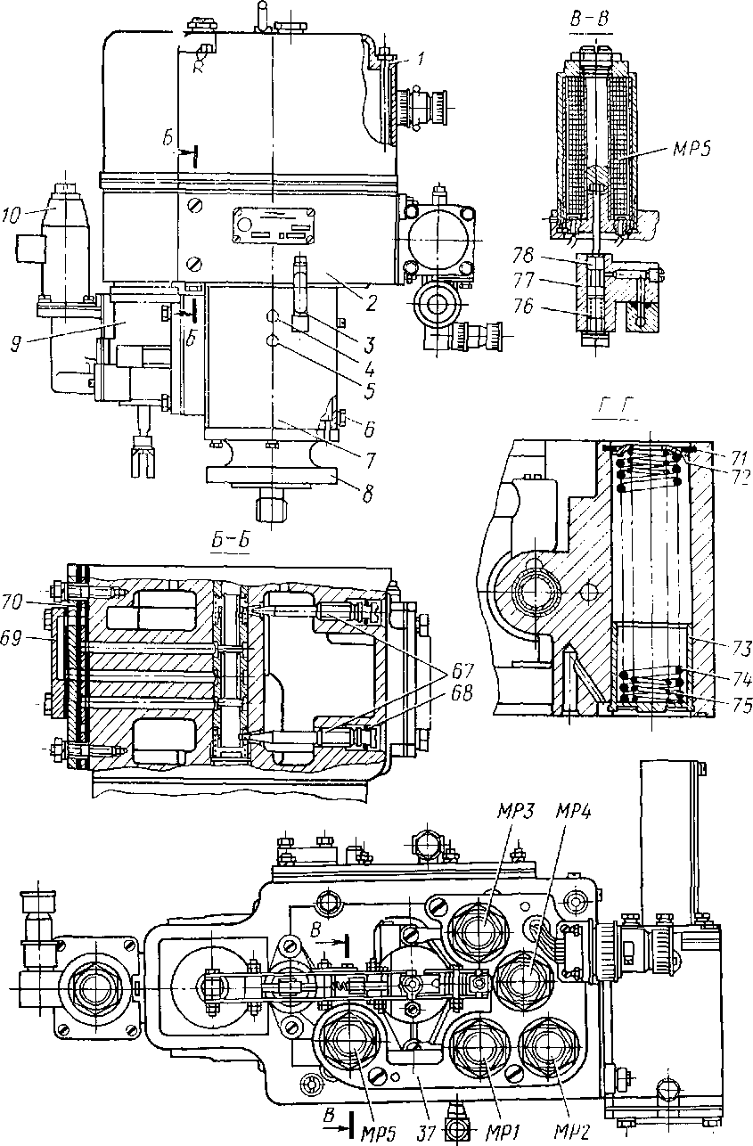
Рис. 22. Объединенный регулятор
1 — колпаки; 2 — верхний корпус; 3 — маслоуказатель; 4, 5, 6 — пробки; 7_корпус регулятора; 8 — нижний корпус; 9 — сервомотор регулятора; 10 — золотник остановки; 11 — 44, 61, 74, 75, 76 — пружины; 15 — золотниковая втулка; 16, 42, 78 — золотники; 17 — верхний эксцентрик; 25 — винт; 26 — траверса; 28 — корпус сервомотора управления; 29 — поршень; магнит; 36 — пружина измерителя; 37 — плита электромагнитов; 38 — штепсельный разъем; 47— золотниковая часть регулятора; 48 — ведущая шестерня маслонасоса; 49 — нижний кор-угольная пластина; 59 — пластинчатая пружина; 60 — направляющая; 63 — пробка; 64, 66 — ное; 69 — прокладка; 70 — плита; 71 — стопорное кольцо; 72 — заглушка; 77 — корпус поршень сервомотора; 12 — корпус сервомотора; 13 — корпус стопустройства; 14, 18, 27, 43, шток; 19 — стакан; 20, 56, 62, 73 — поршии; 22 — тарелка; 23 — корпус выключателя; 24 — 30, 39 — рычаги; 31 — шпилька; 32 — гайка; 33 — болт откндиой; 34 — тяга; 35 — электро 40 — опора золотника; 41 — золотниковая втулка; 45 — шестерня; 46 — корпус регулятора; пус; 50 — приводной вал; 52 — поводок; 53, 57 — крышки; 54 — шток; 55 — корпус; 58 — трё кольца уплотнительные; 65, 67 — игольчатые клапаны (иглы); 68 — кольцо уплотнитель










