34.3. Редуктор распределительный задний
Очистите ветошью, смоченной в керосине, наружные поверхности редуктора от пыли и грязи и осмотрите редуктор. Трещины корпуса, лап, трубопроводов, а также течи масла не допускаются. Проверьте затяжку гаек крепления редуктора на фундаменте и затяжку болтов и гаек, стягивающих верхний и нижний картеры крепления масляного и откачивающих насосов, гнезд подшипников, крышек и люков, а также надежность крепления трубопроводов. Болты и гайки должны быть затянуты и надежно застопорены.
Выверните, промойте и осмотрите масляный фильтр. Снимите крышки люков верхнего картера и произведите осмотр внутренней полости редуктора, состояние валов, шестерен, подшипников и гидромуфты с соблюдением требований, предусмотренных при проведении технического осмотра гидропривода вентилятора.
Разборка редуктора. Отсоедините от редуктора валопроводы, масляные трубопроводы и воздуховоды, отверните гайки крепления и снимите редукторы с рамы тепловоза. Очистите наружные поверхности, выверните сливную пробку и слейте масло из картера.
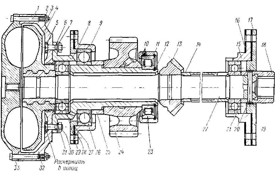
Отверните гайку крепления рабочего колеса вентилятора, снимите рабочее колесо и отсоедините кожух вентилятора от корпуса редуктора. Спрессуйте фланец 53 (см. рис. 83) ведущего вала и фланец 78 нижнего вала. Отверните гайки крепления масляного насоса высокого давления 47 и снимите его. Отверните гайки крепления и снимите кожух гидромуфты 33, а также технологический лючок со стороны, противоположной колесу вентилятора. Снимите крышки 56 и 79 подшипниковых узлов ведущего вала 80.
Выверните болты крепления крышки 28 и гнезда подшипника 26. Отверните гайки крепления по периметру разъема, выбейте стяжные призонные болты и снимите верхний картер 4. Снимите ведущий вал и вал гидромуфты в сборе. Выверните болты крепления подшипникового узла и выведите через расточку вал вентилятора в сборе. Отсоедините масляный трубопровод от насоса 57 и фильтра 71. Выверните болты крепления масляного насоса 57, болты крепления гнезда 65 подшипника и болты крепления подшипникового узла шарикоподшипника. Снимите масляный насос 57, гнездо 65 вместе с наружным кольцом роликового подшипника 66. Выведите вал из корпуса через расточку для гнезда шарикоподшипника.
Разборка вала гидромуфты. Снимите крышку 17 (рис. 166) и гнездо 15 шарикоподшипника. Выбейте штифт 20, спрессуйте втулку 18 и шарикоподшипник 21. Снимите втулку 14 и спрессуйте коническую шестерню 13. Отверните гайки 3 стяжных болтов 1 и отсоедините колесо насосное 33 от чаши 32.
Спрессуйте колесо турбинное 4 с вала 22. Отверните гайки призон-ных болтов 6 и снимите чашу 32. Выведите вал 22 с подшипником 29 из ступицы 8 и спрессуйте подшипник с вала. Снимите гнездо подшипника 10 вместе с наружным кольцом роликоподшипника 23.
Снимите пружинное кольцо 12, спрессуйте подшипник 23 со ступицы 8. Спрессуйте шестерню 24 со ступицы, снимите кольцо 25. Через три отверстия диаметром 10 мм в ступице спрессуйте шарикоподшипник 26 вместе с гнездом 9. Снимите гнездо 9 и крышку 28.
Внимание!
Шестерни 13 и 24 и колесо турбинное 4 распрессовывайте гидропрессом путем создания давления масла в каналах.
Рис 166 Вал гидромуфты в сборе
1 — болт, 2, 7 — шайбы стопорные, 3 30 — гайки, 4 — колесо турбинное, 5, 25, 31 — кольца, 6 — болт призониый 8 — ступица, 9, 10, 15 — гнезда подшипников, И, 12 — пружинные коль' ца, 13 — коническая шестерня 14, 18 — втулки, 16, 19, 27 — прокладки, 17, 28 — крышки, 20 — штифт 21 26, 29 — шарикоподшипники, 22 — вал турбинного колеса 23 — роликоподшипник. 24 — шестерня, 32 — чаша, 33 — колесо насосное
Рис. 167. Ведущий вал в сборе:
1 — вал; 2 — кольцо; 3 — кольцо лабиринта; 4 — крышка лабиринта; 5, 8 — тезда подшипников; 6, 9 — шарикоподшипники; 7 — шестерня; 10 — прокладка; // —крышка; 12 — гайка; 13 — болт
Разборка ведущего вала. Снимите крышку лабиринта 4, спрессуйте кольцо 2 с вала и снимите кольцо лабиринта 3 (рис.167). Снимите гнездо подшипника 5, спрессуйте шарикоподшипник 6 и шестерню 7. Снимите крышку 11, выкрутите болт 13 и отвинтите гайку 12. Снимите гнездо подшипника 8 и спрессуйте шарикоподшипник 9.
Разборка вала привода вентилятора. Спрессуйте шестерню 1 с вала
5 (рис. 168). Снимите кольцо пружинное 4 с гнездом подшипника 2 и спрессуйте роликоподшипник 3. Снимите крышку лабиринта 9 и гнездо 7, спрессуйте втулку 12 с вала. Снимите кольцо лабиринта и спрессуйте шарикоподшипник 6.
Разборка нижнего вала. Снимите гнездо подшипника 1 (рис. 169) вместе с наружным кольцом роликоподшипника 2. Затем снимите кольцо пружинное 4 и спрессуйте роликоподшипник 2. Спрессуйте шестерню
6 с вала. Выбейте штифт 5 и выпрессуйте втулку 3. Отвинтите болты 10, снимите крышку 9 и спрессуйте кольцо 7. Снимите кольцо лабиринта # с гнездом подшипника 12 и спрессуйте шарикоподшипник 13.
Сборка редуктора. Перед сборкой редуктора выполните работы по промывке и осмотру деталей, проверке и доводке их сопряжений с соблюдением требований, предусмотренных при сборке гидропривода вентилятора холодильной камеры.
Сборка ведущего вала. Установите шестерню 7 (см. рис. 167) на вал до упора в бурт. После полного остывания вала установите шарикоподшипник 6, кольцо лабиринта 3 и втулку на вал до упора. Затем установите гнездо 5 на подшипник 6 и крышку 4 с прокладками.
Рис 168 Вал привода вентилятора:
1 — коническая шестерня; 2,7 — гнезда подшипников, 3 — роликоподшипник, 4 — кольцо пр> жинное, 5 — вал, 6 — шарикоподшипник, 8 — кольцо лабиринта, 9 — крышка лабиринта, 10, 11 — уплотнения, 12 — втулка, 13 — болт
Шарикоподшипник 9 установите на вал до упора в бурт, предварительно наденьте гнездо подшипника. Наверните гайку 12 на вал и через отверстие в гайке просверлите отверстие диаметром 6 мм па глубину 15 мм. Заверните фиксирующий винт 13 и раскерните его в двух точках. Установите гнездо подшипника 5 с прокладкой на подшипник У и крышку 11 с прокладкой 10 в гнездо подшипника.
Сборка вала гидромуфты. Наденьте крышку 28 (см. рис. 166) на ступицу 8. Установите шарикоподшипник 26 на ступицу до упора в бурт и гнездо подшипника 9 с прокладками, а затем установите кольцо 25 и насадите шестерню 24 на ступицу до упора.
После полного остывания ступицы поставьте внутреннее кольцо подшипника 23 на ступицу и зафиксируйте его пружинным кольцом 12. Зазор между торцами внутреннего кольца подшипника и сгатрпот кольца должен быть равен 0—0,1 мм. Установите наружное кольцо подшипника 23 в гнездо 10 и зафиксируйте его пружинным кольцом //. Наденьте гнездо подшипника с наружным кольцом на подшипник. Проверьте осевой натяг между торцом турбинного колеса 4 и буртом вала 22 в холодном состоянии 28, 65—31, 35 мм.
Рис 169 Вал нижний
1, 12 — гнезда подшипников, 2 — роликоподшипник, 3 — втулка, 4 — кольцо пружинное, 5 — штифт б — шестерня, 7 - кольцо, 8 — кольцо лабиринта, 9 — крышка, 10 — болт, 11 — прокладка, 13 — шарикоподшипник, 14 — вал
Шарикоподшипник 29 насадите на вал 22, а ступицу 8 в сборе установите на подшипник 29 и кольцо 31 в ступицу. Чашу 32 с кольцом 5 соедините со ступицей призонными болтами 6. Застопорите гайки болтов стопорными шайбами и раскерните кольца 5 против шлицев болтов.
Посадите колесо турбинное 4 на конус вала 22 и зафиксируйте колесо специальной пробкой до полного остывания. Соедините колесо насосное 33 по фланцу с чашей 32 и закрепите болтами /. Застопорите гайки шайбами. Посадите шестерню 13 на вал до упора в бурт. Наденьте втулку 14 и установите подшипник 21 на вал до упора.
Установите втулку 18 на вал и совместите отверстия под штифт. Разверните отверстия во втулке и валу под штифт и запрессуйте штифт 20. Поставьте на место гнездо подшипника 15 с прокладками 16, 19 и крышку 17.
Сборка вала привода вентилятора. На вал 5 до упора (см. рис. 168) установите шарикоподшипник 6, кольцо лабиринта 8 и втулку 12. Установите гнездо подшипника 7 и вставьте крышку 9 с сальниками 10, 11 в гнездо. Совместите канавки для слива масла в гнезде и крышке и закрепите крышку болтами 13.
Вставьте роликоподшипник 3 в гнездо подшипника 2 и зафиксируйте подшипник кольцом 4, совместив при этом разрез кольца с пазом гнезда. Нагрейте в масле до г = 90-г-100° С гнездо подшипника в сборе и установите на вал до упора в бурт. Затем посадите шестерню / на вал до упора.
Сборка нижнего вала. Установите шарикоподшипник 13 (см. рис. 169) на вал 14, кольцо лабиринта 8 и втулку лабиринта 7 до упора, затем поставьте гнездо подшипника 12 и крышку 10 с прокладками. Установите зазор 0,45—0,7 мм между торцами наружного кольца и крышки прокладками и затяните крышку болтами 9. Насадите шестерню 6 на вал до упора в бурт. Запрессуйте втулку 3 в отверстие в торце вала 14.
Просверлите отверстие во втулке под штифт 5 и запрессуйте его. Установите внутреннее кольцо роликоподшипника 2 и зафиксируйте его кольцом 4. После этого можно монтировать гнездо подшипника 1 с наружным кольцом подшипника 2 на вал.
Окончательная сборка редуктора. Введите нижний вал 70 (см. рис. 83) в сборе в расточку нижнего картера и установите гнездо 65 подшипника с прокладкой и крышку 74 в расточку, совместив при этом масляные каналы гнезда и картера. Закрепите гнездо и крышку болтами. Затем установите и закрепите болтами масляный насос 57. Масляный фильтр 71 после установки соедините трубопроводом с масляным насосом.
Введите вал привода вентилятора в расточку нижнего картера, совместив пазы в гнездах подшипника с отверстиями для смазки в картере. Закрепите болтами подшипниковый узел вала привода вентилятора.
Уложите вал гидромуфты 29 в сборе в расточку нижнего картера без регулировочного кольца 37 и заведите в зацепление коническую зубчатую пару. Уложите вал ведущий 81 в сборе и введите в зацепление цилиндрические зубчатые пары.
Смажьте плоскости разъема картера редуктора дизельным маслом, уложите по его разъему крученую нитку толщиной 0,1—0,2 мм и опустите верхний картер на шпильки, совместив плоскости разъема. Установите все болты, наверните гайки и окончательно затяните резьбовые соединения по периметру разъема. Закрепите подшипниковые узлы ведущего вала. Установите масляный насос высокого давления 47, поставьте центрирующие штифты и затяните гайки крепления.
Замерьте зазор в трех точках между гнездом подшипника и стенкой картера для определения толщины регулировочного кольца 37. Установите регулировочное кольцо 37, совместив разрез кольца с отверстием в картере для слива масла из кожуха 33 гидромуфты. Закрепите подшипниковый узел болтами.
Замерьте через смотровой люк боковой зазор в зацеплении конической пары. Величина зазора при выбранных осевых разбегах валов к вершинам конусов должна быть не менее 0,13 мм; при выбранных разбегах к основаниям конусов — не более 0,36 мм. Требуемую величину зазора установите подбором прокладок. Замерьте боковой зазор между зубьями цилиндрических пар. Величина бокового зазора должна быть в пределах 0,2—0,6 мм при разности зазоров в паре сопрягаемых шестерен не более 0,1 мм.
Обкаточные испытания редуктора. Окончательно собранный редуктор заправьте маслом, применяемым для смазки дизеля, и испытайте на стенде при частоте вращения ведущего вала 850 об/мин на следующих режимах: на холостом ходу — 0,5 ч; под нагрузкой 205 л. с. — 1 ч. При обкатке на стенде допускается завышение мощное і и на ведущем валу на 18 л. с, на нижнем валу — на 11 л. с, на валу привода вентилятора — на7л. с. При завышении мощности вентилятора на 7 л. с. и понижении частоты вращения вала вентилятора ниже 2000 об/мин повторите испытания при нормальной нагрузке гидромуфты.
Давление масла в питательной магистрали гидромуфты должно быть 0,4—0,8 кгс/см2. При обкатке редуктора не должно быть ненормальных стуков и прерывистого шума. После обкатки редуктора слейте масло, подтяните все гайки и болты. Проверьте плотность прилегания поверхностей зубьев цилиндрических и конических шестерен по пятну контакта. Пятно контакта должно быть не менее 50% высоты и 70% длины зуба для цилиндрических шестерен и не менее 60% высоты и длины зуба для конических шестерен.
После регулировки зубчатого зацепления установите кожух гидромуфты и закрепите его гайками с пружинными шайбами. Установите осевой натяг фланцев 53 и 78 в холодном состоянии по расстоянию между торцами фланцев и втулок (расстояние должно быть: для фланца 53—4—8 мм, а для фланца 78—3—6 мм). Посадите фланцы 53 и 78 до упора во втулки лабиринтов 55 и 77. Поставьте и закрепите крышки смотровых и технологического люков. Вверните сапун, рым-болты и заверните сливную пробку.










