33. КОМПРЕССОР КТ7
Проверка работы компрессора. При осмотре работающего компрессора контролируйте: работу компрессора на слух; давление масла по манометру, установленному на компрессоре, для чего откройте краник на трубопроводе между насосом и манометром, после проверки краник закройте; нет ли выброса масла через воздушные фильтры; производительность (по времени нагнетания воздуха от 7,5 кг/см2 до 8,5 кг/см2); уровень масла в картере компрессора по масломеру; плотность соединений по разъемам картера.
При остановленном компрессоре проверьте внешним осмотром состояние креплений к фундаменту; устраните течь масла и пропуск воздуха; очистите компрессор от пыли и масла. Натяжение ремня проверьте динамометром, при этом точка приложения усилия (3 кгс) должна находиться на равных расстояниях от осей шкивов (рис. 163). Величина прогиба ремня должна быть 19—24 мм (для нового) и 28—33 мм (для бывшего в работе).
Замена масла в картере компрессора. Слейте отработанное масло через сливной трубопровод, открыв сливной кран; откройте боковые люки картера; снимите масляный фильтр, промойте его корпус и сетку в керосине, после чего продуйте сжатым воздухом. Промойте внутреннюю полость картера керосином и протрите без-ворснымисалфетками; очистите посмотрите узел шатунов (при необходимости подтяните гайки латунных шпилек и зашплинтуйте их, проверьте обстукиванием надежность крепления дополнительных балансиров); установите на место масляный фильтр и боковые люки; залейте 10—12 л свежего масла через лейку в открытое заправочное отверстие. Уровень масла после заправки должен быть между рисками маслоуказателя.
Очистка и промывка воздушного фильтра. Снимите и разберите фильтр. Внутреннюю полость кожуха фильтра очистите от грязи. Промойте фильтрующий элемент и детали фильтра в керосине или дизельном топливе. После очистки перед сборкой фильтрующий элемент слегка смочите чистым компрессорным маслом.
Внимание!
Заливать масло в корпус фильтра запрещается.
Разборка компрессора. Перед снятием компрессора с тепловоза отсоедините нагнетательный воздухопровод от клапанной коробки цилиндра высокого давления и трубку к регулятору давления. Отверните болты крепления компрессора к фундаменту. Отсоедините компрессор от переднего редуктора, выпрессуйте фиксирующие штифты. Выньте компрессор через верхний люк тепловоза подъемным механизмом. Очистите компрессор от грязи, обмойте керосином и оботрите насухо. Снимите трубопроводы к разгрузочным устройствам клапанных коробок и масляному насосу.
Отсоедините холодильник 6 (см. рис. 77), масляный насос, трубопроводы, идущие к разгрузочным клапанам и манометру от масляного насоса. Снимите сапун вместе с патрубком, воздушные фильтры и патрубки фильтров. Снимите вентилятор, боковые крышки корпуса компрессора, клапанные коробки со всех трех цилиндров и поочередно цилиндры низкого и высокого давления. Выньте стопорные кольца и поршневые пальцы и отсоедините поршни. Разберите шатунный подшипник.
С конца коленчатого вала 25 отверните гайку и при помощи специального приспособления спрессуйте соединительную муфту и снимите шпонку. Снимите переднюю крышку корпуса компрессора при помощи отжимных болтов. Выньте из крышек манжету или сальник. Выньте коленчатый вал из картера вместе с подшипниками.
Снимите масляный фильтр, промойте его корпус и сетку в керосине, затем продуйте сжатым воздухом. Выверните из крышки нагнетательной камеры Н винт 4 (см. рис. 79), снимите крышку 3, упор 2. Выньте из клапанной коробки нагнетательный клапан. Снимите с всасывающей камеры В крышку 11 с резиновой диафрагмой 8, поршень 10, пружину 12, корпус с зажимного стакана 15, стержень 13 и упор 18. Выньте из клапанной коробки всасывающий клапан. Разберите всасывающий и нагнетательные клапаны, промойте в керосине, протрите и обдуйте сжатым воздухом.
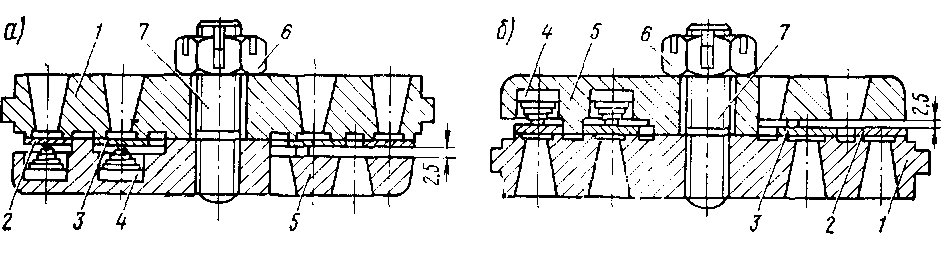
Замерьте высоту клапанных пружин 4 (рис. 164) в свободном состоянии. Высота пружины должна быть 12 ± 0,5 мм. При усадке ниже 10 мм или изломе витков пружины замените новыми. Проверьте плотность прилегания пластин 2 и 3 к седлам. При необходимости притрите их. Пластины, имеющие трещины, коробление, выработку, замените новыми.
Рис. 164. Клапаны компрессора КТ7:
а — всасывающий; б—нагнетательный;1 — седло; 2— пластина большая; 3—пластина малая; 4 — ленточная пружина; 5 — обойма; 6 — корончатая гайка; 7 — шпнпькп
Перед сборкой компрессора проверьте и отрегулируйте подъем клапанов (нормальная величина подъема 2,5+0'2 мм). Испытайте собранные клапаны на плотность. При нормальной плотности падение давления с 8 до 7,5 кгс/см2 в резервуаре емкостью 50 л должно происходить не быстрее чем за 2 мин. Проверьте зазор между втулкой и стержнем выключающего устройства. Если величина зазора превышает 0,5 мм, изношенные детали замените. Промойте в керосине или дизельном топливе детали сапуна. Негодные детали обратного клапана замените. Перед сборкой фильтрующую набивку слегка смочите чистым компрессорным маслом.
Сборка компрессора. Компрессор собирайте в последовательности, обратной разборке. Перед сборкой внутренние поверхности картера протрите сухими салфетками, трущиеся поверхности деталей смажьте применяемым для компрессора маслом. Установите масляный фильтр. Напрессуйте шарикоподшипники на коленчатый вал, предварительно нагрев их в масле до 100—120° С.
Установите переднюю крышку с запрессованным сальником, обеспечив осевой зазор не менее 0,9 мм. Соберите шатунный узел без нижней крышки шатуна. Заводите шатуны через левое окно картера. Прицепные шатуны разведите по окнам, а головку главного шатуна установите на шейку вала и закрепите крышку корончатыми гайками и зашплинтуйте.
Внимание!
При замене вкладышей предварительно проверьте их на прилегание к расточке головки. Прилегание вкладышей должно составлять не менее 85% площади. Прилегание вкладышей к шейке вала — не менее 75% площади.
Соедините поршни с шатунами. При сборке поршней поршневые маслосъемные кольца устанавливайте острыми кромками в сторону юбки поршня. Замки всех поршневых колец разверните относительно друг друга на 120°. Все кольца должны перемещаться в ручьях без заеданий. Перед постановкой цилиндров сожмите кольца приспособлением. Наденьте поочередно цилиндры на поршни, установите их на шпильки и закрепите гайками с замковыми шайбами. Установите и
закрепите масляный насос, соедините его с маслопроводом от картера и с манометром. Смонтируйте на крышках цилиндров низкого давления фильтры. Установите вентилятор и соедините его шкив клиновым ремнем со шкивом коленчатого вала. Установите крышки на люки картера. После обкатки компрессора установите холодильник и закрепите клапанные коробки.
Испытание компрессора. После сборки компрессор заправьте маслом и произведите следующие испытания: обкатку без клапанных коробок, холодильника и вентилятора; испытание на нагрев; испытание при противодавлении 10 кгс/см2; проверку на производительность; проверку утечки воздуха из компрессора.
Обкатку компрессора без клапанных коробок производите безостановочно на следующих режимах:
Частота вращения коленчатого вала, об/мин...... 270—300 400—440 750—850
Продолжительность обкатки, мин........... 30 30 30
На нагрев испытывайте с установленными на компрессор клапанными коробками, холодильником, вентилятором и воздушными фильтрами на режимах 270 об/мин и 750—850 об/мин. На режиме 270 об/мин испытание проводите в течение 2 ч по следующим этапам: без противодавления — 20 мин; с включенным регулятором давления — 40 мин; с противодавлением 9 кгс/см2 — 60 мин. При испытании температура масла должна быть не более 65° С (давление масла — не менее 1,5 кгс/см2) и температура нагнетаемого воздуха на расстоянии до 500 мм от клапанной коробки не более 150° С.
На нагрев при 750—850 об/мин проверяйте непосредственно после испытаний при 270 об/мин, т. е. при прогретом компрессоре, в течение 1 ч с включенным регулятором (ПВ = 1:3). Температура масла должна быть не более 85° С (давление масла — не менее 2 кгс/см2), температура нагнетаемого воздуха на расстоянии до 500 мм от клапанной коробки — не более 180° С. Такие показатели температур при испытаниях на нагрев соответствуют температуре окружающего воздуха до + 30° С. Для проверки кратковременной работоспособности компрессора при перегрузке проработайте на прогретом компрессоре в течение 5 мин па 270 об/мин и 5 мин на 750—850 об/мин при противодавлении 10 кгс/см2 без замеров температур. После остановки компрессора осмотрите состояние рабочих поверхностей.
При получении положительных результатов предыдущих испытаний проверьте производительность компрессора, которая должна быть не менее 2,75 м3/мин при 440 об/мин; 4,6 м3/мин — при 750 об/мин; 5,3 м3/мин — при 850 об/мин.
Проверьте утечку воздуха из компрессора. Начиная с 8 кгс/см2, скорость падения давления не должна превышать 1 кгс/см2 за 10 мин при емкости резервуара 335 л.










