17. ПРОМЫВКА ВОДЯНОЙ СИСТЕМЫ ТЕПЛОВОЗА
Для очистки системы от мазеобразных отложений при использовании присадки ВНИИ НП 117 заполните систему чистой водой (конденсатом), проработайте не менее одного часа при температуре воды на выходе из дизеля 50—60° С.
Остановите двигатель для отстоя отмытого масла в расширительном баке.
Перекройте вентили 69 (см. рис. 61) и 15 (см. рис. 64), слейте воду с водяных систем, после чего отсоедините трубы, соединяющие указанные вентили с основным трубопроводом, при этом вентили должны быть закрытыми.
Подсоедините к вентилям шланги для промывки и выведите их из тепловоза.
Откройте вентили и слейте воду с мазеобразными отложениями из расширительного бака. Одновременно промывайте бак струей горячей воды из шланга со специальным наконечником через заливную горловину. При сливе воды принимайте меры предосторожности, предотвращающие попадание эмульсии и продуктов разложения присадки на кожу.
Расширительный бак промывайте до полного слива осадков присадки, после чего соберите трубопроводы и систему заполните чистой водой.
Пустите дизель и проработайте в течение 10—15 мин. Повторно слейте воду. После промывки разрешается заправка системы охлаждающей водой.
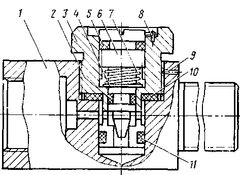
Рис. 159. Общий вид демпфера ДВ:
1 — корпус; 2, 5, 10, 11 — уплотнения; 3 — корпус регулировочной иглы; 4 — шайба; 6 — регулировочная игла; 7 — пружина; 8, 9 — винты










