Кузов
Кузов тепловоза 2М62 ненесущего типа с безраскосной системой каркаса: элементы каркаса образуют прямоугольную решетку. Выбор такой конструкции кузова обусловлен ее технологичностью. Кузов (рис. 120) состоит из следующих элементов: кабины 3, про-ставки 4, кузова над дизелем 5 и блок-тамбура с холодильной камерой 6. Перечисленные элементы свариваются между собой и привариваются к раме тепловоза. Путеочиститель 2 крепится болтами снизу к стяжному ящику рамы тепловоза. В торцах блок-тамбуров обеих секций имеются проходы с переходными площадками.
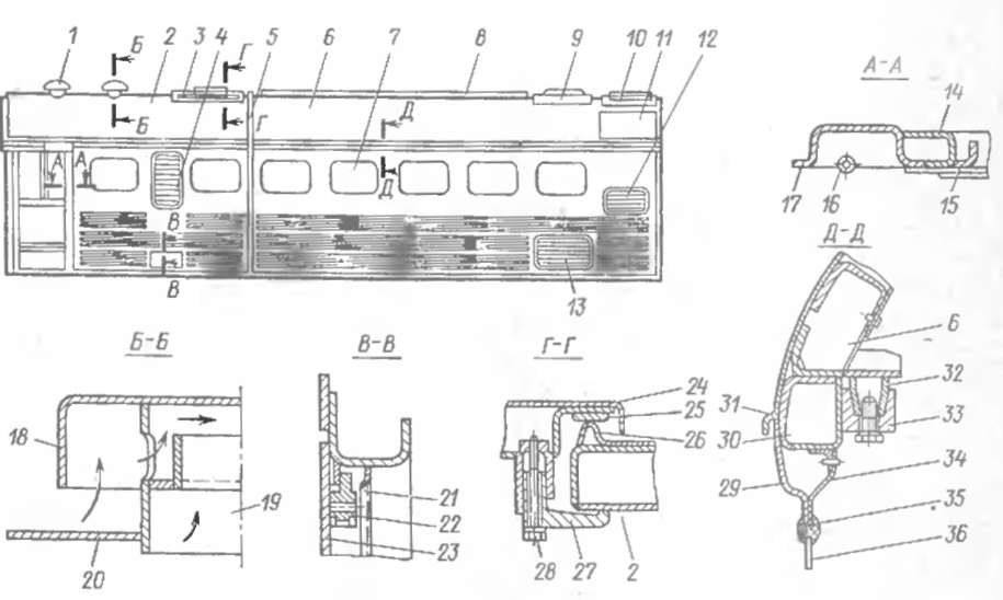
Переходная площадка (рис. 121) крепится к кронштейнам, приваренным к задней стенке блок-тамбура. Серьга 4 и рессора 5 удерживают чехол / и каркас 2 в рабочем состоянии. Шарнирное соединение серьги 4 с кузовом обеспечивает поворот площадки при прохождении тепловозом кривых и возвращение ее в исходное положение на прямом участке. Фартук. <?, установленный на уровне пола переходного тамбура, позволяет безопасно проходить в соч лененную секцию.
Па рис. 122 показан кузов над дизелем в сборе с проста вкой. Каркас кузова собран из гнутых профилей преимущественнно зет-образного сечения с толщиной стенки 2,5 мм. Обладающие до статочной жесткостью при малом весе гнутые профи ти нахо яг широкое применение во всех элементах кузова. Вертикальные стойки каркаса стоят друг от друга на расстоянии 1050 мм и свя заны между собой верхним поясом. Снаружи к каркасу привариваются стальные девятизиговые листы толщиной 2,5 мм.
Кузов над дизелем в отличие от других составных атементов кузова имеет съемную, крышу 6, что позволяет демонтировать дизель-генератор без снятия боковых стенок кузова. В крыше в имеется проем, окантованный рамой 8, для установки глуї і теля шума. На крышке люка 10 монтируется вентилятор кузова. Люк 9 служит для выхода на крышу, а люк // обеспечивает доступ к воздухоочистителю дизс ія, закреп іе пол \ в утри к\зова на специальных кронштейнах.
Верхний пояс боковых стенок кузова имеет коробчатое сечение, придающее им необходимую жесткость. К коробчатой балке 30 верхнего ножа приварена обойма 33, которая в комплекте с призмой 32 и болтом образует компактное самоцептрирующее устройство для крепления крыши, позволяющее осуществлять ее быстрый монтаж и демонтаж. Вдоль каждой боковой степки установ

Рис. 120. К\зов тепловоза:
/ рача теидемн) і.!. 2 -- пун-очиститеиь X кабина машиниста 4 г росгапк.і. 5— к\*л< к нщ аніс см; С — блок тамбур с холодильной камерой

лено по семь таких устройств. Наружный лист 31 имеет на конце желоб для отвода стекающей с крыши дождевой воды. Для улучшения термо и шумоизоляции к наружной обшиве 29 самонарезными винтами крепится внутренняя обшива 34, покрытая слоем шумопоглощающей мастики толщиной не менее 1,5 мм. Оконные стекла 36 в боковых стенках кузова удерживаются резиновой окантовкой 35, обеспечивающей надежное крепление и уплотнение стекол в оконных проемах. Кузов над дизелем сваривают (кроме крыши) с проставкой, стыковочный шов закрывают декоративной облицовкой 5.
Каркас проставки также образован гнутыми профилями. Чтобы сохранить необходимую жесткость проставки, ослабленной дверным проемом, в качестве вертикальных стоек используются более мощные, корытообразные профили 17, дополнительно усиленные стойками 14 с разновысокими полками и угольниками 15, к которым приварена наружная обшива. Втулки 16. установленные в верхней и нижней частях стойки 17, удерживают наружные поручни.
Рис. 121. Переходная площадка: V—чехол: 2—каркас: 3—фартук: 4—серьга; * 5 рессора

Рис. 122. Кузов над дизелем в сборе с проставкой: / — вентиляпкочные патрубки; 2 — крыша проставки: 3 — люк мыл тормозным компрессором; 4 жалю и забор воздуха для вентиляторов охлаждения тягового генератора и ТЭД передней тележки; 5 —* облицовка стыка, 6 — съемная крыша кузова нам дизелем: 7 — окно; 8 — рама для крепления глушителя шума: 9 — люк *дя выхода на крышу; 10 - люк для установки вентилятора дизельного помещения; // люк для доступа к воздухоочистителям дизеля; 12 жалюзи набора воздуха для дизеля: 13 — жалюзи заборл воздуха для охлаждения ТЭД задней тележки; 14—усиливающая стойка; 15 — угольник. 16- втулка под поручень; 17 оснонная стойка. 18 — колпак; /°, 21 — обечайки, 20 лист; 22 — замок; 23, 24 крышки люка: 25- уплотнение; 26— желоб: 27—захват; '2Ь болт; 29 - наружная обшива; 30 — балка верхнего нонса; 31 — наружный лист. 32 иризмл. — обойми; 34 внутренняя обшива; 35 — окантовка; 36 стекло окопної*

Рис. 129. Отоиитслыю вентиляционный агрегат:
/ - колесо вентилятора. 2 - патрубок табора воздуха: л* рычаг. А — корпус. 5-- нагреватетьная секция: 6- кронштейн: 7—патрубок полпода воды; 6 — тяг*: 9 численна: Ш «отоо-веитилятор:
При вращении вентиляторного колеса /, посаженного на вал электродвигателя, воздух из заборного патрубка по каналам поступает к нагревательной секции 5, из которой направляется в различные точки кабины. Отвод и подвод горячей воды производится по патрубкам 7, подсоединяемым ш. ангами к трубопроводу водяной системы тепловоза. Мотор-вентиля ор 10 устанавливают с помощью прокладок по высоте с таким расчетом, чтобы зазор между стенками заборного патрубка и вентиляторным коле сом был равномерным. Для периодической смазки подшипника электродвигателя предназначены масленка 9, вынесенная в доступное место.
Кронштейны 6 служат для крепления отопнтельно-венгиля-ционного агрегата к каркасу пульта управления.
Пульт управления установлен в правом переднем углу кабины машиниста. Расположение оборудования, приборов, контрольных ламп, тумблеров па пульте приведено на рис. 3. Дія удобства наблюдения за приборами и облегчения пользования органами управления панели пульта наклонены под различными углами в сторону машиниста. Освещение шкал контрольно-измерительных приборов выполнено мягким, не ослепляющим обслуживающий персонал. Под всеми приборами, лампами, кнопками, тумблерами, автоматическими выкіюча елями прикреплены таблички с соответствующими наименованиями. Все органы управления — штурвал контроллера, рукоятка реверса, кнопки, тумблеры расположень в зоне легкой досягаемости с рабочего места машиниста. В пульте
управлении сделана ниша для ног, в которой располагаются педали управления подачей песка. Правее пульта установлены кран машиниста и кран вспомогательного тормоза. На правой стенке кабины под боковым окном расположена кнопка маневровой работы, позволяющая управлять движением тепловоза при подходе его к составу без использования штурвала контроллера.
⇐Рама тепловоза 2м62 и ударно-тяговые устройства Оглавление Тележка тепловоза 2м62⇒










