Поездные контакторы тепловоза 2м62
Поездные контакторы ПК-753Б6. Электропневматический контактор ПК-753Б6 (рис. 68) предназначен для включения и отключения тяговых электродвигателей тепловоза. Основанием контактора служит панель / из стеклопластика. На панели укреплен отлитый из латуни кронштейн, к которому припаяна дугогасительная катушка, намотанная из медного профиля. Внутри катушки расположен изолированный стальной сердечник. Катушка с сердечником помещена внутрь дугогасительной камеры 2, имеющей стальные полюсы. Камера обеспечивает при коммутации эффективное гашение электрической дуги. От разрушающего действия дуги стенки
654 3 2 Рис. 67. Реле времени РЭВ-812:
/ чагинтолровол, 2. 18 — лс.чпферы: 3 катушка; 4 — кольцо. 5 — сердечник. 6"— немагнитная прокладка; 7. 13 регулировочные уз. ы: 8 - якорь: 9. 12 угольники;10 скоба;11.17-пластины, 14 подвижной контакт; 15 не 103 вижнык контакт: 16— колонка

Рис. 69. Пневматический привод контактора:
/ ци-ммчр 2—манжета. 3 юршень- J п к алла. г> пружин*; 6 - шток: 7—крышка
Рис 68. Электроппевматичсский контактор ПК-753Б6:
/- панель: 2 — д\гогнснтсльнля камера. 3 контактний система; 4—вспочої тс.ты ко і а -ты 5— пневматический і рнпо*. 6 ~ лектропнсв-( ивтическнй поі н.іь
камеры защищены си-галловыми вставками. На напели укреплен также пневматический привод контактора (рис. 69), состоящий из цилиндра / с крышкой, в котором расположены шток 6, поршень 3, манжета 2 и возвратная пружина 5. К крышке крепится включающий вентиль.
Технические данные контактора
Главные BcnoMOraic ьные
контакты контакты
Поминальный ток. Л..... 830 5
Номинальное напряжение, В 900
Количество контактных пар ... I 3
Раствор контактов, мм . 14 19,5
Нажатие контактов при давлении воздуха 0.5 МПа (5 кгс/см2)Н(кгс) ... ... 550—630(55-63) —
Провал контактов, мм ... 13—15
Пневматический привод
Диаметр цилиндра, мм 58 Ход поршня, мм . 23
Тип включающего вентиля ВВЗ
Групповой контактор ПКГ-565. Групповой контактор (рис. 70) предназначен для нодк.. ючения резисторов ослабления возбуждения тяговых электродвигателей. Он представляет собой шестиполюсиый аппарат с шестью главными контактными элементами мостикового типа и двумя вспомогательными блоками он ак ов 2. Главные контактные элементы (подвижные и неподвижные) расположены на изолирующих контактодержателях 3 и 4, закретенных соответственно па подвижном штоке и сварной раме. Шток перемещается и замыкает контакты под воздействием пневматическою диафрагмепного привода /. которым управляет электроппевматиче-ский вентиль. После прекращения подачи напряжения на вепти п> возвратная пружина перемещает шток в исходное положение, размыкая контакты.
аппарат с шестью главными контактными элементами мостикового типа и двумя вспомогательными блоками он ак ов 2. Главные контактные элементы (подвижные и неподвижные) расположены на изолирующих контактодержателях 3 и 4, закретенных соответственно па подвижном штоке и сварной раме. Шток перемещается и замыкает контакты под воздействием пневматическою диафрагмепного привода /. которым управляет электроппевматиче-ский вентиль. После прекращения подачи напряжения на вепти п> возвратная пружина перемещает шток в исходное положение, размыкая контакты.
Технические данные контактора
- Вспомогательные контакты
- Номинальный ток. A..... 450 5
- Напряжение между контактами, В 20 110
- Количество контактов.....6 4
- Нажатнс контактов. Н(кгс) . 120X2(12X2) 1.1 —1.3(0,11 0.13)
- Раствор контактов, мм. не менее . 6 2,5
- Раствор контактов, мм, не менее 4 2
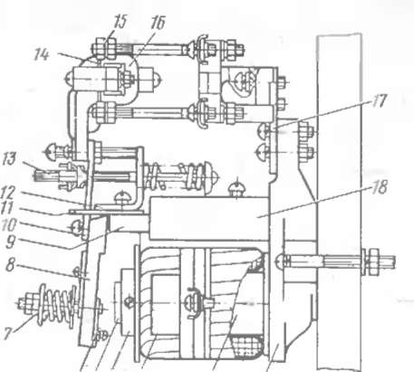
Контактор пуска дизеля КПВ-604. Для замыкания цени пуска дизеля применяются однополюсные электромагнитные контакторы КПВ-604. Контактор (рис. 71) представляет собой моноблочную конструкцию, все узлы и детали которой собираются на основной скобе 3 магнитопровода. На одном конце скобы укреплен сердечник / с втягивающей катушкой 15, на другом — пластмассовое основание 2, несущее на себе дугогасительную катушку 5, неподвижный контакт 9, дугогасительные щеки 4 и камеру 6, надетую на дугогасительный рог 8. Положение дугогасительной камеры фиксируется п юскнми прижимами 7, расположенными на щеках, и ро том //, укрепленным па основной скобе магнитопровода. В прорезь основной скобы вставляется якорь 14, на котором крепится скоба 12,

Рис /1 Контактор ттка дичеля КПВ-604:
Рис. 72 Электромагнитный контактор типа МК:
Технические данные контактора
- Номинальное напряжение катушки, В 48
- Мощность катушки. Вт....... . . 50
- Номинальное напряжение контактов. В:
- главных......... ......... 220
- вспомогательных ....... . ПО
- Ними іальньїй ток контактов, А
- главных........ ....... 250
- вспомогательных....... ..... 10
Контакторы типа МК. Электромагнитные контакторы типа МК применяются для коммутации цепей возбуждения возбудителя и тягового генератора и цепей вспомогательных электродвигателей Все элементы контактора (рис. 72) собраны на скобе /. Якорь 12 вращается на призмах, поджатых пружинами 7. Главная контактная система состоит из контактной колодки 10 с неподвижными контактными скобами и дугогасительными катушками, траверсы 8 с контактными мостиками и дугогасителыюй камеры 9. Подпружиненные колодки // предназначены для фиксации положения ду-гогаситсльной камеры. Для ее снятия следует нажать на выступающие части колодок Пи потянуть камеру на себя.
Вспомогательная контактная система состоит из контактных колодок 5 с закрепленными на них скобами неподвижных контактов и траверсы 6 с подвижными контактными мостиками. Копструк ция системы допускгГет легкую передетку замыкающих контактов в размыкающие и наоборот. Регулировка растворов и провалов контактов производится с помощью установки специальных регулировочных пластин 4 и перемещения колодки 2 ограничителя хода якоря. Технические данные контакторов типа МК приведены в табл. 6.
Таблица 6
⇐ Контроллер машиниста КВ-1552 тепловоза 2м62 оглавление Реле управления тепловоза 2м62 ⇒










