ГЛАВА III
СИСТЕМЫ, ОБЕСПЕЧИВАЮЩИЕ РАБОТУ дизеля
7. Топливная система
Топливная система тепловоза (рис. 43) предназначена для подачи необходимого количества топлива под давлением к топливным насосам дизеля для обеспечения их нормальной работы. В топливном баке 13 вместимостью 7300 л, подвешенном к средней части главной рамы, содержится запас топлива на тепловозе. Для обеспечения длительной работы топливной аппаратуры без ремонта и исключения преждевременного выхода ее из строя в топливной системе применены два последовательно включенных топливных фильтра — грубой 18 и тонкой 6 очистки, через которые Проходит все подаваемое к дизелю топливо.
Для преодоления значительного гидравлического сопротивления фильтров и обеспечения устойчивой работы топливных насосов дизеля топливная система снабжена топливоподкачивающим агрегатом 19 с подачей насоса, равной 1,62 м3/ч, т. е. примерно в 3 раза превышающей количество топлива, потребляемого дизелем при полной мощности. Для поддержания необходимого избыточного давления топлива на всасывании топливных насосов на всех режимах работы дизеля служит перепускной клапан 3, отрегулированный на давление открытия 0,13 МПа. Давление топлива после топливоподкачивающего агрегата ограничивает предохранительный клапан 8, который сбрасывает излишнее топливо в бак при превышении давления свыше 0,3—0,35 МПа.
Эксплуатация тепловоза при наружной температуре воздуха, изменяющейся от —50 до +40. . .45 °С, предопределяет необходимость применения специальных устройств, поддерживающих требуемую вязкость топлива и возможность его циркуляции при низких температурах. Это обусловлено тем, что при низких температурах наружного воздуха происходит парафи-низация топлива, приводящая к засорению трубопроводов и особенно фильтров. Подогревание топлива происходит в подогревателе // горячей водой из системы охлаждения дизеля. В летнее время года подогреватель отключают, так как из-за теплового расширения топлива уменьшается его массовый заряд при впрыскивании в цилиндры дизеля, а следовательно, уменьшается мощность дизеля.
Топливоподкачивающий агрегат засасывает топливо через заборное устройство 12 топливного бака и фильтр грубой очистки и подает его через фильтр тонкой очистки в топливные Коллекторы 2 дизеля, из которых топливо поступает в топливные насосы высокого давления. Если давление в топливных коллекторах станет выше необходимого для устойчивой работы насосов, перепускной клапан 3 откроется и избыточное топливо вместе с пузырьками воздуха и парами топлива через подогреватель сливается в бак.
В связи с значительным объемом- топливного бака в зимнее время топливо, подогретое в подогревателе, сливается по трубопроводу через Открытый вентиль 16 непосредственно в заборное устройство топливного бака. В летнее время вентиль 16 закрыт и топливо по трубопроводу через открытый вентиль 15 сливается в удаленную от заборного устройства зону топливного бака.
В случае выхода из строя топливоподкачивающего агрегата в системе предусмотрен автоматический переход на аварийное питание топливом. При этом топливо засасывается из топливного бака топливными насосами дизеля через шариковый клапан аварийного питания 17, минуя фильтр грубой очистки.
Мощность дизеля при аварийном питании составляет примерно 50% номинальной. Однако следует помнить, что этот режим крайне неблагоприятный для работы топливных насосов дизеля из-за большого разрежения в топливных коллекторах. Поэтому по прибытии тепловоза на ближайший пункт необходимо заменить топливоподкачивающий агрегат.
Работа топливной системы, а также степень загрязненности фильтра тонкой очистки контролируются манометрами 4 и 5, установленными до и после фильтра. Перед манометрами установлены демпферы, предотвращающие выход из строя манометров от пульсаций топлива, возникающих при работе топливных насосов. Топливо, просочившееся через зазоры распылителей форсунок дизеля, отводится по трубопроводу 10 в топливный бак. Скапливающееся в отсеках топливной аппаратуры блока дизеля загрязненное топливо отводится по трубопроводу 9.
Рис 43 Схема топливной системы тепловоза 1—дизель-генератор, 2—топливный коллектор, 3— клапан перепускной, 4—манометр давления топлива до фильтра тонкой очистки, 5—манометр давления топлива после фильтра тонкой очистки, 6— фильтр тонкой очистки топлива, 7—демпфер, 8—клапан предохранительный, 9—трубопровод отвода грязного топлива, 10—трубопровод отвода просочившегося топлива из форсунок, 11—подогреватель топлива, 12—заборное устройство, 13—топливный бак, 14—вентиль для выпуска воздуха из системы, 15, 16—вентили, 17—клапан аварийною питания, 18—фильтр грубой очистки 19—топливоподкачивающин агрегат

3
Топливный бак. Бак для топлива (рис. 44) представляет собой емкость сварной конструкции, подвешенную к раме тепловоза. Внутри бак разделен поперечными перегородками 16 и 17 с отверстиями для перетока топлива, а в продольном направлении — двумя несущими листами 8 и перегородками 1. К днищу бака приварен отстойник 15 с клапаном слива 5 и крышкой 14. На боковых листах бака с обеих сторон имеется по три промывочных люка, закрытых крышками 11.
Забор топлива из бака производится через заборное устройство 10. Топливо в бак можно заправлять с обеих сторон тепловоза через заправочные горловины 6, оборудованные фильтрами 13 и закрываемые пробками 12. Бак оборудован с обеих сторон тепловоза трубами топливомера 7 с атмосферными трубами. Кронштейнами несущих листов 8 и опорными лапами 2 бак крепится к кронштейнам рамы тепловоза.
Подогреватель топлива. Для подогрева топлива в холодное время года используется многоходовой трубчатый подогреватель (рис. 45). Трубная часть подогревателя собрана из 88 стальных трубок 11 наружным диаметром 17 мм и толщиной стенки 2 мм, приваренных к трубиым доскам 12.
Для обеспечения требуемой эффективности передачи тепла от воды к топливу на трубки надеты и припаяны пластины 9 из белой жести, на каждой из которых выполнено более 600 насечек. Кроме того, установка перегородок 10 позволяет совершать топливу 10 ходов. К крышке 2 приварена перегородка 7, уплотненная с трубиой частью резиновой прокладкой 8.
Горячая вода из контура охлаждения дизеля подводится через штуцер крышки 2, совершает два хода в подогревателе и отводится через штуцер 6. Крышки крепятся к трубным доскам болтами и уплотняются паронито-выми прокладками 13. Для выпуска воздуха из полости топлива в бонку обечайки ввернут полый болт 3. Отвод воздуха и пара из водяной полости подогревателя происходит через штуцер 1. Вода из подогревателя топлива сливается через бонку 14.
Рис. 45. Подогреватель топлива: 1, 6—штуцера; 2, 5—крышки; 3—болт полый; 4—корпус подогревателя топлива; 7, 10—перегородки; 8, 13—прокладки; 9—пластина охлаждающая; 11—трубка; 12—трубиая доска; 14—бойка
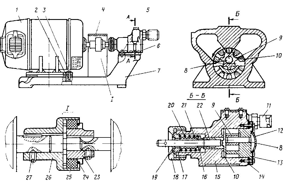
Топливоподкачивающий агрегат. Вспомогательный топливоподкачиваю-щий агрегат (рис. 46) подает топливо под давлением к топливным насосам дизеля. Агрегат состоит из насоса и электродвигателя постоянного тока 1 типа П21, установленных на общей плите 7 и соединенных между собой эластичной муфтой. Питание электродвигателя осуществляется от аккумуляторной батареи.
Топливоподкачивающий насос шестеренного типа. За одно целое со стальным валом насоса выполнена втулка 10, имеющая зубья с внутренним зацеплением, впадины которых сквозные (прорезанные). Вал вставляется в корпус 15 насоса со стороны крышки 13. Втулка 10 по наружной поверхности плотно прилегает к корпусу насоса, а с внутренней стороны зубья втулки также плотно прилегают к серповидному выступу крышки 13.
Рис. 46. Топливоподкачивающий агрегат:1—электродвигатель; 2, 5, 27—штифты; 3—шпилька; 4—кожух; 6—болт; 7—плита; 8—ось; 9— звездочка; 10—ведущая втулка; 11—штуцер; 12—заглушка; 13—крышка; 14—прокладка; 15— корпус насоса; 16, 19, 22—втулки; /7—уплотинтельная втулка; 18—накидная гайка; 20—пружина сильфона; 21—сильфои; 23, 26—полумуфты; 24—стопорное кольцо; 25—палец резиновый
Звездочка 9 сндит на оси 8, запрессованной в отверстие крышки 13. Ось звездочки расположена эксцентрично относительно оси вала ведущей втулки 10, но с обеспечением зацепления зубьев втулки и ведомой звездочки. Топливо по штуцеру 11 поступает в полость всасывания В. Заполняя впадины зубьев звездочки 9 и втулки 10, топливо при вращении последних перегоняется в нагнетательную полость Г и далее через штуцер насоса по нагнетательному трубопроводу к фильтру тонкой очистки. Точностью пригонки звездочки и втулки к корпусу насоса, крышке и к серповидному ее выступу исключается возможность обратного протекания топлива из полости Г в полость В.
Герметичность насоса обеспечивается уплотнением сильфонного типа. На вал ведущей втулки 10 напрессована стальная втулка 22, которая по наружной поверхности плотно входит в расточку корпуса, К торцу втулки 22 плотно прилегает торец бронзовой втулки 16. Плотность прилегания торцов втулок обеспечивается и шлифованием, и притиркой.
К буртику втулки 16 припаяна гофрированная трубка сильфона 21, другая сторона которой припаяна к бронзовой уплотнительной втулке 17. Пружина 20 стремится раздвинуть втулки. Накидная гайка 18 прижимает конический буртик втулки 17 к пояску корпуса насоса. Пружина 20 прижимает втулку 16 к втулке 22, исключая возможность попадания топлива, просачивающегося по зазору между корпусом и втулкой 22, в внутреннюю полость гофрированной трубки. Герметичность уплотнительного узла насоса проверяется опрессовкой топливом под давлением 0,5 МПа в течение 2 мин. При проворачивании от руки вал насоса должен вращаться плавно, без заеданий.
Торцовый зазор между втулкой 10 и корпусом насоса регулируется прокладками 14. Нормальная работа насоса обеспечивается, если радиальный зазор между ведущей втулкой и корпусом находится в пределах 0,03—0,09 мм, а осевой зазор ведущей втулки — в пределах 0,05— 0,14 мм. Соосность оси электродвигателя с осью насоса регулируется прокладками. Стабильность центровки валов насоса и электродвигателя обеспечивается установкой штифтов 2 и 5.
Соединительная муфта состоит из ведущей 26 и ведомой 23 полумуфт, посаженных с помощью шпонок на валы электродвигателя н насоса. Продольные перемещения полумуфт исключены установкой штифтов 27. Между лепестками полумуфг с натягом вставлены резиновые пальцы 25, продольное перемещение которых ограничивается стопорным кольцом 24.
Рис. 47. Предохранительный клапан: 1—гайка колпачковая; 2 — болт регулировочный; 3—гайка; 4—муфта; 5—пружина, 6—стержень, 7—шайба упорная, 8—клапан, 9—корпус, 10—пломба
Предохранительный клапан. В корпус 9 клапана (рис. 47) ввернута муфта 4. В корпусе расположен клапан 8. Требуемое давление перепуска топлива обеспечивается изменением затяжки пружины 5, ограниченной с обеих сторон упорными шайбами 7. Затяжку пружины 5 регулируют болтом 2, завернутым в муфту 4. Регулировочный болт закрыт колпачковой гайкой /. Ограничителем хода клапана 8 служит стержень 6.
При превышении давления топлива над силой затяжки пружины клапан поднимается, сжимая пружину, и топливо поступает в сливную полость клапана. Перепуск топлива будет продолжаться до момента выравнивания усилия затяжки пружины и давления топлива. В этот момент клапан под действием пружины сядет на свое гнездо, прекращая перепуск топлива.
Фильтр грубой очистки. На левой стенке кузова укреплен фильтр грубой очистки топлива. Корпус 2 (рис. 48) имеет прилив Б с четырьмя отверстиями для его крепления. В корпус вставлены два фильтрующих пакета, каждый из которых состоит из наружной 4 и внутренней 6 секций. Наружная секция изготовлена из гофрированной обечайки, обмотанной витком к витку медной проволокой специального профиля. К торцам секции припаяны донышки. Внутренняя секция имеет аналогичную конструкцию.
Каждый фильтрующий пакет накрыт колпаком 5, прижимаемым через прокладку 3 к корпусу 2 стяжным болтом 10. Коническая пружина 8 прижимает секции друг к другу и к гнезду корпуса, отделяя тем самым полость А очищенного топлива от полости В неочищенного топлива. К корпусу 2 притерта пробка трехходового крана 14, прижимаемая фланцем 13. При работающем топливном насосе трехходовым краном можно отключить один из фильтрующих пакетов и очистить его.
Топливо в полость В попадает из топливного бака через штуцер 1, отверстия трехходового крана (ручка крана установлена вертикально вниз) и каналы в корпусе (на рисунке не показано). Из полости В топливо проникает через зазоры (около 0,09 мм) между витками проволоки фильтрующей секции и далее в полость А. Очищенное топливо из полости А через отверстия в корпусе и пробке трехходового крана поступает на всасывание в топливоподкачивающий агрегат.
Рис 48 с
1 — штуцер, 2—корпус, 3, 9, 11—прокладки, 4—наружная секция фильтра, 5—колпак, 6—внутренняя секция фильтра, 7—проставка, 8—коническая пружина, 10—стяжной болт, 12—пробка, 13— фланец, 14—пробка трехходового крана
Для разборки фильтра при очистке вывертывают пробку 12 и сливают топливо в заранее приготовленную посуду. Затем отвертывают стяжной болт 10 и снимают колпак 5 вместе с фильтрующим пакетом. После очистки фильтра ручку трехходового крана необходимо установить вертикально вниз (в этом случае работают оба пакета).










