21. Контроллер машиниста и реле
Техническая характеристика контроллера
- Способ управления ........................ ручной
- Число кулачковых элементов, всего.................. 19
- главного вала........................ 11
- реверсивного вала....................... 8
- Число позиций.......................... 15
- Напряжение, В......................... 110
- Продолжительный ток контактов, А.................. 20
- Номинальный отключаемый ток, А.................. 7,5
- Раствор контактов не менее,' мм................... 8
- Провал контактов не менее, мм.................... 2
- Контактное нажатие, Н....................... 4—6
- Толщина подвижного контакта, мм.................. 1,2
- Толщина неподвижного контакта, мм.................. 1,6
- Угол поворота главного вала, град................... 300
- Угол поворота реверсивного вала от нулевого положения до положения «вперед»или «назад», град....................... 35
- Масса, кг........................... 15
В том числе:
Автоматические выключатели. Для защиты электрических цепей от перегрузок и коротких замыканий применены автоматические выключатели. До 1984 г. в цепях управления устанавливались автоматические выключатели типа А-3161 на номинальные токи 15 и 20 А. С 1984 г. устанавливают специально разработанные для подвижного состава автоматические выключатели типа АЕ-25. Новые выключатели имеют большее число номиналов, и подбор соответствующего номинала для каждой цепи позволяет улучшить качество защиты. В цепи уравнительных соединений применен автоматический выключатель типа А3700 с тепловым расцепителем на 80 А (табл. 10).
Устройство выключателя АЕ-25 и основные его сборочные единицы и детали показаны на рис. 105. Устройство выключателя А3700 аналогично выключателю АЕ-25, но он имеет трехполюсное исполнение.
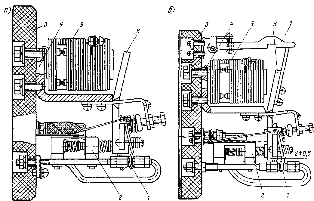
Рис. 104. Контроллер машиниста КВ-1552: 1—реверсивная рукоятка; 2—штурвал; 3—корпус; 4—реверсивный барабан; 5—контактный элемент; 6—главный барабан; 7—кулачковая шайба; 8, 11, 15—пружины; 9—фиксатор; 10, 13—рычаги; 12—храповик; 14—контактный болт; 16—мостик; 17—изолятор
Таблица 10
Операция включения или отключения выключателя осуществляется переводом рукоятки соответственно в верхнее или нижнее положение. Автоматическое выключение происходит следующим образом. При достаточном увеличении тока незакрепленный конец биметаллической пластинки теплового максимального расцепителя 9 нажимает на рейку 8 и освобождает защелку механизма управления 6, при этом под действием пружины подвижной контакт займет разомкнутое положение. Для включения выключателя после его автоматического выключения предварительно необходимо движением рукоятки вниз до отказа ввести рычаг взвода в зацепление с рейкой 8, после чего рукоятку перевести вверх до отказа. При автоматическом срабатывании выключателя повторно его включают не ранее 1 мин после срабатывания. Выключатели рассчитаны для работы до полного износа без зачистки контактов и смены частей.
Реле управления типа Р-45. Реле управления Р-45М42 (рис. 106, а) применяется в качестве промежуточного реле в цепи блока боксования. Реле управления Р-45Г2-11 (рис. 106, б) предназначено для защиты силовых электрических цепей от заземления и отличается от реле Р-45М42 наличием механической защелки 7, удерживающей якорь во включенном положении после снятия напряжения с его катушки и усиленной изоляцией катушки 5. Основные данные реле приведены в табл. 11 и 12.
Реле перехода. Реле дифференциальное РД-3010 (рис. 107) автоматически управляет контакторами ослабления возбуждения тяговых электродвигателей тепловоза в зависимости от соотношений тока и напряжения тягового генератора. Магнитная система реле состоит из магнитопровода и двух катушек: токовой 6 и напряжения 2, включаемых на напряжение, пропорциональное току и напряжению тягового генератора соответственно. Реле имеет один замыкающий контакт 9 с двойным разрывом. Контактная система реле закрыта защитным прозрачным кожухом 7. Реле срабатывает под воздействием электромагнитного усилия, создаваемого катушкой напряжения, которому противодействует усилие токовой катушки и пружины. Соответственно при уменьшении тока в катушке напряжения и увеличении тока в токовой катушке до определенных величин якорь реле отпадает и контакты размыкаются. Техническая характеристика реле и данные его настройки приведены в табл. 13 и 14.
Рис 105 Выключатель автоматический типа АЕ-25:
1—основание, 2—зажим для подсоединения проводников, 3—пламегасительное устройство, 4— крышка, 5—дугогасительная камера, 6—механизм управления, 7—рукоятка, 8—рейка, 9—тепловой максимальный расцепитель тока, 10—электромагнитный максимальный расцепитель, 11—коммутирующие контакты
Рис 106 Реле типа Р-45 а—Р-45М42, б—Р 45Г2 11, 1 — контакт рычажный, 2—блокировочные контакты 3—панель уста новочная, 4—магнитопровод, 5—катушка 6—якорь, 7 —защелка
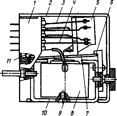
Реле защиты (блок боксования, реле температуры и давления). Блок боксования ББ-320А. Блок (рис. 108) автоматически защищает тяговые электродвигатели от резонансного боксования. Блок представляет собой три панели 1, на которых смонтированы два реле типа РК-221 и одно РК-231,
Таблица 11
Таблица 12
На изоляционной панели 1 реле типа РК. установлена разомкнутая магнитная система с втягивающимся якорем 10, укрепленным на поворотном рычаге. Контактная система имеет один замыкающий 5 и один размы* кающий 2 контакты перекидного типа с общим подвижным контактом Реле имеет высокий коэффициент возврата. Технические характеристики реле приведены в табл 15.
Реле комбинированное КРМ. Реле предназначено для контроля давления масла в системе смазки дизеля, а также контроля температуры воды и масла в системах тепловоза. Его контакты в электрической схеме тепловоза предотвращают пуск дизеля, если давление масла в конце верхнего коллектора дизеля не обеспечивается в пределах 0,05—0,06 МПа; снимают нагрузку с тягового генератора и сигнализируют, если давление масла в верхнем коллекторе дизеля на 12-й — 15-й позициях контроллера ниже 0,11 —0,12 МПа, а также, если температура воды или масла в системах тепловоза достигла предельных значений.
Изготавливают реле либо с датчиком давления, либо с датчиком температуры.

Таблица 15
Принцип действия реле основан на уравновешивании сил, создаваемых давлением внутри сильфонного устройства и винтовой цилиндрической пружины. У реле с датчиком температуры термобаллон, капиллярная трубка и сильфон представляют собой герметичную термосистему, заряженную специальным наполнителем. При повышении давления или температуры контролируемой среды (повышение температуры термобаллона вызывает увеличение давления в термосистеме) сильфон 5 (рис. 109) растягивается, преодолевая сопротивление пружины 7. Подвижной конец сильфона вместе с толкателем 6 перемещается вверх, нажимает на рычаг переключателя 9 и производит переключение контактов.
При понижении давления или температуры контролируемой среды сильфон под действием пружины сжимается. Подвижной конец сильфона с толкателем перемещается вниз и освобождает рычаг переключателя, производя обратное переключение контактов. Настройку реле производят с помощью ходового винта 8. При поворачивании ходового винта по часовой стрелке уставка реле уменьшается.
Рис 109 Реле комбинированное КРМ 1—ниппель, 2—накидная гайка, 3—прокладка, 4—корпус, 5—сильфон, 6—тол катель, 7—пружина, 8—ходовой винт 9—переключатель, 10—разъем штеп сельиый
Рис 110 Реле управления типа ТРПУ-1:
1—корпус, 2—кожух, 3—подвижная пластина замыкающих контактов, 4—подвиж иая пластина размыкающих контактов, 5—траверса, 6—угольник, 7—якорь, 8— катушка, 9—сердечник, 10—скоба, 11— пружина
Таблица 16
Реле управления серии ТРПУ-1. Реле (рис. 110) работают в электрических цепях управления тепловоза и в системе регулирования возбуждением тягового генератора. Работа реле основана на электромагнитном принципе. Электромагнит клапанного типа состоит из скобы 10, сердечника 9 с катушкой 8 и плоского якоря 7. Ход якоря ограничивается угольником 6. С помощью пружины 11 якорь возвращается в первоначальное положение. На якоре установлена пластмассовая траверса 5, воздействующая на подвижные пластины замыкающих 3 и размыкающих 4 контактов. На траверсе имеются
три перегородки, разделяющие вертикальные ряды контактов, что препятствует перебросу дуги при коммутации больших нагрузок двумя расположенными рядом- контактами. Контактные пластины, выводы катушки и электромагнит укреплены на пластмассовом корпусе 1 и закрыты кожухом 2.
При подаче напряжения на катушку реле якорь 7 подтягивается к скобе 10 и через траверсу 5 осуществляет замыкание и размыкание контактов. Когда напряжение снимается с катушки, возвратная пружина 11 возвращает якорь в исходное положение. При этом происходит размыкание замыкающих и замыкание размыкающих контактов.
Рис. 111. Реле времени РЭВ-812: 1—сердечник, 2—немагнитная прокладка, 3— отжимная пружниа, 4, 8—гайки, 5—якорь, 6— скоба, 7—пластина; 9, 15—плаики, 10, 14— изоляционные прокладки, 11—узел подвижного контакта, 12—шпильки; 13—неподвижные контакты, 16—возвратная пружина; 17—Шпилька, 18— угольник, 19—демпфер, 20—болт, 21—алюминиевое основание; 22—катушка
Техническая характеристика реле
- Номинальное напряжение, В................ 75
- Продолжительно допустимый ток контакторов, А......... 6,0
- одного контакта, А.................. 1,2
- двух последовательно включенных, А............ 2,5
- одного контакта, с........... ...... 0,005
- двух последовательно включенных, с........... 0,05
- Диаметр провода катушки, мм................ 0,125
- Число витков катушки.................. 9750
- Сопротивление при 20 °С, Ом................ 1030
Коммутационная способность контактов для коммутации индуктивных нагрузок:
Постоянная времени индуктивной нагрузки:
Реле времени РЭВ-800. Реле времени РЭВ-812 с выдержкой времени 1,5 с предназначено для задержки отключений поездных контакторов после снятия возбуждения с тягового генератора (РВЗ), а также для ступенчатого восстановления нагрузки тягового генератора после прекращения бок-сования (РВ5).
Реле времени РЭВ-813 с выдержкой времени 3 с (РВ4) предназначено для исключения ложного включения контакторов ослабления возбуждения тяговых двигателей в момент боксования. Работа реле основана на электромагнитном принципе. При протекании по втягивающей катушке тока под действием электромагнитных сил происходит втягивание якоря и переключение контактов. Выдержка времени происходит при отпадании якоря за счет замедленного спадания магнитного потока в магнитопроводе из-за наличия на нем короткозамкнутого витка, появление тока в котором препятствует спаданию магнитного потока. Реле РЭВ-813 имеет более массивный короткозамкнутый виток, за счет которого обеспечивается увеличенная выдержка.
Устройство реле времени и его составные части приведены на рис. 111, а основные данные — в табл. 17. Выдержку времени регулируют изменением толщины прокладки 2 (грубая) и натяжением отжимной пружины 3 (плавная) .
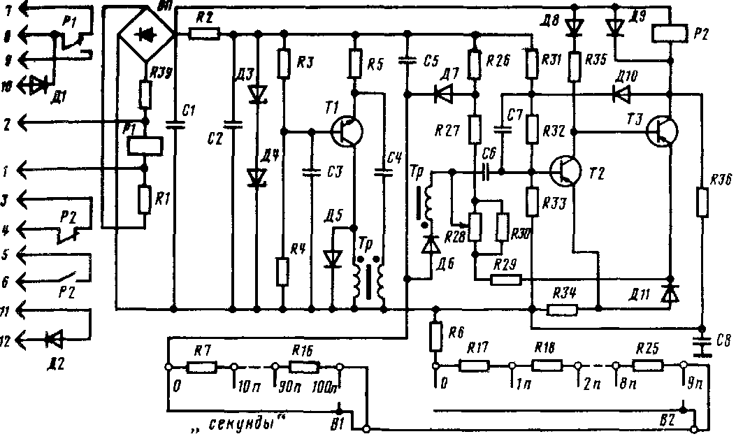
Реле времени типов ВЛ-31У2 и ВЛ50. Реле включает контактор масло-прокачивающего насоса, а по окончании выдержки времени (90 с) на прокачку маслом дизеля включает пусковые контакторы Д1 — ДЗ. Реле ВЛ-31 работает следующим образом. При подаче напряжения питания на зажимы 1 и 2 (рис. 112) срабатывает реле PL С выпрямителя ВП напряжение подается на стабилизатор напряжения, который состоит из конденсаторов CI, С2, резистора R2, стабилитронов ДЗ, Д4. Стабилизированное напряжение подается на несимметричный триггер1 на транзисторах Т2 и ТЗ и блокинг-генератор2 на транзисторе 77. При этом блокинг-генератор начинает работу в автоколебательном режиме, а триггер устанавливается в одно из своих устойчивых состояний, когда Т2 открыт, а ТЗ закрыт, м остается в ждущем режиме до прихода импульса с блокинг-гене-ратора. Включение транзистора Т2 при подаче напряжения на триггер обеспечивается делителем напряжения на резисторах R31, R32, R33, подобранных таким образом, что отрицательный потенциал на базе Т2 гораздо выше, чем на базе ТЗ.
1 Спусковая схема, спусковое устройство из двух элементов.
2 Генератор кратковременных электрических импульсов, возникающих вследствие действия сильной трансформаторной обратной связи.
Рис. 112. Принципиальная электрическая схема реле ВЛ-31 Bl, В2—переключатели; ВП—выпрямитель; ДІ—диоды полупроводниковые; PI, Р2—реле; RI—R7, R16—R18, R25—R36, R39—резисторы; С/—С8—конденсаторы; In, 2п, 8п, 9п, 10п, 90п, 100п—обозначения выдержек времени на переключателях
Для более четкого переключения триггера в цепь эмиттера транзистора ТЗ включен диод ДІЇ, а потенциал открытого транзистора Т2 позволяет надежно удержать транзистор ТЗ в закрытом состоянии. При этом реле Р2 обесточено.
Конденсатор С5 начинает заряжаться через резисторы R7—R25 и начинает отсчет выдержки времени. Для поддержания заданной точности отсчета выдержки времени в схему введен измерительный мост, который состоит из конденсатора С6, резисторов R6 — R30, R34 и диода ДІЇ. В диагональ измерительного моста включены опорный диод Д6 и обмотка трансформатора блокинг-генератора.
В момент включения напряжения диод Д6 заперт положительным потенциалом с резистора R28. По мере заряда конденсатора С5 на его нижней обкладке появляется положительный потенциал. При достижении определенного уровня, превышающего опорное напряжение, снимаемое с делителя R28, открывается диод Д6 и импульсы с блокинг-генератора свободно проходят через С6 и закрывают транзистор Т2.
Уменьшение тока в цепи эмиттер-коллектор Т2 приводит к резкому увеличению отрицательного потенциала на базе ТЗ, в результате чего происходит мгновенное переключение триггера во второе устойчивое состояние (Т2 закрыт, ТЗ открыт). Включается реле Р2, которое в свою очередь производит переключение в электрической схеме управления пуском дизеля. Выдержка времени заканчивается.
Опорное напряжение снимается с делителя на резисторах R28 — R30 и регулируется на заводе-изготовителе, поэтому в процессе эксплуатации изменять регулировку резистора R28 разрешается только при замене опорного диода Д6. Время заряда конденсатора С5, а следовательно, и время выдержки реле устанавливается переключателями Bl — В2, изменяющими зарядное сопротивление.
Диоды Д5 и Д7 шунтируют обмотки реле Р2 и блокинг-генератора для уменьшения обратного напряжения на коллекторах транзисторов, не допуская их пробоя. При снятии питания с зажимов / и 2 конденсатор С5 разряжается через обратное сопротивление диода Д7 и резистор 1126. Диоды Д1 и Д2 служат для защиты контактов реле Р1 и схемы тепловоза от всплесков напряжения индуктивности, возникающих при размыкании цепи катушек пусковых контакторов.
На тепловозах, выпускаемых с 1983 г., устанавливается реле времени ВЛ-50 вместо ВЛ-31. Реле ВЛ-50 разработано специально для тепловозов, имеет высокую надежность и небольшие размеры.
Схема функциональная реле ВЛ-50 приведена на рис. 113. Реле состоит из блока питания БП, времязадающей цепи, порогового усилителя ПУ, который открывает выходное устройство ВУ. При этом срабатывает реле Р, переключаются выходные контакты и выдержка времени заканчивается.
Рис. 113 Схема функциональная реле времени ВЛ-50










