КОТЕЛЬНЫЕ
УСТАНОВКИ И ПАРОГЕНЕРАТОРЫ
(Конструкционные характеристики энергетических
котельных агрегатов)
В
данное справочное пособие включены материалы по устройству и конструкционным
характеристикам котельных агрегатов: прямоточных с паропроизводительностью
660-3950 т/ч; с
естественной циркуляцией паропроизводительностью 160-690 т/ч; а также
высоконапорных парогенераторов, изготовляемых производственными объединениями
«Красный котельщик» и «Сибэнергомаш», а также
Подольским машиностроительным заводом (ЗиО).
Котлы
предназначены для работы в составе энергоблоков ТЭС и ТЭЦ, а также на ТЭС с
поперечными связями.
Для
различных типов котлов приведены краткие описания конструкций, основные
технические, габаритные характеристики, перечень основного
котельно-вспомогательного оборудования.
Типы
и параметры котлов соответствуют ГОСТ 3619-89 «Котлы паровые стационарные. Типы, основные
параметры».
Технические
характеристики паровых котлов приведены в соответствии с требованиями ГОСТ 28 269-89 «Общие
технические требования. Котлы паровые стационарные большой мощности».
Высоконапорные
парогенераторы представлены по проектным показателям.
Как
правило, все котлы выполняются газоплотными, с
цельносварными ограждающими панелями.
В
пособии представлены типовые конструкции котлов, однако в зависимости от характеристики
топлива, места установки и других условии строящейся или расширяемой, а также
модернизируемой электростанции завод может вносить изменения в конструкцию
котла, в тепломеханические, гидравлические, аэродинамические и прочностные расчеты.
Каждый
типоразмер котла обозначен шифром, состоящим из буквенных и цифровых индексов
по ГОСТ 3619-89.
Буквы обозначают: Е -
котлы с естественной циркуляцией, Пп - прямоточные котлы;
п -
наличие промежуточного перегрева (промперегрева); Пр - принудительная
циркуляция, Кп - комбинированная циркуляция и промперегрев. Первые цифры указывают паропроизводительность
в т/ч; вторые -
давление в МПа, затем -
температуру в °С (в числителе - температура первичного пара, в
знаменателе -
температура пара промперегрева). В случае одинаковой
температуры первичного пара и пара промпе- регрева температура указывают
один раз. Далее обозначают буквами вид топлива и тип топки, для котлов с
наддувом добавляют индекс «Н».
Для
обозначения вида топлива и типа топки установлены следующие индексы: ПА - полуантрацит; К - каменный уголь; Б - бурый уголь; С -
сланцы: М -
мазут; Г - газ;
Д - другие виды
топлива.
Типы
топок, наиболее распространенные в котлах большой мощности: Т - камерная топка с
твердым шлакоудалением; Ж -
камерная топка с жидким шлакоудалением; В - вихревая топка; Ц - циклонная топка; Ф - топка кипящего (флюидизированного) слоя.
В
скобках приводится заводской шифр модели котла. Каждый завод придерживается
собственных условных обозначений отдельных типоразмеров котлов. Наиболее распространенная
маркировка, в которой первая буква или буквы характеризуют завод- изготовитель: Т - ПО «Красный котельщик» (Таганрогский» котельный завод - ТКЗ); П - Подольский
машиностроительный завод им. Орджоникидзе (ЗиО); БКЗ - ПО «Сибэнергомаш» (Барнаульский котельный завод - БКЗ).
1.1. Устройство котлоагрегатов с естественной циркуляцией
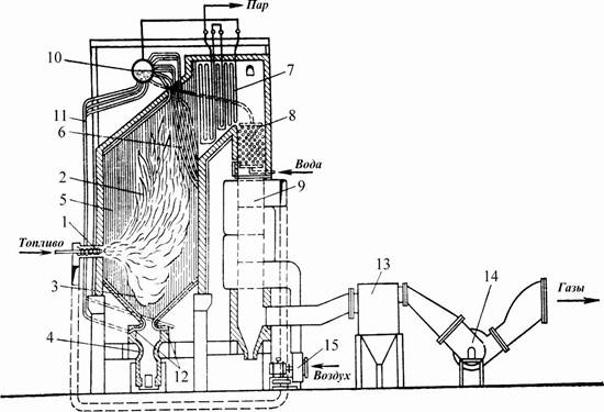
Принципиальная схема современного
мощного котлоагрегата с естественной циркуляцией,
работающего на угольной пыли, показана на рис. 1. Угольная пыль вдувается в топочную
камеру вместе с необходимым для горения воздухом через горелки.
|
Рис. 1. Схема котлоагрегата с естественной циркуляцией: 1 - горелки; 2 - топка; 3 - холодная
воронка; 4 -
шлаковая шахта; 5 -
трубы экрана; 6 -
фестон; 7 -
пароперегреватель; 8 -
водяной экономайзер; 9 -
воздухоподогреватель; 10 -
барабан; 11 -
опускные трубы; 12 -
коллекторы; 13 - золоуловитель; 14 - дымосос; 15 - дутьевой
вентилятор |
Мелкие частицы угля в
топочной камере сгорают, образуя факел, в ядре которого температура достигает 1500-2000 °С.
Стены топочной камеры
покрыты трубами, образующими радиационные поверхности нагрева (экраны). По ним
циркулирует вода и пароводяная смесь, образующаяся под действием излучения
факела. При этом продукты сгорания охлаждаются, на выходе из топочной камеры
их температура обычно снижается до 1000-1200 °С.
Омывая разреженный пучок
труб (фестон) или отдельные змеевики пароперегревателя (ширмы), дымовые газы
передают им теплоту частично, конвекцией, частично радиацией и далее поступают
в горизонтальный газоход, в котором располагаются змеевики, конвективного
пароперегревателя. По змеевикам движется пар, который, отнимая теплоту от продуктов
сгорания, перегревается до температуры 510-560 °С. Продукты сгорания,
охлажденные в пароперегревателе до 500-600 °С, направляются в вертикальный опускной газоход, в котором расположены трубы
водяного экономайзера. По трубам проходит питательная вода, которая
нагревается и поступает в барабан котлоагрегата для
пополнения испарившейся в экранах воды. Далее продукты сгорания поступают в
воздухоподогреватель, где, проходя внутри трубок, подогревают воздух,
подаваемый затем через горелки в топку. Продукты сгорания охлаждаются в
воздухоподогревателе до температуры 110-180 °С и поступают в
золоуловитель, в котором отделяется летучая зола, а затем дымососом
выбрасываются в атмосферу через дымовую трубу. Холодный воздух забирается
дутьевым вентилятором вверху котельной и подается через воздухоподогреватель и
воздухопроводы в топку.
К барабану присоединены
многочисленные трубы экранов, по которым в него поступает пароводяная смесь.
Пар в барабане отделяется от воды и поступает в пароперегреватель, а оставшаяся
вода смешивается с подаваемой питательной водой и по опускным необогреваемым
трубам, расположенным снаружи топочной камеры, поступает к нижним коллекторам
экранов. Из коллекторов вода распределяется по трубам экрана и, поднимаясь по
ним, частично испаряется за счет излучения факела; образовавшаяся пароводяная
смесь поступает в барабан.
|
|
Подъем пароводяной смеси по трубам экранов и
опускание воды по опускным трубам, т. е. естественная циркуляция, происходят
за счет разности плотностей воды в опускных трубах и пароводяной смеси в
трубах экрана. Поэтому барабанные котлоагрегаты
называются котлами с естественной циркуляцией.
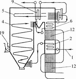
Рис.
2. Установка двухсветного экрана котлоагрегата
высокого давления паропро- изводительностью 420 т/ч (передняя
стена топки и фронтовой экран условно не показаны): 1 - левый боковой экран; 2 - двухсветный
экран; 3 -
холодная воронка; 4 - развилки
в нижней части двухсветного экрана; 5 - верхняя камера двухсветного экрана; 6 - барабан
Для
большего охлаждения факела у многих современных котлоагрегатов
паропроиз-
водительностью 400 т/ч и выше топочную камеру делят на
две части двухсветным экраном, трубы которого обогреваются лучистой теплотой
факела с обеих сторон (рис.
2). В такой топке
- две холодные воронки, в которых происходят охлаждение и
затвердевание выпавших из факела частиц спекшейся золы, образующих шлак.
Пароперегреватель современного котлоагретата,
в который поступает пар из барабана, называется первичным пароперегревателем.
Расширение пара в турбине приводит к тому, что из него выделяются капли влаги,
т. е. пар частично конденсируется на последних лопатках турбины, что
недопустимо, так как в результате сильных ударов этих капель быстрее
изнашиваются детали турбин. Во избежание этого, а также для повышения экономичности
работы установки в современных котлоагрегатах
с рабочим давлением 13,7
МПа (140 кгс/см2) и выше применяется вторичный перегрев пара в
промежуточном пароперегревателе, служащем для перегрева пара, возвращаемого из
промежуточных ступеней турбины.
В
котлоагрегатах среднего давления на перегрев
первичного пара затрачивается около 20 % всей теплоты, воспринимаемой котлоагрегатом
от дымовых газов. В котлоагрегатах с рабочим
давлением 13,7
МПа (140 кгс/см2) на долю пароперегревателя приходится около 35 % воспринимаемой котлоагрегатом теплоты, а при наличии промежуточного перегрева
пара - до 50 % теплоты.
В
котлоагрегатах сверхкритического давления выше 22,1 МПа (225 кгс/см2) на перегрев пара затрачивается еще большая
доля теплоты. Поэтому первичные пароперегреватели современных котлоагрегатов высокого и сверхкритического давления имеют
три части: радиационную, полурадиационную и конвективную.
Радиационная
часть пароперегревателя может покрывать часть стен и потолок топочной камеры.
Полурадиационную
часть выполняют в виде ширмового пароперегревателя и
обычно располагают в зоне выхода дымовых газов из топки.
Конвективная
часть состоит из змеевиков, которые собирают в пакеты и размещают в газоходах котлоагрегата за топочной камерой.
С
повышением рабочего давления обеспечение надежной естественной циркуляции воды
в котлоагрегате из-за уменьшения разности плотностей
воды и пара становится все более затруднительным.
В
настоящее время принято считать, что создание надежно работающих котлоагрегатов с естественной циркуляцией возможно лишь
для рабочего давления не выше
18,1 МПа (185
кгс/см2). В России серийные котлоагрегаты с естественной циркуляцией выпускаются с
наибольшим рабочим давлением
13,5 МПа (140
кгс/см2). Котлоагрегаты
с давлением выше 18,1
МПа (185 кгс/см2) выполняют прямоточными.
1.2. Устройство прямоточных котлоагрегатов
В прямоточных котлоагрегатах циркуляция
пароводяной смеси в трубах происходит принудительно при помощи питательных
насосов. На пути движения рабочей среды помещают смесительные
коллекторы, разделяющие всю поверхность нагрева на водяной экономайзер,
радиационную часть, переходную зону и пароперегреватель.
В
водяном экономайзере вода не нагревается до температуры кипения, так как равномерное
распределение пароводяной смеси по виткам радиационной части крайне затруднительно.
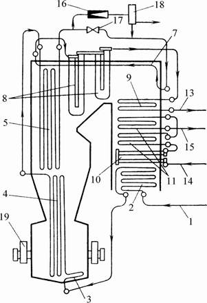
Первые
прямоточные котлоагрегаты конструкции Рамзина (рис. 3, а) имели почти горизонтальную
навивку труб 4
топочной камеры. В нижние концы этих труб входит вода, нагретая в водяном
экономайзере 2, а из
верхних концов выходит пароводяная смесь. Расположение труб
на фронтовой и задней стенках топки горизонтальное, а на боковых стенках - с небольшим
уклоном. Эти трубы называются радиационной частью котлоагре- гата;
в них большая часть воды превращается в пар, воспринимая теплоту путем радиации.
В современных прямоточных котлоагрегатах на сверхкритическое давление радиационная
часть выполнена в виде панелей
- прямых вертикальных или изогнутых труб (рис. 3, б).
В
котлоагрегатах большой паропроизводительности
по высоте топочной камеры располагают нижнюю часть (НРЧ), верхнюю радиационную
часть (ВРЧ), а иногда и среднюю радиационную часть (СРЧ).
Все панели радиационной
части топки имеют входные и выходные коллекторы, соединенные между собой
необогреваемыми перепускными трубами. Из труб радиационной части пароводяная
смесь направляется в дополнительную поверхность нагрева, называемую переходной
зоной, где происходит испарение воды, находящейся в пароводяной смеси и частичный
перегрев пара (на 50-60
°С). Необходимость устройства переходной зоны диктуется тем, что в прямоточном котлоагрегате вода
полностью испаряется в трубах за один ход. При этом часть находящихся в воде
солей оседает на внутренней поверхности сравнительно небольшого участка труб
переходной зоны, в которой завершается испарение воды, исключая
тем самым, занос солей капельками влажного пара в пароперегреватель
котлоагрегата при изменении режима его работы.
|
|
Переходная зона выделена в
отдельный конструктивный элемент, расположенный между пароперегревателем и
верхней секцией воздухоподогревателя, в зоне более низкой температуры дымовых
газов, где небольшой слой накипи, оседающей на внутренних стенках труб, создает
меньшую опасность перегрева металла труб.
|
Рис. 3. Схемы прямоточных котлоагрегатов: а - котлоагрегат Рамзина докритнческо-
го давления; б - котлоагрегат сверхкритического давления; 1 - вход
питательной воды; 2 - водяной
экономайзер; 3 -
подовый экран; 4 -
НРЧ; 5 - ВРЧ; 6 - переходная
зона; 7 -
потолочный экран; 8 -
ширмовый перегреватель; 9 - конвективная часть первичного пароперегревателя; 10 - газопаровой
теплообменник; 11 -
промежуточный пароперегреватель; 12 - воздухоподогреватель; 13 - выход первичного пара из котлоагрегата; 14 и
15 - вход и выход пара из промежуточного пароперегревателя; 16 - дроссельный
клапан; 17 -
встроенная задвижка; 18 -
растопочный сепаратор; 19 -
пылеугольная горелка |
Из
переходной зоны пар поступает в пароперегреватели. Таким образом, вода проходит
весь тракт без многократной циркуляции, напрямую, в связи с чем такие котлоагрега-
ты и называются прямоточными. Прямоточный котлоагрегат не имеет барабана.
Принудительное
движение воды и пароводяной смеси (среды) в прямоточных котло- агрегатах позволяет
применять повышенную скорость движения среды и соответственно трубы меньшего
диаметра по сравнению с котлоагрегатами с
естественной циркуляцией.
Из-за
повышенной скорости движения среды расход электроэнергии на привод питательного
насоса для прямоточных котлоагрегатов
выше, чем для котлоагрегатов с естественной
циркуляцией.
1.3. Устройство котлоагрегатов, работающих под наддувом
В
последние годы получили распространение котельные агрегаты, работающие без
дымососов, под наддувом, создаваемым дутьевыми вентиляторами (воздуходувками).
В топке и газоходах этих котлоагрегатов
устанавливается избыточное давление, которое и создает движение и удаление
дымовых газов. Давление в топке 3,5-6,0 кПа (350-600 мм вод.
ст.).
Котлоагрегаты, работающие под наддувом, не имеют присосов
холодного воздуха, вследствие чего их коэффициент полезного действия (КПД) несколько
выше за счет уменьшения потерь теплоты с уходящими газами. Необходимая
плотность газового тракта котлоагрегата
обеспечивается изготовлением стен топки, переходного газохода и конвективной
шахты из цельносварных трубных панелей с газоплотной
обмазкой. Схема циркуляции воды, пароводяной смеси и пара в таких котлах аналогична как и у котлоагрегатов
с естественной и принудительной циркуляцией.
1.4. Компоновка котельных агрегатов
Компоновка
- взаимное расположение элементов котлоагрегатов как
с естественной циркуляцией, так и прямоточных. Компоновка чаще всего
выполняется по П-образной схеме (см. рис. 1), имеющей два вертикальных и один
горизонтальный газоход.
В
первом вертикальном газоходе расположена топка с радиационными поверхностями
нагрева и движение газов в нем направлено вверх; в горизонтальном газоходе
размещается пароперегреватель или его часть, а во втором вертикальном газоходе
- конвективные поверхности нагрева - пароперегреватель, водяной экономайзер и
воздухоподогреватель. Здесь движение газов происходит сверху вниз. В некоторых
компоновках воздухоподогреватель устанавливается отдельно.
Основными
преимуществами П-образной компоновки являются возможность размещения
тягодутьевых и золоулавливающих устройств на уровне земли, что значительно
уменьшает нагрузку на строительные конструкции здания, облегчает их и
удешевляет. Уменьшается также площадь котельной за счет меньшего размера котлоагрегата, расположенного по длине здания.
Для
достижения более интенсивной теплопередачи в элементах поверхности нагрева котлоатрегата должна быть достаточно большая разность
температур между дымовыми газами и рабочим телом (водой или паром) внутри
обогреваемых труб.
Кроме
П-образной котлоагрегаты имеют и другие компоновки.
Таганрогским котло- строительным заводом изготавливаются котлоагрегаты
с естественной циркуляцией паро- производительностью 500 т/ч (ТП-90) и 640 т/ч
(ТП-100), имеющие Т-образную компоновку. При этой компоновке (рис. 4, а) топка расположена между двумя вертикальными опускными
конвективными газоходами. В горизонтальных газоходах расположены ширмы и
конвективные части первичного пароперегревателя. В опускных газоходах размещены конвективный промежуточный пароперегреватель,
водяной экономайзер и трубчатый
воздухоподогреватель. Подольским машиностроительным заводом
созданы прямоточные котлоагрегаты Т-образной
компоновки паропроизводительностыо 1000 и 1650 т/ч. Котлоагрегаты
с Т-образной компоновкой получают большое распространение при сжигании
низкокалорийных углей: разрабатываются котлы типа П-67 паропроизводительностью
2650 т/ч (ЗиО) для сжигания канско-ачинских
углей и ТПП-804
паропроизводительностыо 2650 т/ч (ТКЗ) для сжиганий донецких и
кузнецких углей.

|
ф и 500 |
На рис. 4, б представлен котлоагрегат ТП-67 Таганрогского котлостроительного завода, имеющий N-образную
компоновку, предназначенный для сжигания сланцев и других топлив с очень
легкоплавкой золой.
|
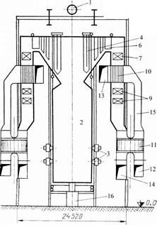
Рис. 4. Компоновка котлоагрегатов: а - котлоагрегат ТП-100 Т-образной
компоновки для сжигания антрацита; б - котлоагрегат ТП-67 N-образной
компоновки для сжигания сланцев; 1 - барабан; 2 - топка; 3 - горелка; 4 - ширмы первичного пароперегревателя; 5 - ширмы
промежуточного пароперегревателя; 6 - конвективный первичный пароперегреватель; 7 - конвективный
промежуточный пароперегреватель; 8 - ширмы экономайзера; 8 - конвективный экономайзер; 10 и 11 - трубчатый и
регенеративный воздухоподогреватели; 12 и 13 - вход и выход воздуха из
воздухоподогревателя; 14 -
выход дымовых газов из котлоагрегата; 15 - воздуховод; 16 - аппарат
гидравлического шлакоудаления;
17 - аппарат для удаления летучей золы |
Во
избежание сильного налипания золы на трубах весь пароперегреватель выполнен в
виде вертикальных ширм с шагом
0,5 м, что и потребовало устройства третьего вертикального
газохода.
В настоящее время разрабатываются варианты конструкций мощных котлоагрегатов с башенной компоновкой, при которой продукты сгорания в топке и конвективной шахте движутся вверх. Преимуществами этой компоновки являются минимальная площадь, занимаемая котлоагрегатом, минимальное газовое сопротивление и более равномерное омывание газами конвективных поверхностей нагрева. К недостаткам такой компоновки относятся сложность конструкций для крепления конвективных поверхностей и размещение на большой высоте выходных пакетов пароперегревателей