Обрыв цепи аккумуляторной батареи (А.Б)
Проверка производится при отключенных MB и не работающих ГТУ. Для проверки исправности цепи А.Б., необходимо:
- в кабине управления воздействовать на кнопку 842, при помощи которой производится проверка исправности цепи А.Б. только данной секции.
При этом:
- вольтметр 840 на пульте в кабине управления:
|
показывает напряжение |
цепь А.Б. данной секции исправна |
|
не показывает напряжение |
цепь А.Б. данной секции отсутствует |
При отсутствии цепи А.Б. в неисправной секции необходимо проверить включение ВЗВ 566 данной секции и исправность предохранителей А.Б:
|
(+) |
568 |
плюса А.Б. |
|
_fc±_l |
567 |
минуса А.Б. |
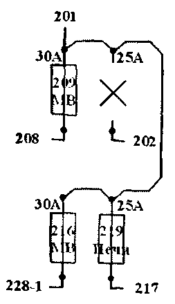
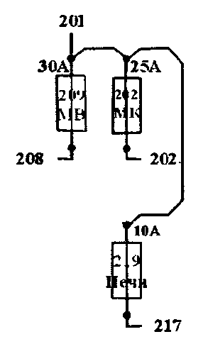
Е6 - Е7 - ЮОА предохранитель 567 - 568 находится в шкафу промежуточного коридора под АЗВ.
Е9 - 100А предохранители А.Б находится под кузовом электровоза справа - слева от шкафа А.Б:
|
(+) |
568 |
справа |
|
(-) |
567 |
слева |
При обрыве цепи А.Б одной из секций необходимо:
- включить ВЗВ 566 в другой секции;
- проверить исправность предохранителя 567 - 568 неисправной секции;
- воздух для подъема токоприемника откачать ручным насосом;
- освещение машинного отделения и ходовых частей включать только после запуска в работу MB.
При обрыве цепи А.Б. секции №1, необходимо, кроме того:
- для работы радиостанции и ЭПТ установить перемычку в шкафу промежуточного коридора под АЗВ на клеммы проводов 5000 -5141;
- ЭДТ не применять.
Запуск электровоза без аккумуляторной батареи
Соблюдая требования техники безопасности, необходимо:
- отключить разъеденители 003 в обеих секциях;
- включить заземлители 005 в обеих секциях;
- убедиться по технологическим секторам обеих секцияй их соответствие требуемым условиям;
- разблокировать дверь сетки ВВК обеих секций для выполнения работ;
- в секции №1 переключатель скорости MB 210-1 (ПШ) установить в положение низкой скорости (определяется по выходу штока привода ПШ - см. рис.41);
- в обеих секциях переключатели 200 перевести в положение «ВЭ» (крайнее левое - си. рис. 134);
- закрыть и заблокировать двери сеток ВВК в обеих секциях и убедиться совместно с помощником в их закрытии;
- по технологическим секторам в обеих секциях (над ПБК) убедиться:
- в отключенном положении заземлителей 005;
- во включенном положении разъединителей 003;
- на пульте управления в кабине машиниста включить:
- командо-аппарат 480 - 481 обеих токоприемников;
- командо-аппарат 418 МВ в положение «МС». При необходимости - ручным насосом накачать воздух в резервуар «Токоприемника» до 4,0 кгс/см2;
- включить освещение в машинном отделении для контроля наличия питания в цепях управления;
- нажать на грибок вентиля токоприемника той секции, где откачан воздух и удерживать его до появления напряжения в цепях управления от ГТУ.
Если при отпускании грибка вентиля токоприемника происходит выпуск воздуха в атмосферу, необходимо:
- сразу же вновь нажать на грибок вентиля «Токоприёмника», т.к. сетки ВВК в одной из секций оказались разблокированы;
- помощнику машиниста на ЦКР установить перемычку на провода: ___
- и на пульте управления в кабине включить командо-аппарат 528 «Вспомогательного компрессора» в положение работы вспомогательного компрессора обеих секций;
- включить оба БВ; Внимание;
во избежание пережога контактной сети опускать токоприемники разрешается только при движении электровоза и отключенном БВ;
- после запуска электровоза без А.Б., необходимо в обеих секциях проверить визуально (через сетку ввк) включение контакторов MB 211 и 212;
• если при этом:
- контактора 211 и 212 MB отключены;
- слышен запах нагрева демпферных сопротивлений 213 (MB), необходимо:
- включить на пульте управления командо-аппарат 418 MB;
- проверить включенное положение контакторов 400, при необходимости, подклинить.
При отключенном положении контактора 212 в одной из секций
Выход из положения:
- согласно требованиям техники безопасности разблокировать
|
секция №1 |
| 5210 |
-4280 |
|
секция №2 |
15200 |
-4330 |
сетки ВВК;
- в неисправной секции соединить перемычкой шунты контакторов МВ 211 - 212;

Рис.123 Вывод со схемы демпферных сопротивлений 213 - МВ
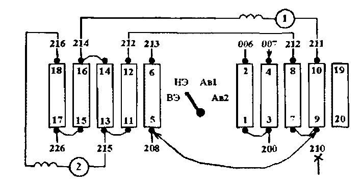
Наименование расположенного на РЩ оборудования ,-------------^-----------

Рис.124 Схема расположения клемм и подсоединения проводов к ним на РЩ
Таблица 15
|
Обозначение |
Наименование |
|
L 1 |
Дроссель |
|
РСА 1.2 |
Регулировочная плата цепи возбуждения ГТУ |
|
PCB 1.1 |
Сигнальная плата цепи сигнальных лампочек (MB) табло сигнализации 827 и 828 и реле К1 и К2 |
|
R1 |
Шунт платы PCB 1.2 - ГТУ 1 (3) - цепей провода 5000 |
|
R2 |
Шунт платы PCB 1.2 - ГТУ2 (4) - цепей провода 5000 |
|
R3 |
Шунт платы PCB 1.2 - ГТУ 1 (3) - цепей зарядки Ак. Б |
|
R4 |
Шунт платы PCB 1.2 - ГТУ2 (4) - цепей зарядки Ак. Б |
|
R5 |
Сопротивление регулировки тока возбуждения ГТУ- (3) |
|
R6 |
Сопротивление регулировки тока возбуждения ГТУ2 (4) ! |
|
VI |
Диод цепей питания провода 5000 от ГТУ] (3) |
|
V2 |
Диод цепей питания провода 5000 от ГТУ2 (4) |
|
V3 |
Диод цепей питания провода 5000 от Ак. Б |
|
V4 |
Диод цепей зарядки Ак. Б от ГТУ 1 (3) |
|
V5 |
Диод цепей зарядки Ак. Б от ГТУ2 (4) |
|
Kl |
Индикаторное реле контроля работы ГТУ 1 (3) |
|
К2 |
Индикаторное реле контроля работы ГТУ2 (4) |
|
Fl |
Предохранитель 80А якоря ГТУ 1 (3) |
|
F2 |
Предохранитель 80А якоря ГТУ 1 (3) |
|
СІ |
Конденсатор |
|
С2 |
Конденсатор |

Рис.125 Монтаж клемм и проводов на РЩ

Рис.126 Расположение оборудования на РЩ
Обозначение клемм на РЩ (нижних) ___Таблица 16
|
№ клеммы |
Провод |
Плюс, минус |
Принадлежность цепи |
|
1 |
508 |
+ |
Якоря ГТУ - 1 (3) |
|
2 |
503 |
+ |
Вольтметра на РЩ |
|
3 |
514 |
+ |
Аккумуляторной батареи |
|
4 |
517 |
+ |
Якоря ГТУ - 2 (4) |
|
5 |
510 |
+ |
Возбуждения ГТУ - 1 (3) |
|
6 |
509 |
— |
Возбуждения ГТУ - 1 (3) |
|
7 |
999 |
— |
Минус |
|
8 |
516 |
— |
Возбуждения ГТУ - 2 (4) |
|
9 |
515 |
+ |
Возбуждения ГТУ - 2 (4) |
Продолжение таблицы 16
|
№ клеммы |
Провод |
Плюс, минус |
Принадлежность цепи |
|
10 |
999 |
— |
Минус |
|
11 |
+ |
реле К1 :4 |
|
|
12 |
507 |
+ |
реле К1 : 3 - цепи реле 512 |
|
13 |
+ |
реле К2 :4 |
|
|
14 |
518 |
+ |
реле К2 : 3 - цепи реле 513 |
|
15 |
991 |
+ |
реле К1 : 1 - цепи вольтметра 840 |
|
16 |
991 |
+ |
реле К2 : 1 - цепи вольтметра 840 |
Неисправности распределительного щита (РЩ)
При повышении напряжения в цепях управления до 60 В
необходимо:
- поочередно изымать предохранитель 4 А (обмотки возбуждения ГТУ на РЩ) до восстановления нормального напряжения;
- предохранитель неисправной платы регулятора напряжения ГТУ не ставить;
- следовать на трех ГТУ;
- в релейном шкафу изъять или включить принудительно:
|
реле 512 |
при неисправности цепи ГТУ 1 (3) |
|
реле 513 |
при неисправности цепи ГТУ 2 (4) |
При работающих МВ лампочки ГТУ на РЩ горят:
- одна - ярким накалом, другая - тускло; необходимо:
- подмагнитить полюса обмотки возбуждения ГТУ.
Подмагничивание Полюса обмотки возбуждения ГТУ
Внимание!
Подмагничиватъ полюса ГТУ без отсоединения соответствующих проводов запрещается. Выход из положения:
- отнять на РЩ провода питания обмотки возбуждения неисправного ГТУ:
• от клеммы 6 (8) отнять провод 509 (516) и соединить его
перемычкой с корпусом электровоза;
• от клеммы 5 (9) отнять провод" 510 (515) и соединить его перемычкой с проводом 5000;
• включить в работу MB; Если при этом:
- загорание контрольной лампочки ГТУ на РЩ произойдет в полнакала, необходимо включить высокую скорость MB.
При нормальной работе ГТУ, необходимо:
- отключить MB;
- снять перемычки с проводов;
- провода на РЩ закрепить на соответствующие клеммы;
- включить в работу MB на нужную скорость;
Если одна из сигнальных лампочек контроля работы ГТУ на РЩ не горит
необходимо:
- убедиться в исправности ремней привода ГТУ по вращению вала якоря Генератора;
А) При вращении вала якоря ГТУ, необходимо:
- проверить исправность предохранителей на РЩ:
|
4 А |
возбуждения ГТУ |
|
80 А |
якоря ГТУ |
Если при этом, сигнальная лампочка «Остановка МВ» на панели 827 - 828 горит, то в релейном шкафу неисправной секции, необходимо:
Е4 - Е5 - расклинить реле 512 - 513 во включенном положении;
Е6 - Е9 - изъять реле 512 - 513; Б) Если при работающих МВ якорь ГТУ стоит, необходимо:
Е4 - Е5 - расклинить реле 512 (513) во включенном положении;. Е6 - Е9 - изъять реле 512(513);
КЗ в проводе 5000
Приводит к перегоранию:
- предохранителей 80А якоря ГТУ при работающих МВ на РЩ, (возможно) всех четырех;
- предохранителей 100 А цепи А.Б. 568 или 567, расположенных на электровозах серии:
Е4 - Е5 - приводит к отключению ВЗВ 566 обеих секций;
Е6 - Е7 - в шкафу промежуточного коридора под АЗВ;
Е9 - справа и слева от шкафа А.Б. под кузовом электровоза. Приводит к полному обестачиванию всех цепей управления электровоза. Необходимо:
- отключить выключатели 566 А.Б. в обоих секциях;
- отнять подводящий провод 5000 от клеммовой сборки 224 - 2, расположенного в районе межсекционного перехода секции №2 (слева);
осмотреть состояние кондуита проводов 5000 в межсекционном переходе;
- сменить (при необходимости) предохранители:
|
567 |
100А |
(-) |
минуса А.Б. |
|
568 |
100А |
(+) |
плюса А.Б. |
|
Е |
80А |
<+) |
якоря ГТУ (на РЩ) |
- включить поочерёдно в обоих секциях А.Б включателем 566 наблюдая за показанием амперметра на РЩ;
- глубокий разряд А.Б. по амперметру;
- повреждение предохранителя 567 или 568 А.Б;
- отключение ВЗВ 566;
укажет на секцию с наличием КЗ в проводе 5000;
- отключить включатель 566 и сменить (при необходимости) предохранители:
|
567 |
100 А |
(-) |
минуса А.Б. |
|
568 |
100 А |
(+) |
плюса А.Б. |
Выход из положения 1
(При наличии КЗ в проводе 5000 в секции №1) В секции №1:
- на РЩ - от клеммы 2 отнять два кабеля 5031 идущих вниз, отвести их в сторону и заизолировать;
- включить аккумуляторную батарею (А.Б);
- если отсутствует напряжение по амперметру, проверить исправность предохранителей А.Б.
|
567 |
минуса А.Б. |
|
568 |
плюса А.Б. |
при необходимости, заменить;
- снять щиток АЗВ;
- отнять провода 5000 от верхней и нижней шин АЗВ (по два на каждой шине);
- соединить перемычкой шины верхнего и нижнего ряда;
- соединить перемычкой 0 не менее 5 мм одну из шин АЗВ с клеммой провода 5141 (расположенного в шкафу под АЗВ в промежуточном коридоре);
- отключить:
|
АЗВ 881 - 1 |
АЛСН; |
|
АЗВ 899 - 1 |
радиостанции; |

Рис. 127 Вывод со схемы провода 5000 секции № 1
Для работы АЛСН:
- снять крышку переключателя направления АЛСН;
- соединить перемычкой клемму провода 5141 и клемму (+) предохранителя (дальнего) АЛСН, расположенного в переключателе направления АЛСН;
Для работы радиостанции:
- поднять крышку пульта управления в кабине;
- соединить перемычкой провода 6150 - 8500
где: - провод 6150 (+) клеммы 1 выключателя 619 «Освещения ходовых частей»;
- провод 8500 (+) клеммы 1 - 3 (на перемычке) выключателя радиостанции 8961.
Возможные ошибки:
- включать аккумуляторную батарею необходимо только после отнятия проводов на РЩ - от клеммы 2 и от клеммовой сборки 224 - 2.
Выход из положения 2:
(При наличии КЗ в проводе 5000 в секции №1) В секции №1:
- на РЩ - от клеммы 2 отнять два кабеля 5031 идущих вниз; отвести их в сторону и заизолировать от токоведущих проводов;
- включить А.Б.;
- если отсутствует напряжение по амперметру, проверить исправность предохранителей А.Б.:
|
567 |
(+) |
плюса А.Б. |
|
568 |
(-) |
минуса А.Б. |
при необходимости; их заменить;
- под АЗВ открыть дверку шкафа и отнять провода 5000 (толстые) от клеммовой сборки провода 5000;
- прозвоночной лампой определить:
- в каком из отнятых проводов 5000 имеется КЗ, отвести его в сторону и заизолировать;
- остальные провода закрепить на место;
- соединить перемычкой 0 не менее 5 мм на РЩ клемму 2 и оставшиеся провода клеммовой сборки провода 5000;
- произвести запуск электровоза обычным порядком;
- включить в работу МВ.

Рис.128 Вывод со схемы провода 5000 секции №1 или секции №2
Для работы АЛСН (если при включении - АЛСН не работает) - отключить:
|
АЗВ 881 - 1 |
АЛСН |
|
АЗВ 899 - 1 |
радиостанции |
- снять крышку переключателя направления АЛСН;
- соединить перемычкой клемму провода 5141 и клемму (+) предохранителя (дальнего) АЛСН, расположенного в переключателе направления АЛСН;
Для работы радиостанции:
- поднять крышку пульта управления в кабине;
- соединить перемычкой провода 6150 - 8500;
где: - провод 6150 (+) клеммы 1 выключателя 619 «Освещения ходовых частей»;
- провод 8500 (+) клеммы 1 - 3 (на перемычке) выключателя радиостанции 8961.
Выход из положения 3
(При наличии КЗ в проводе 5000 в секции №2) В секции №2:
- на РІД - от клеммы 2 отнять два кабеля 5032 идущих вниз; отвести их в сторону и заизолировать от токоведущих проводов;
- включить А.Б.;
- есЛи отсутствует напряжение по амперметру, проверить исправность предохранителей А.Б., а при необходимости, заменить:
|
567 |
(+) плюса А.Б. |
|
568 |
(-) минуса А.Б. |
- снять щиток АЗВ;
- отнять провода 5000 от верхней и нижней шин АЗВ (по два на каждой шине);
- соединить перемычкой шины верхнего и нижнего ряда;
- соединить перемычкой 0 не менее 5 мм одну из шин АЗВ с клеммой провода 5142 (расположенного в шкафу под АЗВ в промежуточном коридоре);
- произвести запуск электровоза обычным порядком;
- включить в работу МВ.
Выход из положения 4:
(При наличии КЗ в проводе 5000 в секции №2) В секции №2 (рис.131):
- на РЩ - от клеммы 2 отнять два кабеля 5032 идущих вниз; отвести их в сторону и заизолировать от токоведущих проводов;
- включить А.Б;
- если отсутствует напряжение по амперметру, проверить исправность предохранителей А.Б, а при необходимости, заменить:
|
567 |
(+) плюса А.Б. |
|
568 |
(-) минуса А.Б. |
- под АЗВ открыть дверку и отнять провода 5000 (толстые) от клеммовой сборки провода 5000;
- прозвоночной лампой определить:
- в каком из отнятых проводов 5000 имеется КЗ;
- отвести его в сторону и заизолировать;
- остальные провода закрепить на место;
- соединить перемычкой 0 не менее 5 мм на РЩ клемму 2 и оставшиеся провода клеммовой сборки провода 5000;
- произвести запуск электровоза обычным порядком;
НЕ ПОДНИМАЮТСЯ ТОКОПРИЕМНИКИ
Проверить в обеих секциях:
- отключение заземлителей 005, включение разъединителей 003 (по технологическим секторам и по контрольным лампочкам);
- закрытие сеток ВВК обеих секций;
- отсутствие ножей во врубах 076, 077, 078 и положение их направляющих размыкания блокировок;
- наличие воздуха в резервуарах токоприемников 907;
- положение рукояток «СТОП» 478 в обеих кабинах; -включение АЗВ 475-1 иАЗВ462-2.
Выход из положения 1:
- на ЦКР соединить перемычкой провода в обеих секциях:
|
1-я секция |
5210-4280 |
|
2-я секция |
5200 - 4330 |
- Токоприемник поднимать включением командоаппарата 528 «Вспомогательного ком прессора».
Выход из положения 2:
- на ЦКР соединить перемычкой провода в задней секции:
|
1-я секция |
5930 - 4280 |
|
2-я секция |
5930 - 4330 |
- токоприемник поднимать включением командо-аппарата (к-а) 359 «ЖАЛЮЗЕЙ» на ручное управление. При наличии: дождя, снегопада, пыли (во время уборки урожая), отключении АЗВ 302 (324) - использовать выход из положения 1.
НЕИСПРАВНОСТИ ЦЕПЕЙ УПРАВЛЕНИЯ БВ
Не включаются оба БВ
Проверить в обеих секциях (при необходимости, восстановить):
- положение блинкерных реле на блинкерном табло 802;
- положение ПБК 330 на «0» позиции;
- положение рукояток «СТОП» 478 в обеих кабинах управления;
- наличие воздуха в резервуарах токоприемников 907;
- закрытое положение сеток ВВК;
- включение:
АЗВ4751 АЗВ 4622 АЗВ8102
Выход из положения 1:
- от источника выключающего импульса 022 (электронный блок БВ) отсоединить жекс XI во избежание подачи на него напряжения 50 В (на электровозах серии Е9);
- в неисправной секции на ЦКР соединить перемычкой провода:
|
1 -я секция |
6241 -4111 |
|
2-я секция |
6242-4112 |
при этом:
- БВ включается на ток уставки 2500 А;
- защита силовых цепей от токов КЗ и перегруза отсутствует;
- следовать на «П» соединении при этом, запрещается.
Выход из положения 2:
- от источника выключающего импульса 022 (электронный блок БВ) отсоединить жекс XI во избежание подачи на него напряжения 50 В (на электровозах серии Е9);
- на ЦКР в неисправной секции соединить перемычкой провода:______
|
Е5-Е7 |
1 -я секция |
5711-4111 |
|
2-я секция |
5712-4112 |
|
|
Е9 |
1-я секция |
5710-4111 |
|
2-я секция |
1690 - 4112 |
- БВ включается при восстановлении блинкерных реле кнопкой 836;
при этом - для защиты силовых цепей от токов КЗ и перегруза, необходимо:
- на ЦКР соединить перемычкой провода:
|
1 -я секция |
5660 - 6460 |
|
2-я секция |
5660 - 6480 |
- следовать на «П» соединении при этом запрещается. Необходимо помнить, что:
- существует возможность включения БВ на позициях ПБК 330, перед восстановлением блинкерных реле, необходимо убедиться, что ПБК находится на «0» позиции;
При проскакивании включающего рычага БВ
необходимо:
- установить скобу «Ерёмина» (рис.129):
- включить БВ;
- убедиться в его включении по зазору между упорными планками БВ (зазор 3-8 мм);

Рис. 129 Постановка скобы Ерёмина
При не включении одного из БВ
необходимо:
- переключатель 018-2 перевести в нижнее положение;
- следовать на «П» соединении при этом ЗАПРЕЩАЕТСЯ.

Рис.130 Переключатель 018-2
ОТКЛЮЧАЕТ БВ НА 1-й ПОЗИЦИИ
Без выпадания блинкерных указателей:
- разомкнут контакт контактора 400, необходимо в неисправной секции;
- подклинить контактор 400;
- зашунтировать контакт 1 - 2 контактора 400 в проводах:
|
1 -я секция |
. 4180-4192 |
|
2-я секция |
4170-4191 |
Или на ЦКР соединить перемычками провода:
|
1 -я секция |
4180-4192 |
|
2-я секция |
4170-4191 |
При подклинивании контактора 400 существует возможность включение БВ на позициях с пульта управления, необходимо контролировать положение ПБК на «0» позиции перед включением БВ.
Отключает БВ при переходе ПБК 330 с «С» на «СП» соединение
Причины:
- неисправное реле Ф на ПБК 330 ведущей секции;
- неисправная цепь реле Ф (к-э 65 - 66 ПБК 330);
- обрыв цепи диода 423 в релейном шкафу;
- остался включенным ЛК 60-1;
- остался включенным ЛК 60-2; при этом:
- 312 переключатель в положение «Разгон СП» устанавливать запрещается до выполнения необходимой проверки.
Необходимо при обесточенных силовых цепях включить БВ и опустить токоприёмники; если при этом:
А) Отключается БВ-1 по блинкеру 808:
- остался включенным ЛК 29-1; при этом:
- разрешается перевести переключатель 312 в положение «Разгон СП».
Б) Отключается БВ-2 по блинкеру 808:
- остался включенным ЛК 60-2, проверить;
при этом:
- разгон СП ставить запрещается до осмотра контактора ЛК60-2 и его блокировок;
- если контактор ЛК 60-2 остался включенным (см. раздел: действия при неисправности ЛК 60-2);
- если контактор ЛК 60-2 отключен, а отключение БВ-2 по блинкеру 808 произошло по причине неисправности блокировки контактора ЛК 60-2 - разрешается перевести переключатель 312 в положение «Разгон СП».
В) БВ-2 не отключается по блинкеру 808:
- разрешается перевести переключатель 312 в положение «РАЗГОН СП».
при этом:
- отключение БВ-1 и БВ-2 на 1-й позиции по блинкеру 015 укажет на неисправность ЛК 60-1.
- если при этом БВ не отключится на 1 -й позиции, следовать до депо в положении переключателя 312 «Разгон СП»;
- с 1-й позиции - «СП» соединение;
- с 20 33 позиции «СП - ходовая»;
- следовать на «СП-П» соединениях с применением ОП.
Отключает БВ при переходе ПБК 330 с «СП» на «С» соединение
Причины:
- неисправное реле Ф на ПБК 330 ведущей секции;
- неисправная цепь реле Ф (к-э 65 - 66 ПБК 330);
- обрыв цепи диода 423 в релейном шкафу;
- остался включенным ЛК 29-2;
- остался включенным ЛК 57-2;
- остался включенным ЛК 59-2; Необходимо:
- осмотреть ЛК.
- проверить на обрыв диод 423;
А). При неисправности цепи реле «Ф» или диода 423, необходимо:
- перевести переключатель 312 в положение «Разгон СП». Б). При неисправности ЛК выход из положения смотри в разделе
- «Неисправности ЛК».
НЕ РАБОТАЮТ ВСПОМОГАТЕЛЬНЫЕ МАШИНЫ
Проверить:
- наличие напряжения в контактной сети по килловольтметру в
обеих кабинах;
- включение АЗВ 462-1, 300-1, 476-1 - при их отключенном положении - включить;
- включение контакторов 400 обеих секций - при их не включении - подклинить (рис. 131);
- наличие и исправность диодов 459 в релейном шкафу обеих секций (при их неисправности на блинкерном табло 802 выпавшие блинкерные сигнализаторы 067 - 068 и 843 - 844 не восстанавливаются):
• наличие плюса на PB 414 и PB 422 на клеммах:
|
серии Е6 |
клемме 4 |
таймера |
|
клемме 2 |
PB |
|
|
серии Е7 - Е9 |
клемме 2 |
PB |
|
• наличие минуса на PB 422 и PB 414 на клеммах: |
||
|
серии Е6 |
клемме 3 |
таймера |
|
клемме 10 |
PB |
|
|
серии Е7 - Е9 |
клемме 10 |
PB |
- отключен межсекционный разъеденитель 013-1 при поднятом токоприемнике №2.

Рис.131 Варианты подклинивания контактора 400 во включённом, положении
Не работают МК-1 и MB
Причины:
- отключен межсекционный разъеденитель 013-1 при поднятом токоприемнике №2;
- отключен контактор 400-1 - при отключении - подклинить. Включение контактора 400-1 можно определить путем включения контактора 701-1 отопления поезда по указателю отопления поезда 708;
- отключен АЗВ 462-1, 300-1, 476-1 - при их отключенном положении - включить;
- отсутствует или неисправен диод 459 -1 в релейном шкафу, проверить:
• наличие плюса на РВ 414-1 и РВ 422-1 на клеммах:
|
Е6 |
клемма 4 |
таймера |
|
клемма 2 |
РВ |
|
|
Е7- Е9 |
клемма 10 |
РВ |
• наличие минуса на РВ 422-1 и РВ 414-1 на клеммах:
|
Е6 |
клемма 3 |
таймера |
|
клемма 10 |
РВ |
|
|
Е7- Е9 |
клемма 2 |
РВ |

Рис.132 Расположение клемм Реле времени ЧС7

Рис. 133 Расположение клемм Реле времени ЧС7
Не работают МВ
Необходимо: включить МВ на высокую скорость; при этом:
МВ секции №1 работают, а МВ секции №2 не работают
Проверить:
- положение ножа 226-1 во врубах зажимов;
- включение контактора 211-2 и 212-2 визуально;
- крепление шинки 223-2 на клеммах 1 - 2 (минусовая шинка МВ секции 2);
- возможен обрыв межсекционного кабеля на клеммах 7 или 8 на клеммовой сборке 2241 или 2242;
Выход из положения:
(При включении контактора 211-2 на слух и визуально). А) - переключатель 200-2 перевести в положение «Авар.З»; если МВ заработают, необходимо:
- отключить 5-6 ТЭД;
- в релейном шкафу секции №2:
|
Е5 |
расклинить реле 5122 во включенном положении |
|
Е6-Е9 |
изъять реле 5122 |
Если МВ не заработают, необходимо: Б) - переключатель 200-2 перевести в положение «Авар.4»; если МВ заработают, необходимо:
- отключить 7-8 ТЭД;
- в релейном шкафу секции №2 реле 513-2:
|
Е5 |
расклинить во включенном положении |
|
Е6-Е9 |
изъять реле |
Если МВ не заработают, необходимо: В) - переключатель 200-2 перевести в положение временной эксплуатации «ВЭ» - шунтируется контактор 211-2;

Рис.134 Расположение фиксируемых позиций переключателя 200
При выпавшем положении ножа 226-1 из врубов:
Необходимо:
- установить нож 226-1 на место, но предварительно необходимо поджать зажимы врубов ножа;
При управлении с кабины №1, ПБК на набор далее 1-й позиции не идёт
При этом, МВ на низкой и высокой скорости работают. Необходимо:
- Восстановить блок-контакты ножа 226-1 на место, для чего предварительно поджать врубы ножа;
Выход из положения:
- в ведущей секции на ПБК 330 соединить пермычкой клеммы КЭ 74 - 58.
Нож 226-1 расположен:
|
Е5-Е7 |
под вставками ВВК 110 и 011 |
|
Е9 |
под линейным контактором 60-1 |

Рис.135 Расположение ножа 226-1 во врубах зажимов
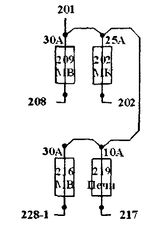
МВ секции №2 работают, а МВ секции №1 не работают
Проверить:
- исправность ЗОА вставки 209-1 - при необходимости -заменить;
- включение контактора 211-1 и 212-1 визуально;
Выход из положения: (При включении контактора 211-1 и 212-1
на слух и визуально) А) - переключатель 200-1 перевести в положение «Авар.1»; если МВ заработают, необходимо:
- отключить 1 - 2 ТЭД;
- в релейном шкафу секции №1:
|
Е5 |
расклинить реле 5122 во включенном положении |
|
Е6-Е9 |
изъять^) еле 5122 |
Если МВ не заработают, необходимо: Б) - переключатель 200-1 перевести в положение «Авар.2»; если МВ заработают, необходимо:
- отключить 3-4 ТЭД;
- в релейном шкафу секции №1 реле 513-1:
|
Е5 |
расклинить во включенном положении |
|
Е6-Е9 |
изъять |
Если МВ не заработают, необходимо: В) - переключатель 200-1 в положение временной эксплуатации «ВЭ» - шунтируется контактор 211-1;
- в неисправной секции соединить перемычкой шунты контакторов МВ
| 211-Ги212-4 | - изъять диод 424 в релейном шкафу неисправной секции;
МВ на высокой скорости работают в обеих секциях
Причины:
• ПШ 210-1 не разворачивается в положение МС - осмотреть подводящие провода к вентилям ПШ - при необходимости, ПШ развернуть на низкую скорость (шток привода цилиндра выдвинут).
• Осмотреть силовые контакты ПШ положения МС МВ.

Рис. 136 Расположение привода ПШ на МС МВ (выход штока)
В обеих секциях: МВ не работают на малой и высокой скорости, МК работают
Проверить:
- исправность 30А вставок 209-1 и 216-1 - при необходимости -заменить;
- включение контакторов:
I 2111 и 2121 I 2112 и 2122
- осмотреть привод блокировочных контактов ПШ:
• отсутствует необходимое нажатие или контакт в блок-контактах ПШ;

Рис.137 Расположение вставок вспомогательных машин в ВВК
При исправных вставках 209-1 и 216-1 и откючённых контакторах 211 и 212 Выход из положения 1:
- ПШ 210-1 перевести в положение «МС»;
- при поднятом токоприёмнике и включенном БВ на пульте управления в кабине,необходимо:
• включить командо-аппарат418 MB;
- при отключенном контакторе 400 - подклинить его во включенном положении;
|
Е5 |
вручную нажать на якорь РВ 422 в той секции, где отключены контактора МВ 211 и 212; |
|
Е6-Е9 |
на РВ 422 соединить перемычкой клеммы 1 - 3 на 3 сек |
- после запуска MB перемычку с РВ 422 снять;
Выход из положения 2:
- ПШ 210-1 перевести в положение «МС»;
- переключатели 200 обеих секций перевести в положение «ВЭ»;
- соединить перемычкой шунты контакторов MB:
|
в секции №1 |
211-1 и 212-1 |
|
в секции №2 |
211-2 и 212-2 |
- изъять диоды 424 в релейных шкафах обеих секций;
• при подъеме токоприемника MB заработают;
• опускать токоприемник необходимо .только при движении локомотива во избежание пережога контактной сети.
При работающих MB сигнальная лампочка «Остановка MB» на табло 827 - 828 не тухнет
- убедиться визуально во включении контактора 212-! и 212-2 второй ступени MB.
при их не включении:
- на ЦКР соединить перемычкой провода:
|
Е5-Е7 |
1-я секция |
4801 -4811 |
|
2-я секция |
4802 - 4862 |
|
|
Е9 |
1 -я секция |
4801 -4811 |
|
2-я секция |
2470 - 4862 |
Если, при поставленной перемычке на ЦКР, контактор 212 не включился или демпферные сопротивления 213 - пуска МВ греются, необходимо:
- в ВВК соединить перемычкой шунты контакторов 211-212 (рис.123);
- по сигнальным лампочкам на РЩ убедиться в исправной работе ГТУ (при включенных МВ);
При исключении из работы МВ
необходимо исключить соответствующую пару ТЭД:
|
Сторона кабины |
МВ1 |
МВ2 |
МВ4 |
МВЗ |
Сторона кабины |
|
№1 |
1 - 2 ТЭД |
3 - 4 ТЭД |
7 - 8 ТЭД |
5 - 6 ТЭД |
№2 |
При отключении БВ по блинкеру:
|
F.5 |
025 - 026 |
|
Е6-Е9 |
208-217 |
и отсутствии возможности их восстановления кнопкой 836 Необходимо:
- восстановить тепловые реле вспомогательных машин;
- восстановить блиикерный сигнализатор;
- включить БВ;
- произвести запуск в работу Вспомогательных машин.

Рис.138 Тентовое реле вспомогательных машин

Рис.139 Табло 802 блинкерных сигнализаторов
При повторном отключении БВ но срабатыванию теплового реле 217
Необходимо:
- в неисправной секции произвести поочередное отключение МВ 200 переключателем, исключив из работы неисправный МВ;
- исключить из работы пару ТЭД, которые не будут охлаждаться отключённым МВ.
Не включается контактор 211 МВ по неисправности РВ 422
■ серии Е5 - снять крышку РВ 422 неисправной секции и нажать на якорь реле на включение на 3 сек и отпустить;
• серии Е6 - Е9 - зашунтировать перемычкой на РВ 422 клеммы 1 - 3 на 3 сек и перемычку убрать;

Рис. J40 Реле времени 422 при запуске MB серии Е5 (а) и серии Еб - Е9 (б)
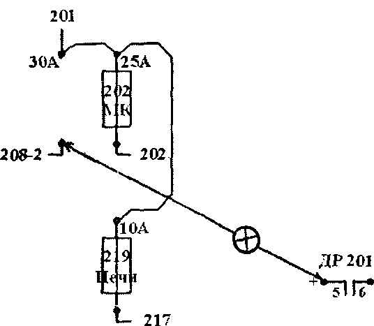
НИЗКОВОЛЬТНАЯ ПРОЗВОНКА СИЛОВЫХ ЦЕПЕЙ MB НА ОБРЫВ
Обязательно:
Проверить монтаж межсекционных силовых кабелей MB на клеммовой сборке 224 (рис.141): Для этого необходимо:
- при опущенном токоприемнике и включенном заземлителе в
секции №2 закрепить второй конец прозвоночной лампы на
нижний зажим гнезда вставки 209-2, при этом, плюс (+) взять
от блокирозки ДР201-2.
1. Прозвоночная лампа ею горит - монтаж силовых кабелей не нарушен.
2. Прозвоночная лампа горит - монтаж м^жсекционных силовых кабелей MB на клеммовой сборке 224 клеммах 7 и 8 - нарушен;

Рис.141 Вставки ВЕК секции №2 при прозвонке монтажа межсекционных кабелей силовой цепи МБ
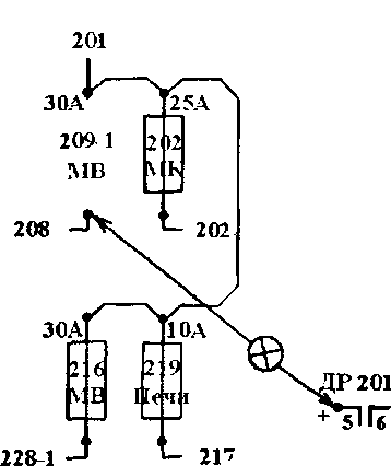
Прозвонка на обрыв силовых цепей МВ при отсутствии нарушения монтажа межсекционных кабелей на клеммах 7 и 8 клеммовой сборки 224
- при опушенном токоприемнике и включенном заземлителе включить коман/-.о-аппарат 418 МВ в положение «Низкой скорости»:
- подклинить в релейных шкафах:
|
контактор |
4001 |
|
контактор |
4002 |
В секции №2 закрепить второй конец прозвоночной лампы на нижний зажим гнезда вставки 209-2. при этом, плюс (+) взять от блокировки ДР201-2. 1. Прозвоночная лампа не горит: необходимо:
- 200-2 переключатель перевести в положение:
|
вэ |
звоним исправность контактора 211-2 |
|
АВЗ |
звоним исправносвь МВ-3 |
|
А В 4 |
звоним исправность МВ-4 |

Рис. 142 Расположение фиксируемых положений переключателя
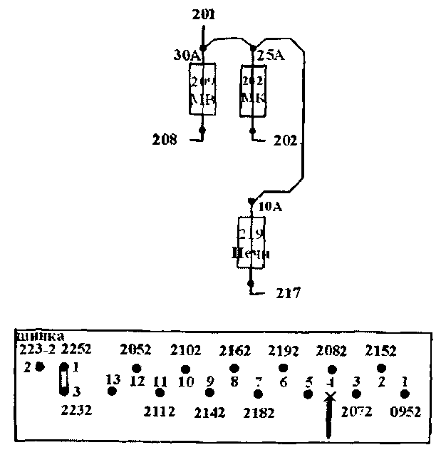
а) Если прозвоночная лампа не горит:
- 200-2 переключатель перевести в положение «НЭ»;
- соединить перемычкой клеммы 1 - 3 шинки 223-2:
|
шинка |
||
|
223-2 2252 |
2052 2102 2162 2192 |
2082 2152 |
|
• • • • |
• • |
|
|
13 12 11 10 9 8 - 6 |
5 4 3 2 1 |
|
|
• 3 |
• • • • |
• • • |
|
2232 |
2112 2142 2182 |
2072 0952 |
Рис.143 Монтаж клемм платы вспомогательных машин секции №2
звоним:
- межсекционный кабель на клеммовой сборке клеммы 8;
- состояние ножа 226-1;
2. Прозвоночная лампа на нижнем зажиме гнезда вставки 209-2 горит:
- цепь МВ секции №2 - исправна. В секции №1:
- второй конец прозвоночной лампы закрепить на ПШ 210-1 клемму 01 (провод 224-1);
при этом: - плюс (+) взять от блокировки ДР 201-1 или от блокировки ПШ 210-1;
■ звоним межсекционный кабель клеммовой сборки 224 клеммы 7;
|
Клемма ПШ |
Скорость МВ |
Клемма ПШ |
|
|
228-1 - |
02 |
ВСМВ |
01 г— 224-1 |
|
03 |
МС МВ |
01 д |
|
|
05 |
ВСМВ |
04 к— 225-1 |
|
|
220-1 —Л |
06 |
МС МВ |
04 г |
Рис.144 Расположение клемм и силовых кабелей на ПВ 210-1
А). Прозвоночная лампа горит:
- межсекционный кабель клеммовой сборки 224 клеммы 7 и кабель 208-2 - исправены;
Б). Прозвоночная лампа не горит:
- имеется обрыв межсекционного кабеля клеммовой сборки 224 клеммы 7 в секции №1 или секции №2;
Для прозвонки силовых цепей МВ секции №1 на обрыв
необходимо:
- изъять из гнезда 30А вставку 209-1;
- закрепить второй конец прозвоночной лампы на нижний зажим гнезда вставки 209-1, при этом, плюс (+) взять от блокировки ДР201-1;
- 200-1 переключатель перевести в положение:
|
вэ |
звоним исправность контактора 211-1 |
|
АВ 1 |
звоним исправность МВ-1 |
|
АВ2 |
звоним исправность МВ-2 |
3. Прозвоночная лампа на нижнем зажиме гнезда
вставки 209-1 горит (рис.145) - цепь МВ секции №1 исправна.
4. При исправности силовой цепи МВ обеих секций,
необходимо прозвонить на исправность вставки 209-1 и 216-1 МВ.
Выход из положения 1:
(При неисправности контактора 211 в одной из секций)
- изъятые ранее 30А вставки - установить на место;
- в неисправной секции переключатель 200 перевести в положение «ВЭ»;
- включить в работу МВ.

Рис. 145 Прозвонка силовых цепей МБ секции №1 на обрыв Выход из положения 2:
(При неисправности контактора 211 в обеих секциях):
- изъятые ранее 30А вставки - установить на место; в секции №:1
- переключатель 200-1 перевести в положение «ВЭ»;
- соединить перемычкой шунты контакторов МВ (см. рис.123)
211-1
212-1
в секции №2:
- переключатель 200-2 перевести в положение «ВЭ»;
- соединить перемычкой шунты контакторов МВ
211-2
212-2
- включить в работу МВ.
Выход из положения 3: (При неисправности МВ):
- изъятые ранее 30А вставки - установить на место;
- отключить неисправный МВ переключателем 200;
- отключить ТЭД, который охлаждал отключённый МВ;
|
Сторона |
МВ1 |
МВ2 |
МВ4 |
МВЗ |
Сторона |
|
кабины №1 |
1-2ТЭД |
3-4ТЭД |
7-8ТЭД |
5-6ТЭД |
кабины №2 |
Выход из положения 4: (Для работы МВ секции №2): В секции №2:
- переставить шинку 223-2 с горизонтального положения 1 - 2 в вертикальное положение 1 - 3;
- исправную 30А вставку 216-1 (в секции №1) изъять и установить её в свободное гнездо вставки 209-2 (в секции №2):
- включить в работу «Высокую скорость МВ»;
- МВ работают на высокой скорости - каждая секция от своего БВ.

Рис.146 Расположение вставок вспомогательных машин и шинки 223-2 при запуске МВ секции №2 от БВ2
При исправных силовых цепях МВ на высокой скорости и неисправных силовых цепях МВ на низкой скорости
Необходимо проверить исправность силовых контактов ПШ 210-1.
Отключает БВ1 по блинкеру 201 при включении МВ
Необходимо проверить исправность 30А вставки 209-1, при необходимости - заменить.
Прозвонка силовых цепей МВ на КЗ
Необходимо:
1) - в релейных шкафах обеих секций:
|
| Е5 |
PB 422 - расклинить в отключенном положении |
|
L Е6-Е9 |
PB 422 - изъять |
- при поднятом токоприемнике и включенном БВ включить командо-аппарат 418 в положение «Высокой скорости» -звоним межсекционный кабель и кабель 208-2 секции №2;
- отключение БВ укажет на КЗ межсекционного кабеля или кабеля 208-2 секции №2.
2) - в релейном шкафу секции №1:
|
изъять ранее установленное расклинивание РВ 422-1, для его нормальной работы |
|
|
Е6-Е9 |
установить на место в гнездо РВ 422-1 |
- на переключателе 200-1 под КЭ клеммы 10 проложить изоляцию - звоним на КЗ демпферньле сопротивления 213-1 пуска MB;
- включить ком андо-аппарат 418 MB в положение «Малая скорость MB».
Если при этом произойдет отключение БВ1 по блинкеру 201 - КЗ в цепи демпферных сопротивлений 213-1 пуска МВ секции №1.
3) - Если при прозво.нке на КЗ цепи демпфер.чых сопротивлений
213-1 пуска MB секции №1 БВ1 не отключит, необходимо:
- изъять ранее установленную изоляцию на переключателе 200-1 из-под КЭ клеммы 10 и убедиться в прижатии КЭ;
- включить ком андо-аппарат 418 MB в положение «Малая скорость MB» - звоним исправность силовой цепи MB секции № 1 ;
если при этом:
- произойдет отключение БВ1 по блинкеру 201 - КЗ в цепи MB секции №1.
4) - Если при прозвонке на КЗ цепи MB секции №ï БВ1 не
отключит, необходимо в релейном шкафу секции №2:
|
г 1 Е5 |
изъять ранее установленное расклинивание РВ 422-2, для его нормальной работы |
|
! Е6-Е9 |
установить на место в гнездо РВ 42'2-2 |
- на переключателе 200-2 под КЭ клеммы 10 проложить изоляцию - звонить на КЗ демпферные сопротивления 213-2 пуска МВ;
- включить командо-аппарат 418 МВ в положение «Малая скорость МВ»;
если при этом:
- произойдет отключение БВ1 по блинкеру 201 - КЗ в цепи демпферных сопротивлений 213-2 пуска МВ секции №2;

Рис.147 Расположение клемм перекючателя 200
5) - Если при прозвонке на КЗ цепи демпферных сопротивлений 213-2 пуска МВ секции №1 БВ1 не отключит, необходимо:
- изъять ранее установленную изоляцию на переключателе 200-2 из-под КЭ клеммы 10 и убедиться в прижатии КЭ;
- включить командо-аппарат 418 МВ в положение «Малая скорость МВ» - звоним исправность силовой цепи МВ секции №2.
Выход из положения 1:
(При наличии КЗ в межсекционном кабеле)
- изъять вставку 216-1 в ВВК 1;
- отнять кабель 208-2 от клеммы 4 в ВВК-2 на панели, (расположенной в среднем коридоре справа, где расположена шинка 223-2);
- шинку 223-2 переставить в вертикальное (1 - 3);
- в ВВК 2 установить в свободное гнездо 30А вставку 209-2;
- в кабине управления включить командо-аппарат 418 в положение «Высокая скорость МВ»;
- каждая секция МВ работает от своего БВ.

Рис. 148 Расположение вставок вспомогательных машин и шинки 223-2 при запуске МВ секции №2 от БВ2

Рис. 149 Вставки ВВК секции № / при наличии КЗ в кабеле 228-2
Выход из положения 2:
(При наличии КЗ в межсекционном кабеле 228-2):
- изъять вставку 216-1 в ВВК1 (рис.149):
- включить командо-аппарат 418 MB на «Высокую скорость»;
- «Низкую скорость MB» - не включать;
- переключателем 312 отключить секцию №2; Выход из положения 3:
(При наличии КЗ в демпферных сопротивлениях 213 МВ любой секции):
- в релейном шкафу неисправной секции РВ 422
|
Е5 |
РВ 422 расклинить в отключенном положении |
|
Е6-Е9 |
РВ 422 изъять |
- на переключателе 200 от КЭ клеммы 9 отнять кабель 210 и отвести в сторону;
- на переключателе 200 соединить перемычкой КЭ 5-9 (т.е. кабель 208 и место отнятого кабеля 210);
включить командо-аппарат 418 МВ на «Малую скорость».

Рис.150 Выход при наличии КЗ в демпферных сопротивлениях МВ
Выход из положения 4:
(При наличии КЗ в МВ секции №1)
проверить исправность ЗОА вставки 209-1, при необходимости, заменить;
переключателем 200-1 (поочередным отключением) исключить из схемы МВ с КЗ; - отключить пару ТЭД, охлаждение которых зависит от
отключенного МВ;
|
Сторона кабины№1 |
МВ№ 1 |
• МВ№2 |
|
1 - 2 ТЭД |
3 - 4 ТЭД |
- в релейном шкафу секции №1 изъять реле неработающего ГТУ или расклинить реле во включенном положении
|
ГТУ 1 |
реле 512 |
|
ГТУ 2 |
реле 513 |
Выход из положения 5: (при наличии КЗ в МВ секции №2)
проверить исправность ЗОА вставки 209-1, при
необходимости, заменить;
переключателем 200-2 (поочередным отключением)
исключить из схемы МВ с КЗ;
- отключить пару ТЭД, охлаждение которых зависит от отключенного МВ;
|
МВ№4 |
МВ№3 |
Сторона кабины№2 |
|
7-8 ТЭД |
5-6 ТЭД |
- в релейном шкафу секции №2 изъять реле неработающего ГТУ или расклинить реле во включенном положении
|
ГТУ 1 |
реле 512 |
|
ГТУ 2 |
реле 513 |
Выход из положения 6.
- если при отключении переключателем 200 устранить цепь с КЗ не удалось, необходимо перейти на работу МВ одной секции:
Выход из положения 6-1:
(Для исключения из работы МВ секции №2):
- в секции №1 изъять 30 А вставку 216-1;
- в релейном шкафу секции №2 реле 512-2-и 513-2
|
Е5 |
расклинить во включенном положении (рис.15], а) |
|
Е6-Е9 |
изъять (рис.151, б) |
- изъять нож обогрева машинного отделения 226 - 1;
- включить командо-аппарат 418 МВ на «Высокую скорость»;
- переключателем 312 установить положение «Авария секции №2»;
- при управлении локомотивом с кабины №1, необходимо на ПБК 330 ведущей секции соединить перемычкой клеммы
58 - 74.

Рис.151 Реле серии Е5 (а) и Е6 - Е9 (б)
Выход из положения 6-2:
(Для исключения из работы МВ секции №1): В секции №1:
- в ВВК-1 изъять ЗОА вставки 209-1 и 216-1;
- в релейном шкафу секции №1 реле 512-1 и 513-1
|
Е5 |
расклинить во включенном положении (рис.151, а) |
|
Е6-Е9 |
изъять (рис.151, б) |
В секции №2:
- переставить шинку 223-2:
|
с горизонтального положения |
1-2 |
|
в вертикальное положение |
1-3 |
- установить 30А вставку в свободное гнездо вставки 209-2;
- включить командо-аппарат 418 МВ на «Высокую скорость»;
- переключателем 312 установить положение «Авария секции №1»;

Рисі52 Расположение вставок вспомогательных машин секции №2

Рис. 153 Расположение шинки 223-2 при запуске МВ секции №2 от БВ2
Выход из положения 7: (При повреждении ПШ 2101)
- изъять ЗОА вставку 2161 (рис.149);
- отнять от ПШ 2101 кабели (рис.154):
- от клеммы 04 (справа ближний) кабель 225 Г;
- от клеммы 01 (справа дальний) кабель 2241;
- соединить вместе на один болт отнятые кабели 2251 - 2241 и заизолировать;
- включить в работу МВ на низкую скорость;
- при включении МВ на высокую скорость произойдёт отключение БВ1 по блинкеру 201 в секции №1 от небаланса тока;

Рис. 154 Выход при повреждении переключателя МВ 210-1 (ПШ)
Не работает МК 1 или МК 2 при работающих МВ •
Проверить:
- включение контакторов 203 и 204 (МК) от кнопок командо-аппарата 404 и 405 на слух и визуально (через защитные сетки ВВК);
- исправность 25А вставки 202;
- включение реле 402;
Не включаются контактора МК 203 и 204 в обеих секциях
Причины:
- неисправна цепь реле 402;
- неисправное реле 402;
- неисправное реле РД 410; Выход из положения 1:
- перейти на ручное управление МК от командо-аппарата 404 и 405;
Выход из положения 2:
- на ЦКР соединить перемычками провода:
|
в секции №1 |
5210-4741 |
|
в секции №2 |
5200-4742 |
• серии Е5 - подклинить РВ 414 во включенном положении;
• серии Еб - Е9- изъять реле РВ 414;
- работой МК управлять вручную командо-аппаратом 528 «Вспомогательного компрессора» положением 4 (в работе вспомогательный компрессоры обеих секций);
- в работу включается только 1-я ступень обеих МК;
- удерживать давление воздуха в ГР 8,0 9,0 кгс/см2;
Выход из положения 3:
в ведущей секции необходимо:
- соединить перемычками шунты контакторов:
|
203 |
-220 |
|
204 |
-221 |
- 10А вставку 219 «Печей» изъять и заменить её на 25А;
- работой МК управлять из кабины управления командо-аппаратом 437 «Печи» положением 3 и сделав выдержку до 3 сек включить командо-аппарат437 в положение 4;
- в работе МК только ведущей секции;
201

Рис.155 Управление работой МК от контакторов «Печей»
Не включаются контактора МК 203 и 204 в одной из секций
Причины:
- неисправное реле 402, РД 410;
- неисправна цепь реле времени РВ 414 или неисправно само реле времени РВ 414;
- механическое заедание контактора 203 на включение по причине:
• большого воздушного зазора между якорем контактора и магнитопроводом;
• наличия перекоса рычага подвижного контакта контактора;
- отсутствует контакт в блок-контакте контактора 203 в проводах 470 - 473;
- отсутствует контакт в блок-контакте теплового реле 208 в проводах:___
|
секция №1 |
4650-4701 |
|
секция №2 |
4680 - 4702 |
Выход из положения 1:
- на ЦКР соединить перемычкой провода:
|
секция №1 |
4650-4741 |
|
секция №2 |
4680 - 4742 |
- РВ 414 МК в неисправной секции:
|
Е5 |
подклинить во включенном положении |
|
Е6-Е9 |
изъять |
- работой МК управлять вручную командо-аппаратом 404 и 405 (МК);
- в работу включается только 1 -я ступень обеих МК;
- удерживать давление воздуха в ГР 8,0 9,0 кгс/см2;
Выход из положения 2:(только при условии отсутствия пересоединений жокс ХР для управления ПБК задней секции)
- на ЦКР обеих секций соединить перемычкой провода:
|
Е5-Е7 |
секция №1 |
секция №2 |
|
3070-4741 |
3070-4742 |
|
|
3080-4721 |
3080-4722 |
|
|
Е9 |
секция №1 |
секция №2 |
|
3070-4741 |
3070-4742 |
|
|
3080-4720 |
3080 - 2460 |
|
- РВ 414 МК в неисправной секции:
|
Е5 |
подклинить во включенном положении |
|
Е6-Е9 |
изъять |
- в кабине управления включить один командо-аппарат 404 или 405 исправного МК;
Возможные ошибки:
- включен в работу командо-аппарат 404 или 405 неисправного МК;
- на ЦКР перемычки установлены на провода:
|
3071 |
вместо |
3070 |
|
3081 |
вместо |
3080 |
при этом:
- МК будет работать на 1-й ступени после включения БВ без включения командо-аппарата 404 или 405 МК и не отключаться.
Выход из положения 3: (МКот контакторов МВ)
Выполнить работы обязательно в обеих секциях: Секция №1:
- ПШ 210-1 развернуть в положение «Высокой скорости»;
- изъять 30А вставку 209-1 МВ (обязательно);
- изъять 30А вставку 216-1 МВ (обязательно);
- заменить 25 А вставку 202-1 МК на 30А;
- отнять провода от обеих вентилей ПШ 210-1 (обязательно), отвести их в сторону и заизолировать (во избежание разворота ПШ 210-1 под током при случайном включении командо-аппарат 418 в положение «Низкой скорости МВ»);
- соединить перемычкой:
верх контактора 204-1 (мк) шунт контактора 212-1 (мв)
- соединить перемычкой:
верх контактора 211-1 (мв) шунт контактора 204-1 (мк)

Рис.156 Запуск мк от контакторов мв (работы выполняемые в секции №1)
Секция №2:
- заменить 25А вставку 202-2 МК-2 на 30А;
- соединить перемычкой:
верх контактора 204-2 (МК) шунт контактора 212-2 (МВ)
- соединить перемычкой:
верх контактора 211-2 (МВ)_
шунт контактора 204-2(МК) _
В кабине управления ведущей секции:
- командо-аппарат 404 и 405 МК не включать;
- работой МК управлять включением командо-аппарата 418 МВ положением «Высокая скорость».

Рис.157 Запуск МК от контакторов МВ (работы выполняемые в секции №2)
Не включается контактор 701 отопления поезда
Необходимо в секции №2:
- установить нож 703-2 (Е9 - 705-2) во врубы, расположенные за счетчиком тягового режима секции №2;
- включить в работу контактор 701 ведущей секции.

Рис.158 Расположение клемм и ножа 7032 (7052) во врубах зажимов
ПРОЗВОНКА СИЛОВЫХ ЦЕПЕЙ НА КЗ
Прозвонка крышевого оборудования на КЗ высоким напряжением

Рис.159 Схема соединений крышевого оборудования
Необходимо:
- опустить токоприемники;
273
- отключить межсекционный разъединитель 013-1;
- поднять передний токоприемник;
(БВ при этом должно быть обязательно отключено); если при этом:
- напряжение в контактной сети снимается - КЗ в крышевом оборудовании ведущей секции;
- напряжение в контактной сети имеется (контролировать по килловольтметру (к¥) ведущей кабины) - КЗ в крышевом оборудовании задней секции.
Выход из положения:
На неисправной секции:
- перекрыть краник токоприемника 1014;
- перекрыть краник 1017 включения БВ;
- отключить межсекционный разъединитель 013-Гв секции №1;
- переключатель 018-2 перевести в нижнее положение;
- закрыть сетки ВВК;
- при опущенном токоприемнике несколько раз включить и отключить БВ, чтобы БВ неисправной секции было отключено;
- поднять токоприемник исправной секции и включить одно БВ;
- следовать на «С-СП» соединении с ОП.

Рис.160 Межсекционный разъединитель 013-1
Если КЗ в крышевом оборудовании ведущей секции, то напряжение в контактной сети контролировать по килловольтметру задней секции.
При следовании поезда на позициях происходит с отключение БВ по блинкеру 808 и отсутствует напряжение в контактной сети
Необходимо:
- убедиться в наличии или отсутствии напряжения в контактной сети по килловольтметру (кУ) в обеих кабинах электровоза. Отсутствие напряжения по киловольтметру в одной из кабин указывает, что в ВВК неисправной секции повреждена 2А вставка 110;
необходимо:
- в ВВК неисправной секции сменить на исправную 2А вставку ПО;
- поднять токоприёмник.
Если при этом вставка ПО вновь повреждается, смотри выход из положения.
Выход из положения:
- вставку ПО не менять;
- подклинить якорь №1 (правый) реле 112 во включенном положении;
- восстановить блинкерный сигнализатор 808;

Рис.161 Реле 112
Отключается БВ сразу же после его включения со снятием напряжения в контактной сети
БВ секции №1:
- произвести осмотр БВ1, ДР 2011, переключатель 200-1, переключатель 0182, РП7001, ДР0151, контактор отопления поезда 7011, изоляторы вставок ВВК 0111, 2021, 2091, 2161, 2191, линейные контакторы 0291 и 0401;
- соблюдая требования техники безопасности снаружи произвести осмотр межсекционных соединений в момент включения БВ при поднятом токоприёмнике.
БВ секции №2:
- произвести осмотр БВ2, ДР 2012, переключатель 200-2, переключатель 0182, РП7002, ДР0152, контактор отопления поезда 7012, изоляторы вставок ВВК 0112, 2022, 2092, 2192, линейные контакторы 0572 и 0592;
- соблюдая требования техники безопасности снаружи произвести осмотр межсекционных соединений 2242 в момент включения БВ при поднятом токоприёмнике.
Внимание!
Если при включении БВ происходит снятие напряжения в контактной сети и возгорание счётчика отопления поезда 813 (электровоз серии Е9), значит произошло соединение зажимов вставок ВВК 011 и 707 по причине неисправности фиксатора одной из вставки той секции, где произошло возгорание счётчика 813.
Прозвонка низким напряжением
Необходимо:
- проверить положение ПБК 330 на «0» позиции;
- второй конец прозвоночной лампы закрепить на верх вставки 011 (опломбирована);
- плюс (+) на прозвоночную лампу взять от блокировки РБ 067, 068 или блокировки тормозного переключателя (ТП) - провод 991;
А) - прозвоночная лампа горит - имеется глухое КЗ в силовой цепи
после БВ в проверяемой секции. Необходимо:
1. 200 переключатель перевести в положение «ВЭ».
Потухание прозвоночной лампы укажет на наличие КЗ в цепи вспомогательных машин до контакторов. Если прозвоночная лампа продолжает гореть,
необходимо:
- 200 переключатель вернуть в положение «НЭ».
2. От - РП 700 (слева) отнять шину в секции №1 - 0881 ;
в секции №2 - 0862; Потухание прозвоночной лампы укажет на наличие КЗ в цепи контактора 701 - (отопления поезда).
Если прозвоночная лампа продолжает гореть, необходимо шину от РП 700 установить на место.
3. Осмотреть состояние:
• при КЗ в секция №1 - БВ1, ДР 2011, переключатель 200-1, переключатель 0182, РП7001, ДР0151, контактор отопления поезда 7011, изоляторы вставок ВВК 0111, 2021, 2091, 2161, 2191, линейные контакторы 0291 и 0401;
• при КЗ в секция №2 - БВ2, ДР 2012, переключатель 200-2, переключатель 0182, РП7002, ДР0152, контактор отопления поезда 7012, изоляторы вставок ВВК 0112, 2022, 2092, 2192, линейные контакторы 0572 и 0592.
Выход из положения 1 : (При наличии КЗ в цепи вспомогательных машин до контакторов в секции Ml)
- ПШ 210-1 перевести в положение «Высокой скорости»;
- переключатель 200-1 перевести в положение «НЭ»;
- на переключателе 200-1 от клеммы 3 отнять кабель 200-1;
- изъять исправную вставку 216-1 и переставить её в свободное гнездо 209-2 в секции №2;
- шинку 223-2 переставить:
|
из горизонтального положения |
1-2 |
|
в вертикальное положение |
1 -3 |
- реле 512 и 513 в секции № 1 :
|
Е5 |
включить принудительно |
|
Е6-Е9 |
изъять |
- изъять диод 424-1;
- в работе только МК-2;
- переключателем 312 отключить секцию №1.
Выход из положения 2: (При наличии КЗ в цепи вспомогательных машин до контакторов в секции №2)
- переключатель 200-2 перевести в положение «НЭ»;
- на переключателе 200-2 от клеммы 3 отнять кабель 200-2 и
отвести в сторону (рис.43); - реле 512 и 513 в секции №2:
|
Е5 ~^ |
включить принудительно |
|
Е6-Е9 |
изъять |
- изъять диод 424-2;
- в работе находится только МК-1;
- переключателем 312 отключить секцию №1; Выход из положения 3:
(При наличии КЗ в цепи контактора 701-1)
- для работы отопления поезда задней секции необходимо отнять шину 087-1 от шунта счетчика отопления поезда и заизолировать;
- вставить нож во врубы 703-2 (серии Е9 705-2) в ВВК-2 (расположен за счетчиком тягового режима - внизу);
- включить контактор 701 ведущей секции.

Рис.162 Выход при наличии КЗ в цепи контактора 701
Выход из положения 4:
(При наличии КЗ в цепи контактора 701-2)
- для работы отопления поезда задней секции необходимо отнять шину 079-2 от шунта счетчика, отопления поезда и заизолировать;
- вставить нож во врубы 703-2 (серии Е9 705-2) в ВВК-2 (расположенные за счетчиком тяговогорежима - внизу);
- включить контактор 701 ведущей секции. Выход из положения 5: (При повреждении ДР 201)
- отнять от ДР 201 клеммы «А1» кабель 2001(2);
- отнять от ДР 201 клеммы «А2» кабель 2011(2);
- отнятые кабели 2001(2) - 2011(2) соединить вместе помимо ДР 201 и заизолировать;
- расклинить якорь ДР 201 в отключенном положении;
- силовые цепи вспомогательных машин и обогрева кабины машиниста находятся под защитой высоковольтных вставок.
Выход из положения 6: (При повреждении ДР 0151)
- перекрыть краник 1017/1 включения БВ1;
- переключателем 312 отключить секцию №1;
- контактор 400-1 включить принудительно;
- переключатель 200-1 установить в положение «ВЭ»;
- силовые цепи вспомогательных машин находятся под защитой собственной вставки;
Выход из положения 7: (При повреждении ДР 0152)
- перекрыть краник 1017/2 включения БВ2;
- переключателем 312 отключить секцию №2;
- контактор 400-2 включить принудительно;
- переключатель 200-2 установить в положение «ВЭ»;
- силовые цепи вспомогательных машин находятся под защитой собственной вставки;
Выход из положения 8: (При повреждении ЛК)
- исключить их со схемы (см. раздел «Повреждение ЛК»).
Отключая ТЭД со схемы, ЛК отключаются и переключаются в работу по другой программе. _________Таблица 17
|
Отключая од |
Отключенные ЛК |
Переключаются |
||
|
По другой программе |
ЛК |
по КЭ ПБК |
||
|
ОД 1-2 |
30- 1 |
переключаются |
29-1 |
49-50 |
|
31 - 1 |
59- 1 |
51-52 |
||
|
41 - 1 |
||||
|
58-1 |
||||
|
ОДЗ-4 |
30-1 |
переключаются |
30- 1 |
49-50 1 |
|
40- 1 |
57-1 |
51-52 |
||
|
41 - 1 |
||||
|
58-1 |
||||
|
59- 1 |
||||
Продолжение таблицы 17
|
Отключая ОД |
Отключенные ЛК |
Переключаются |
||
|
' По другой программе |
ЛК |
по КЭ ПБК |
||
|
ОД5-6 |
30-2 |
переключаются |
30-2 |
49-50 |
|
40-2 |
57-2 |
51 -52 |
||
|
41-2 |
||||
|
58-2 |
||||
|
59-2 |
||||
|
ОД7-8 |
31-2 |
переключаются |
59-2 |
51-52 |
|
41-2 |
||||
|
57-2 |
||||
|
58-2 |
||||
Таблица 18
|
Положение |
Отключаются ЛК |
Переключаются ЛК |
КЭ ПБК |
|
60- 1 |
59-1 |
29-30 |
|
|
Разгон СП |
60-2 |
59-2 |
29-30 |
|
29-2 |
29-30 |
||
|
29- 1 |
|||
|
40- 1 |
|||
|
Авария |
57-1 |
29-2 |
29-30 |
|
секции №1 |
59-1 |
59-2 |
29-30 |
|
60-1 |
|||
|
60-2 |
|||
|
29-2 |
|||
|
40-2 |
|||
|
Авария |
57-2 |
59-1 |
29-30 |
|
секции №2 |
59-2 |
||
|
60-1 |
|||
|
60 -2 |
Назначение блинкерных реле
Таблица 19
|
№№ |
Назначение |
|
015 |
ДР 015 - при КЗ в силовых цепях |
Продолжение таблицы 19
|
№№ |
Назначение, |
|
025 1 . |
РП цепи ТЭД и теплового реле 208 МК. При не восстановлении блинкерных реле необходимо восстановить тепловое реле 208 МК (серии Е5) |
|
Г 026 1 |
РП цепи ТЭД и теплового реле 217 МВ. При не восстановлении блинкерных реле необходимо вначале восстановить тепловое реле 217 МВ (серии Е5) |
|
025 026 |
РП цепи ТЭД (серии Е6 - Е9) |
|
112 |
Реле напряжения 112: - якорь №2 - включается при напряжении в контактной сети свыше 3800 В, отключая при этом контактор 400 |
|
201 |
ДР 201 - при КЗ в силовых цепях вспомогательных машин |
|
208 217 |
Контроля работы тепловых реле: - теплового реле 208 МК; - теплового реле 217 МВ; Для восстановления блинкерных реле необходимо вначале восстановить тепловые реле (электровозов серии Е6 - Е9) |
|
361 |
РВ 361 реле - «Жалюзей». При отсутствии замыкания блокировки концевого выключателя пневматического привода «Жалюзей» в период нахождения ПБК на реостатных позициях. РБ 067 - 068: - якорь №2 - включается при разности потенциалов на зажимах катушки РБ - 900В, отключая при этом контактор 479 |
|
700 |
1. РП 700 - цепи отопления поезда при токе 500А |
|
2. При следовании на «С» соединении, в случае возникновения неисправности в секции №2 |
|
|
3. При следовании на одном БВ с включённым аварийным ножом 0182 и срабатывании блинкерного реле 700 на одной из секций. В этом случае: Для восстановления блинкерных реле обеих секций необходимо в ведущей секции отключить АЗВ 810, а в ведомой (задней) секции нажать на кнопку 836. По возвращении в ведущую секцию включить АЗВ 810 |
Продолжение таблицы 19
|
№№ |
Назначение |
|
808 |
Контролирует напряжение в контактной сети. При напряжении менее 2200В якорь №1 (правый) реле 112 отключается реле 808, отключая при этом контактор 400 |
|
Т |
Контролирует работу силовых цепей в режиме ЭДТ |
|
843 844 |
Контролирует: - перегрев пуско-тормозных резисторов цепи ТЭД; неисправность двигателей мотор-вентиляторов (крышевых вентиляторов) охлаждения пуско-тормозных резисторов цепи ТЭД |
При невозможности восстановления блинкерных реле,
необходимо:
- проверить на отсутствия залипания реле, которое включило блинкерный сигнализатор.
При невозможности восстановления блинкерных реле одновременно 067 - 068 и 843 - 844 (серии Е6-Е9), необходимо:
- проверить включенное положение АЗВ 476;
- проверить наличие питания на проводе 649 на PB.
При невозможности восстановления блинкерных реле 843 844, необходимо:
- подклинить блинкерный сигнализатор на табло 802 в отключенном положении.
Для защиты всех силовых цепей от токов КЗ и перегрузки при следовании на одном БВ с включённым аварийным ножом 0182, необходимо на ЦКР неисправной секции установить перемыку:
|
в секции №1 |
5660 - 6460 |
|
в секции №2 |
5660-6480 |

Рис. 163 Промежуточный контроллер ПБК 330
ПБК 330 Монтаж клемм и проводов ПБК 330 левая сторона (сторона В В К) электровозов серии Е6 — Е.9




Монтаж клемм и проводов ПБК 330 - правая сторона (сторона МБ) электровозов серии Е5

Монтаж клемм и проводов ПБК 330 - задняя панель

НЕИСІТРАВНОСТИ ПРОМЕЖУТОЧНОГО КОНТРОЛЛЕРА ПБК
При неисправности вентиля В1 или В2 отсутствует возможность набора-сброса ПБК, необходимо: осмотреть провода вентилей В1 и В2 ПБК - при необходимости, восстановить;
путем набора-сброса позиций КМЭ 305 определить неисправный вентиль и заменить его исправным с ПБК задней секции; до замены неисправного вентиля - ПБК 330 управлять вручную. Обрыв в диоде Д1
при постановке КМЭ 305 в положение ПБК идет на набор на четную позицию без остановки на нечетной позиции;
в положении КМЭ ПБК идет на сброс на одну позицию и сразу же идет на набор на четную позицию.
Выход из положения:
• набор позиций производить с учётом того, что набор осуществляется по две позиции ГТБК 330 без остановки на нечетных позициях;
• сброс позиций производить:
- от КМЭ 305 положением «-»;
- или кнопкой 327 «СП-С». Обрыв в диоде Д2
- при постановке КМЭ 305 в положение - ПБК идет на набор на 1-ю позицию и сразу же на сброс (т.е. звонком);
- кнопка 326 «Маневрового набора» - набор позиций невозможен;
- при постановке КМЭ в положение «-1» сброс позиций ПБК происходит без остановки на нечетных позициях, а останавливается на четных позициях;
- в положении «-» КМЭ 305 сброс происходит нормально, но остановить ПБК 330 возможно только на четной позиции.
Выход из положения:
■ набор позиций КМЭ 305 произюдить положением «+» с учётом возможности ПБК 330 останавливаться только на четных позициях;
• сброс позиций ПБК 330 производить:
- от КМЭ 305 положением «-» или кнопка 327 «СП-С». Обрыв в диодах Д1 и Д2
• набор позиций КМЭ 305 возможен только в положении «+»;
• сброс позиций КМЭ 305 положением «-1» только с остановкой на четных позициях;
• положением «-» или кнопка 327 «СП-С» сброс ПБК 330 будет как при нормальных условиях, но остановить ПБК 330 возможно только на четных позициях.
Диод Д1 - пробит
- отсутствует возможность набора ПБК 330 от КМЭ 305, т.к. оба вентиля В1 и В2 становятся под питание одновременно;
- если пробой диода Д1 произошел на позициях ПБК 330 -будет возможность набора-сброса не более одной позиции.
Выход из положения:
• изъять диод Д1 с обратной стороны ПБК 330;
• набор позиций производить КМЭ 305 положением «+1» или «+»;
• сброс позиций производить:
- КМЭ 305 положением «-» или кнопка 327 «СП-С». Диод Д2 - пробит
- существует возможность набора только 1 -й позиции, датее набора нет;
- если пробой диода Д2 произошел на позициях ПБК - существует возможность набора-сброса только одной позиции и не более.
Выход из положения:
• изъять диод Д2 с обратной стороны ПЕК 330;
• набор позиций производить КМЭ 305 положением «+»;
• сброс позиций ПБК производить КМЭ 305 положением «-» или кнопка 327 «СП-С».
При нажатии кнопка 327 и нахождении ПБК 330 на «СП-П» соединении - идет сброс ПБК 330 до «0» позиции
- пробит диод 317. Выход из положения:
• кратковременно отключить и вновь включить ВУ 301 или АЗВ 300;
• кнопкой 327 сброс «СП-С» не пользоваться.
Отсутствует возможность набора позиций КМЭ 305 положением «+1» и «+» Выход из положения:
В ведущей'секции на ЦКР соединить перемычкой проводафри управлении:
|
с кабины №1 |
3021 -3111 |
|
с кабины №2 |
3022-3112 |
- набор позиций осуществляется КМЭ 305 положением
или «+», при этом набор позиций ПБК 330 происходит без остановки на ходовых позициях;
- сброс позиций осуществлять КМЭ 305 положением
или «-», при этом сброс позиций ПБК 330 происходит без остановки до «0» позиции;
- при наборе позиций учитывать неисправность схемы, особенно при подъезде к составу.
Отсутствует набор позиций КМЭ 305 положением и «+»
В ведущей секции:
- снять нижнюю крышку реле 320 - 321 - 322;
-соединить нижние клеммы «В» и «8», соединив тем самым провода 807 - 804 (на 8 клемме провод 807 должен быть «+» при включённом АЗВ 300 - прозвонить);
- набор позиций осуществляется КМЭ 305 положением «+1» или «+», при этом ПБК 330 идёт на набор без остановки на позициях;
- при наборе позиций учитывать неисправность схемы, особенно при подъезде к составу;
- сброс позиций осуществлять КМЭ 305 положением «-1».
Сброс осуществляется без остановки ПБК до «О» позиции.

Рис. 164 Монтаж клемм и проводов реле 320 -321 - 322
Заклинивание привода барабана ПБК 330 ведущей секции Выход из положения 1:
- рассоединить муфту привода и барабана ПБК 330:
- управлять работой ПБК вручную при помощи рукоятки привода барабана аварийного режима;
Выход из положения 2:
- разъединить жексы на ПБК 330 (сзади):
|
ХС1 |
питания РК |
|
ХС2 |
питания ЛК |
|
ХС6 |
питания вентилей жалюзей и РВ 361 |
После этого, необходимо: Серии Е5
- в задней секции разблокировать пульт и включить ВУ 301;
- в задней секции в релейном шкафу включить принудительно контактора 333;
- на ЦКР задней секции соединить перемычками провода:
|
Ведомая секция №1 |
^_ 5500-8031 |
для набора позиций |
|
7471 -8011 |
для сброса позиций |
|
|
Ведомая секция №2 |
5500 - 8032 |
для набора позиций |
|
6852-8012 |
для сброса позиций |
|
|
- управлять работой ПБК 330 задней секции из ведущей кабины: |
||
|
набор позиций |
кнопка 796 |
догружения осевых сил |
|
сброс позиций |
кнопка 390 |
отпуска тормозов |
При этом:
|
цепи реле набора 320 |
защищает АЗВ 300 |
|
цепи реле сброса 321 |
защищает АЗВ 340 |
|
цепи питания ЛК, РК, ОП |
защищает АЗВ 324 |
|
цепи «жалюзей» в автоматическом режиме |
защищает АЗВ 810 |
Серии Ев - Е9
- в задней секции в шкафу промежуточного коридора (под АЗВ) включить принудительно контактора 333;
- на ЦКР задней секции соединить перемычками провода:
|
Ведомая секция №1 |
5500-8031 |
для набора позиций |
|
7471 -8011 |
для сброса позиций |
|
|
Ведомая секция №2 |
5500 - 8032 |
для набора позиций |
|
6852 - 8012 |
для сброса позиций |
|
|
- управлять работой ПБК 330 задней секции из ведущей кабины |
||
|
набор позиций |
кнопка 796 |
догружения осевых сил |
|
сброс позиций |
кнопка 390 |
отпуска тормозов |
При этом:
|
цепи реле набора 320 |
защищает АЗВ 300 |
|
цепи реле сброса 321 |
защищает АЗВ 340 |
|
цепи питания ЛК, РК, ОП |
защищает АЗВ 324 |
цепи «жалюзеи» в автоматическом режиме_____
защищает АЗВ 810
КЗ В ЦЕПЯХ УПРАВЛЕНИЯ
АЗВ 300 - 6А защищает цепи:
- контактора 4001 и 4002;
- реле 319 - сброса от кнопки 327 - «СП - С»;
- реле 320 - набора;
- реле 321 - сброса;
- реле 322 - шаговое;
- реле 3233 - 3241 и 3232 - 3242 - «0» тока;
- реле 387 - перехода ПБК 330 с «С - СП - П» соединение (Е9);
- реле 3951 и 3952-ЭДТ;
- реле 4571 и 4572 - контроля ПБК на «0» позиции;
- реле 458-2 - сброса ЭДТ;
- венилей «В1» и «В2» - ПБК ведущей секции;
- венилей ТП 0711 - 0721 и ТП 0712 - 0722;
- вениля «Т» электровоздухораспределителей (ЭВР) 9302 - от рукоятки управления ЭДТ 358;
- венилей 7971 - 7981 и 7972 - 7982 - догружения осевых сил;
- электромагнитной защелки 3041 и 3042; Признаки отключения АЗВ 300:
- Останавливаются все вспомогательные машины из-за отключения контактора 400 обеих секций.
- При нахождении ПБК 330 на позициях отключатся оба БВ без выпадания блинкеров по причине отключения контакторов 400 обеих секций.
- Вентили ПБК 330 обесточиваются, и нет возможности произвести набор-сброс позиций ПБК 330.
- При постановке реверсивной рукоятки в «0» положение нет возможности перевести её в положение «Вперед-Назад», т.к. обесточено реле «0» тока 323-324.
- При отключении БВ - повторно оно не включается, т.к. обесточено реле «0» тока 323-324.
Выход из положения 1:
- произвести сброс ПБК 330 вручную на «0» позицию (перекрыв краник 1019);
- контактор 4001 и 4002 включить принудительно;
- контактор 333 включить вручную нажатием на щеки контактора и отпустить, он должен остаться во включенном положении;
- включить БВ (на «О» позиции ПБКЗЗО) с пульта управления в кабине;
- защелкой 304 управлять вручную, для перевода реверсивной рукоятки в положение «Вперед» или «Назад»;
- ПБК 330 управлять вручную (перекрыв краник 1019);
- 312 переключатель установить в положение «Разгон СП» - для облегчения работы помощника машиниста при вращении ПБК.

Рис.165 Привод ПБК 330 Выход из положения 2:
(Для управления ПБК 330 задней секции с ведущей кабины) на ПБК ведомой (задней) секции:
- на задней панели ПБК от клемм 11-13 отнять провод 3061(2) с маркировкой ХС4:6;
- от клеммы 38 отнять провод 3680 с маркировкой ХС2:15;
- от клеммы 61 отнять провод 8071(2) с маркировкой ХС2:5; на ЦКР ведомой (задней) секции соединить перемычками провода:
Если:
Если:
|
секция №1 (ведомая) |
3001-3021 |
|
5500-8031 |
|
|
_ 7470-8011 |
|
|
секция №2 (ведомая) |
3002 - 3022 |
|
5500-8032 |
|
|
6850-8012 |
|
в ведомой (задней) секции:
- включить АЗВ 300;
- включить принудительно контактор 333; кроме того:
- в релейном шкафу обеих секций реле 425:
|
Е5 |
расклинить в отключенном положении |
|
Е6-Е9 |
изъять |
Е5-Е6
- в релейном шкафу соединить перемычками:
- верх предохранителя 516 и верхние клеммы (1,3,5) контактора 333; Е5-Е7
- в кабине ведущей секции от кнопки 796 (догружения осевых сил) отнять провод ЗОЮ и заизолировать;
- перемычкой соединить:
|
место отнятого провода |
кнопки 796 отпуска тормозов |
|
провод 6641(2) |
кнопки 390 отпуска тормозов |
Е9 - в ведущей сеюдаи включить вручную контактор 333 нажатием на щеки контактора и отпустить, он должен остаться во включенном положении;
- управлять работой ПБК 330 ведомой секции:
|
набор позиций |
кнопка 796 ! догружения осевых сил |
|
|
сброс позиций |
кнопка 390 |
отпуска тормозов |
- при нажатой кнопке остановка ПБК возможна только:
|
при наборе позиций |
на «0» позиции |
|
при сбросе позиций |
на «56» позиции |
- при подъезде к составу, взятии поезда с места и ведении поезда - учитывать особенности набора — сброса позиций;
АЗВ 302 (324) - 10А защищает цепи:
- всех линейных контакторов, контактора хода 333, контактора 099 (зарядки А.Б. в режиме ЭДТ), реле 334 - 335 (цепи ЛК в режиме ЭДТ), реле 341 - 342 (ЭДТ), реле времени 361 (Жалюзей), реле «Ф», реле 425 (на 40 позиции, если неш отключится ЛК 31), вентиль реверсора 075, вентили 380 - 381 (Жалюзей), лампочки на табло сигнализации 828 (Жалюзей), лампочки 855 (контактора 333), лампочки 870 (проверки ЭДТ).
Признаки:
- отключается контактор 333, тухнет лампочка 855 включения
контактора 333, обесточиваются все контактора:
- линейные, реостатные, ослабления поля;
- при наборе позиций КМЭ - электровоз не в тяге, а через беек отключит БВ по блинкеру 067 - 068 (361);
- при постановке реверсивной рукоятки в положение «Вперед -Назад» реверсора не разворачиваются;
Необходимо:
- произвести сброс ПБК 330 на «0» позицию, включить АЗВ 302 (324), определиться, когда отключает АЗВ 302 (324):
- до постановки ПБК 330 на позиции;
- после набора позиций.
Отключает АЗВ 302 (324) до постановки ПБК 330 на позиции
Выход из положения:
- АЗВ 324 (302) не включать;
- отключить оба тумблера УКБМ;
- РВ 361 обеих секций: _
|
Е5 |
включить принудительно |
|
Е6-Е9 |
изъять |
- контактор 333 включить принудительно;
- реверсора при необходимости разворачивать вручную путай нажатия на грибок вентиля реверсора в обеих секциях,
при этом:
|
реверсор ведущей секции |
замкнуты силовые контакты верхнего вруба |
|
реверсор ведомой секции |
замкнуты силовые контакты нижнего вруба |

Рис.]65 Устранение КЗ в цепи АЗВ 302 (324) до набора позиций ПБК
- от клеммы 51 ПБК 330 отнять.провод 360 с маркировкой ХС2:1;
- на ПБК 330 соединить перемычкой клеммы:
294
Таблица 20
|
Серия электровоза |
Клеммы ПБК |
Защита цепей |
|
Е5 |
51 -77 (79) |
АЗВ 508 |
|
Е6-Е9 |
51-77 (79) |
АЗВ 431 (АЗВ 508) |
- цепи ЛК, РК, ОП находятся под зашитой АЗВ (соответствующих записи в таблице 19).
Отключает АЗВ 302 (324) при наборе позиций
Выход из положения:
- включить АЗВ 302;
- установить реверсивную рукоятку в положение «Вперед»;
- снять левый кожух ПБК 330;
- прозвоночную лампу на 60 ВТ (большая) закрепить:
|
одним концом |
на одной из нечетных клемм ПБК 31-51 |
|
другим концом |
на корпус |
- прозвоночная лампа должна гореть. Если прозвоночная лампа не горит, необходимо убедиться, что:
- включен АЗВ 302 (324);
- реверсивная рукоятка установлена в положение «Вперёд»;
- включён контактор 333;
после этого, для прозвоню* цепи, необходимо:
- прозвоночную лампу закрепить:
|
одним концом |
на одной из нечетных клемм ПБК 31-51 |
|
другим концом |
поочередно касаться четных клемм ПБК с 30 по 52 |
- яркое загорание прозвоночной лампы на одной из клемм укажет на провод, в цепи которого имеется КЗ;
- провод с КЗ от клеммы отнять и отвести в сторону;
Рис.166 Клеммы ПЕК питания цепей ЛК
Выход из положения:
При отсоединении провода от клеммы ПБК 330, необходимо: ______Таблица 21
|
клемма 30 |
Выход 1 |
- на ПБК от клеммы 30 отсоединить провод и отвести его в сторону; - отключить секцию №1 ; |
|
Выход 2 |
- на ПБК от клеммы 30 отсоединить провод и отвести его в сторону; - отнять силовые кабели входа-выхода от ЛК 29-1 и соединить их вместе; - следовать на всех соединениях. |
|
|
клемма 32 |
Выход 1 |
- на ПБК от клеммы 32 отсоединить провод и отвести его в сторону; - отключить секцию №2 |
|
клемма 32 |
Выход 2 |
- на ПБК от клеммы 32 отсоединить провод и отвести его в сторону; - отнять силовые кабели входа-выхода от ЛК 29-2 и соединить их вместе; -312 переключатель перевести в положение «Разгон СП»; - с 1-й позиции «СП» соединение. |

Продолжение'таблицы 21
|
! \ клемма 34 |
Выход 1 |
- на ПБК от клеммы 34 отсоединить провод и отвести его в сторону; - отключить 1 - 2 ТЭД; - отключить 7-8 ТЭД; - ПБК выбирать до 20 позиции. |
|
Выход 2 |
- на ПБК от клеммы 34 отсоединить провод и отвести его в сторону; - зашунтировать шунтом плетёнкой ЛК 30-1; - зашунтировать шунтом плетёнкой ЛК 30-2; -312 переключатель перевести в положение «Разгон СП»; - ПБК выбирать до 20 позиции. |
|
|
клемма 36 |
Выход 1 |
- на ПБК от клеммы 36 отсоединить провод и отвести его в сторону; - отключить по одной любой паре ТЭД в обеих секциях; - ПБК выбирать до 20 позиции; |
|
Выход 2 |
- на ПБК от клеммы 36 отсоединить провод и отвести его в сторону; - на ПБК 330 соединить перемычкой клеммы: 34-36-40 или 34-40-48; -312 переключатель перевести в положение «Разгон СП»; - ПБК выбирать до 20 позиции. |
|
|
клемма 38 |
Выход 1 |
- на ПБК от клеммы 38 отсоединить провод и отвести его в сторону; - следовать на «С - СП» соединении; на «П» соединение не павить. |
|
Выход 2 |
- чл ПБК от клеммы 38 отсоединить провод и отвести его в сторону; - следовать на всех соединениях; - на «С - СП» соединении в режиме тяги все ТЭД; - на «П» соединении в режиме тяги только 1 - 2 ТЭД и 7 - 8 ТЭД. |
|
Продолжение таблицы 21
|
клемма 40 |
Выход 1 |
- на ПБК от клеммы 40 отсоединить провод и отвести его в сторону; - зашунтировать шунтом плетёнкой ЛК 41-1; - зашунтировать шунтом плетёнкой ЛК 41-2"; -312 переключатель перевести в положение «Разгон СП»; - ПБК выбирать до 20 позиции. |
|
Выход 2 |
- на ПБК от клеммы 40 отсоединить провод и отвести его в сторону; - отключить любую пару ТЭД в обеих секциях; - ПБК выбирать до 20 позиции; |
|
|
клемма 42 |
Выход 1 |
- на ПБК от клеммы 42 отсоединить провод и отвести его в сторону; - 312 переключатель перевести в положение «Разгон СП»; - следовать на всех соединениях; на «П» соединении в режиме тяги 3-4 ТЭД и 5 - 6 ТЭД. |
|
клемма 44 |
Выход 1 |
- на ПБК от клеммы 44 отсоединить провод и отвести его в сторону; - 312 переключатель перевести в положение «Разгон СП»; - следовать на всех соединениях; |
|
клемма 46 |
Выход 1 |
- на ПБК от клеммы 46 отсоединить провод и отвести его в сторону; - отключить 3-4 ТЭД и 5 - 6 ТЭД; - ПБК выбирать до 20 позиции. |
|
Выход 2 |
- на ПБК от клеммы 46 отсоединить провод и отвести его в сторону; - зашунтировать шунтом плетёнкой ЛК 59-1; - зашунтировать шунтом плетёнкой ЛК 59-2; -312 переключатель перевести в положение «Разгон СП»; - следовать на всех соединениях; - перед сбросом КМЭ на «0» позицию отключить БВ. |
Продолжение таблицы 21
|
клемма 48 |
Выход 1 |
- на ПБК от клеммы 48 отсоединить провод и отвести его в сторону; -312 переключатель перевести в положение «Разгон СП»; - следовать на всех соединениях. |
|
клемма 50 |
Выход 1 |
- на ПБК от клеммы 50 отсоединить провод и отвести его в сторону; - на работу схемы оказывает влияние только при отключенных ТЭД; - следовать на всех соединениях. |
|
клемма 52 |
Выход 1 |
- на ПБК от клеммы 52 отсоединить провод и отвести его в сторону; - на работу схемы оказывает влияние только при отключенных ТЭД; - следовать на всех соединениях. |
АЗВ 340 - 6А защищает цепи:
- контактора 4001 и 4002, реле 349 - 350 (ЭДТ), реле 371-1 (экстренного торможения), реле 372 - 373 (управления ЭДТ), реле 374 (управления ЭДТ), реле 425 (врежиме ЭДТ и экстренного торможения);
Е5-Е6
- РВ 360 (ЭЩ), РВ 375 (перехода с режима ЭДТ на ЭПТ), РВ 877 (ЭДТ), вентиля 351 (инверсивный), вентиля 364 (экстренного торможения), вентиля 391 (кнопки отпуска тормозов), преобразователя давления в задатчике 343 - 344, вспомогательное устройство ЭДТ 362, регулятор ЭДТ 363 (кассеты над 100 шкафом), Ф лампочки ЭДТ на табло сигаализации 827 - 828, Ф лампочки 834 сигаалгааіщи повреждений;
Признаки:
- не включается контактор 333 - т.к. отключено реле 371-1;
- не работает ЭПТ на локомотиве (не срабатывают тормоза при торможении);
- при нахождении ПБК на позициях произойдет разбор силовой схемы из-за отключения ЛК и РК;
- ПБК пойдет на сброс до «0» при наличии диода 465-1 в релейном шкафу.
Выход из положения 1:
Е5 - реле 371-1 подклинить во включенном положении;
- применяя экстренное торможение при нахождении ПБК 330 на позициях, необходимо отключить БВ;
Е6-Е9
- убедиться в соответствующем положении реверсоров в обеих секциях;
|
реверсор ведущей секции |
замкнуты силовые контакты верхнего вруба |
|
реверсор ведомой секции |
замкнуты силовые контакты нижнего вруба |
- реле 371-1 изъять;
- контактор 333 включить принудительно;
- в случае применения экстренного торможения при нахождении ПБК 330 на позициях, необходимо отключить БВ;
Выход из положения ?.:
- убедиться в соответствующем положении реверсоров в обеих секциях:
|
реверсор ведущей секции |
замкнуты силовые контакты верхнего вруба |
|
реверсор ведомой секции |
замкнуты силовые контакты нижнего вруба |
- контактор 333 включить принудительно;
- в релейном шкафу изъять диод 465-1;
- ЭДТ не применять.
Необходимо помнить:
- применяя экстренное торможение, силовая схема тягового режима не разбирается и автоматического сброса ПБК 330 на «0» позицию не произойдет, необходимо отключить БВ.
АЗВ 384 - 14А защищает цепи:
- 363 - регулятор ЭДТ - т.ЬЗ, Ы2, Ы7, Ы9;
- 366 - блок измерения и питания ЭДТ - т. {1;
- вольтметр 840 - аккумуляторной батареи;
АЗВ 430 - 2А защищает цепи:
- реле 438 - регулирования скорости оборотов калорифера;
- контактора 220, 221- печей;
- контактора 445 - двигателя вентилятора кондиционера;
- контактора 453 - двигателя кондиционера; Признаки:
- нс работают печи обогрева кабины машиниста;
- не включаются контактора 220 и 221; Выход из положения:
- в кабине управления снять крышку панели включателей:
- обогрева окон, обогрева кабины маишниста, ножных печей;
- для включения контактора 220 - соединить перемычками клеммы командо-аппаратов (включателей):
Таблица 22
|
Наименование |
Командо-аппарат |
Провод |
|
Ножных печей |
532 клемма 4 |
5261(2) |
|
Кондиционера и печей |
437 клемма 10 |
2651(2) |
- для включения контактора 221 - соединить перемычками клеммы командо-аппаратов: ____Таблица 23
|
Наименование |
Командо-аппарат |
Провод |
|
Ножных печей |
532 клемма 2 |
5271(2) |
|
Кондиционера и печей |
437 клемма 16 |
2671(2) |
- для включения контактора 445 - соединить перемычками клеммы командо-аппаратов: _____Таблица 24
|
Наименование |
Командо-аппарат |
Провод |
|
Ножных печей |
532 клемма 4 |
5261(2) |
|
Кондиционера и печей |
437 клемма 6 |
2601(2) |
- командо-аппарат 532 (ножных печей) включить в положение обогрева ног машиниста и помощника машиниста;
АЗВ 431 - 14А защищает цепи:
Е5 - цепи контакторов РК 34 - 35 - 36, РК 44 - 45 - 46;
Е6-Е9- цепи контакторов РК 32 - 38, ОП 61 - 62 и 81 - 82;
Е9 - вентили 797 - 798 - догружения осевых сил; Признаки:
- отсутствует прирост тока на разных позициях;
- при выходе на ходовую позицию на малых скоростях произойдет бросок тока цепи ТЭД и отключит БВ по блинкеру 025 - 026;
Необходимо:
- произвести, сброс ПБК 330 на «0» позицию;
- восстановить блинкерные реле и включить БВ;
- восстановить АЗВ 431;
- определиться, когда происходит отключение АЗВ 431:
- до набора позиций;
- на позициях;
1. Отключение АЗВ 431 происходит до набора позиций
Серии Е5
Выход из положения 1 - сменить кабину управления. Выход из положения 2:
- на ПБК отнять провода и отвести их в сторону:
- от клеммы 7 провод 286 с маркировкой ХС4:19;
- от клеммы 19 провод 362 с маркировкой ХС1:2;
- установить перемычку между клеммами ПБК:
"л" - 1 7 | - 1 19
- АЗВ 431 не включать;
- при этом все цепи управления РК находятся под защитой АЗВ 508.
Серии Еб - Е9
Выход из положения 1 - сменить кабину управления Выход из положения 2:
- АЗВ 431 не включать;
- на ПБК от клеммы 1 отнять провод 361 с маркировкой ХС1:1 и отвести его в сторону;
- соединить перемычкой между собой клеммы 13 - 15;
- при этом, все цепи управления РК находятся под защитой АЗВ 508.

Рис.167 ПБК 330 серии Е5

Рис. 168 ПБК 330 серии Е6 - Е9
2. Отключение АЗВ 431 на позициях
Признаки:
- отключает АЗВ 431 на одной из позиций;
- далее при наборе позиций отсутствует прирост тока; Необходимо:
- восстановить АЗВ 431;
- перевести реверсивную рукоятку в положение «Вперед»;
- снять правый кожух ПБК 330; Выход из положения 1:
- на ПБК прозвоночную лампу на 60 Вт (большая) закрепить:
|
одним концом |
на одну из нечетных клемм 5-7-9 |
|
другим концом |
поочередно касаться четных клемм |
|
Е5 |
кл. 6, 8, 10, 20, 22,24 |
|
Е6-Е9 |
кл. 2,4, 6, 8, 10, 12, 14 |
- При касании какой из клеммы произойдет яркое загорание прозвоночной лампы - в этом проводе имеется КЗ;
необходимо:
- провод с КЗ отнять от четной клеммы;
- включить АЗВ 431;
- при отнятии одного из проводов от клеммы ПБК:
|
Е5 |
кл. 2, 14, 16, 28 |
|
Е6-Е9 |
кл. 2, 14 |
- следовать на «С - СП» соединении с ОП;
- при отнятии одного из проводов от клеммы ПБК:
|
Е5 |
кл. 6, 8, 10, 20,22,24 |
|
Е6-Е9 |
кл. 4, 6, 8, 10, 12 |
- следовать на всех соединениях. Пояснения:
- при отсутствии прозвоночной лампы на 60 Вт (большой), можно использовать для прозвонки цепей и прозвоночную лампу на 15 Вт (малая);
при этом: Выход 2:
- на ПБК прозвоночную лампу на 15 Вт (малая) закрепить:
одним концом і на одну из нечетных клемм 5-7-9 другим концом [ на корпус____
- прозвоночная лампа при этом должна гореть; если прозвоночная лампа не горит, необходимо проверить:
- включенное, положение АЗВ 431;
- положение реверсивной рукоятки «Вперёд»;
- включенное положение контактора 333 ведущей секции;
- перемычкой поочередно касаться четных клемм 2 - 28 с выдержкой до 10 сек;
|
Е5 |
кл. 6, 8, 10, 20, 22, 24 |
|
Е6-Е9 |
кл. 2,4,6,8, 10, 12, 14 |
- притухание прозвоночной лампы или её потухание укажет провод в котором имеется КЗ;
необходимо:
• - отнять от четной клеммы провод с КЗ;
- включить АЗВ 431 (при его отключении);
а) - при отнятии одного из проводов от клеммы ПБК:
|
Е5 |
кл. 2, 14, 16, 28 |
|
Е6-Е9 |
кл. 2, 14 |
- следовать на «С - СП» соединении с применением ОП; б) - при отнятии одного из проводов от клеммы ПБК:
|
Е5 |
кл. 6, 8, 10, 20,22,24 |
|
Е6-Е9 |
кл.4, 6,8, 10, 12 |
- следовать на всех соединениях с применением ОП.
АЗВ 432 - 16 - 17А защищает цепи:
- двигателя 451 вентилятора кондиционера.
АЗВ 462-1 - 6А защищает цепи:
- реле 402-1 - контроля давления в питательной магистрали;
- РВ 414-1 МК и РВ 422-1 МВ;
- контактора 2031 - 2041 - МК;
- контактора 2111 (2) - 2121 (2) - МВ;
- контактора 7011 - отопления поезда;
- контактор 518 «Вспомогательного компрессора»;
- вентиль «ПШ» 210 «С»;
- указатели 7082 - 7092 - отопления поезда;
- Й- лампы на панели сигнализации 827 - 828. Е6-Е9
- вентиль «Тифон» 787;
Е9 - 35 лампы на панели сигнализации 839 - МК;
- Ф лампы на панели сигнализации 839 - МВ. Признаки:
- остановка МВ и МК-1;
- не работает Вспомогательный компрессор в секции №1 при давлении в резервуаре токоприёмника ниже 5,0 кгс/см2.
Е6-Е9- отсутствует подача звукового сигнала тифоном. Выход из положения:
- АЗВ 462-1 не включать;
- переключатель 200 в обеих секциях перевести в положение «ВЭ»;
- в обеих секциях соединить шунты контакторов 211 - 212;
- изъять диоды 424 в релейных шкафах обеих секций;
- в работе МК-2 (при неисправности РД 410-2 или реле
402-2 — работой МК-2 управлять вручную командо-аппаратом 405-
2);
- отопление поезда при необходимости перевести от контактора 701 ведущей секции, для этого необходимо установить во врубы 703-2 нож (врубы ножа 703-2 расположены с обратной стороны счётчика отопления поезда секции №2).
Е6 - Е9 - для работы тифона необходимо отнять плюсовой провод 5351(2) от вентиля «Тифон» и соединить перемычкой провод 5361(2) вентиля «Свисток» с плюсовой клеммой вентиля «Тифон» (место отнятого провода).
- звуковыми сигналами управлять кнопкой «Свисток»; При необходимости работы МК1 и МК2, необходимо:
- в релейном шкафу секции №1 изъять РВ 4141;
- на ЦКР обеих секций соединить перемычками провода
Таблица 25
|
ЦКР секции №1 |
ЦКР секции №2 |
|
Е5-Е7 | 3070-4741 |
Е5-Е7 | 3070-4742 |
|
3080-4721 |
3080-4722 ! |
||
|
Е9 |
3070-4741 |
Е9 |
3070 - 4742 ! |
|
3080-4720 |
3080 - 2460 ! |
- на пульте управления включить в работу командо-аппарат МК2.
Внимание: если при постановке перемычек на провода 474 или 472 (2460) произойдёт отключение АЗВ 462-2, значит КЗ в проводах включения контакторов 2031 или 2041. Перемычки при этом снять и следовать на одном МК2.
АЗВ 462-2 - 6А защищает цепи:
- реле 402-2 - давления в питательной магистрали;
- реле 485-2 - контроля блокировки сеток ВВК;
- РВ 414-2 МК и РВ 422-2 МВ;
- контактора 2032 - 2042 - МК;
- контактора 2112 - 2122 - на высокой скорости МВ;
- контактора 7012 - отопления поезда;
- контактора 518 «Вспомогательного компрессора»;
- вентиля переключателя скорости МВ «ПШ» 210 «СП»;
- указатели 7082 - 7092 - отопления поезда;
- & лампы на панели сигнализации 827 - 828; Е6-Е9
- вентиль «Тифон» 787;
Е9 - Ф лампы на панели сигнализации 839 - МК;
- Ф лампы на панели сигнализации 839 - МВ; Признаки:
- отключаются и не включаются БВ обеих секций;
- опустятся и не поднимаются токоприёмники обеих секций;
- не работает вспомогательный компрессор в секции №2 при давлении в резервуаре токоприёмника ниже 5,0 кгс/см2;
Еб -Е9 - отсутствует подача звукового сигнала тифоном. Внимание!
По признакам неисправности существует сходство при:
- отключении АЗВ 462-2, АЗВ 475-1;
- отключении реле 4851(2) - разблокированы сетки ВВК. Проверка:
- если при постановке командо-аппарата 5282 в положение работы Вспомогательного компрессора №2 (при давлении в резервуаре токоприёмника ниже 5,0 кГс/см2) Вспомогательный компрессор №2 работает, то АЗВ 462-2 -
включён;
- если при постановке командо-аппарага 480 «Токоприёмника переднего» в положение «Включения заземлизеля» срабатывает отключающий вентиль разъеденителя, то АЗВ 475-1 - включён;
Выход из положения:
- АЗВ 462-2 не включать;
- на клеммах реле 485-2 соединить попарно крайние правые клеммы:
Рис.169 Расположение клемм и проводов секции №1 и секции №2 реле 485
- в работе МК-1 (при неисправности РД 410-1 или реле
402-1 - работой МК-1 управлять вручную команде-аппаратом 405-1);
- отопление поезда при необходимости перевести от контактора 701 ведущей секции;
- установить во врубы 703-2 нож (врубы ножа 703-2 расположены с обратной стороны счётчика отопления поезда секции №2 - см. рис. 158).
Еб - Е9 - для работы тифона необходимо отнять плюсовой провод 5351(2) от вентиля «Тифон» и соединить перемычкой провод 5361(2) вентиля «Свисток» с плюсовой клеммой вентиля «Тифон» (место отнятого провода).
- звуковыми сигналами управлять кнопкой «Свисток»; При необходимости работы МК1 и МК2, необходимо:
- в релейном шкафу секции №2 изъять PB 4142;
- на ЦКР обеих секций соединить перемычками провода

Таблица 26
ЦКР секции №1
ЦКР секции №2
|
Е5-Е7 |
3070-4741 |
Е5-Е7 |
3070 - 4742 |
|
3080-4721 |
3080-4722 |
||
|
Е9 |
3070 - 4741 |
Е9 |
3070-4742 |
|
3080-4720 |
3080 - 2460 |
- на пульте управления включить в работу командо-аппарат МК1.
Внимание!
Если при постановке перемычек на провода 474 или 472 (2460) произойдёт отключение аЗВ 462-1, значит КЗ в проводах включения контакторов 2032 или 2С42. Перемычки при этом снять и следовать на одном МК1.
АЗВ 475-1 6А.
Защищает цепи:
- реле 456 и реле 485-1 (блокировки сеток ВВК);
- БВ секции №1 и БВ секции №2;
- контактора 479-1 и 479-2;
- вентиля ОСІ 1 «Токоприёмника &\»,
- вентиля ОС 12 «Токоприёмника №2»,
- вентиля 0031 «Разъеденителя №1»;
- вентиля 0032 «Разъеденителя №2»;
- вентиля 0051 «Заземлителя №1»;
- вентиля 0052 «Заземлителя №2»;
- вентиля 0131 «Разъеденителя межсекционного»;
- электромагнитных защёлок 484 і (2) сеток ВВК; Е9 - пожарной сигнализации 820 - 826 от провода 4001. Признаки:
- отключаются оба БВ;
- опускаются токоприёмники;
- не разворачиваются разъединители-заземлители; Е9 - отключится пожарная сигнализация.
Выход из положения 1:
- АЗВ 475-1 не включать;
- для подъема токоприемника на ЦКР соединить перемычками провода в обеих секщ.ях:
|
секция № 1 |
5210-4280 |
|
секция № 2 |
5200 - 4330 |
- для включения БВ на ЦКР соединить перемычками провода в
обеих секциях:
|
ел /го |
6241 |
-4111 |
|
сэ - су |
6242 |
-4112 |
- контактора 400 обеих секций включить принудительно;
- подъем токоприемника осуществлять включением командо-аппаратом 528 «Вспомогательного компрессора» в положение одной или обеих секций;
- БВ при этом включено на ток уставки - 2500А;
- следовать только на «С - СП» соединениях; Выход из положения 2:
- АЗВ 475-1 не включать;
- для подъема токоприемника на ЦКР соединить перемычками провода в обеих секциях:
|
секция № 1 |
5210-4280 |
|
секция № 2 |
5200 - 4330 |
- для включения БВ на ЦКР соединить перемычками провода в обеих секциях:
|
Е5-Е7 |
5711-4111 |
|
5712-4112 |
|
|
Е9 |
5710-4111 |
|
1690-4112 |
- контактора 400 обеих секций включить принудительно;
- подъем токоприемника осуществлять включением командо-аппаратом 528 «Вспомогательного компрессора» в положение одной или обеих секций;
Пояснение:
- при срабатывании любого защитного реле произойдёт срабатывание блинкерного сигнализатора, что в свою очередь приведёт к отключению БВ;
- восстанавливать блинкерный сигнализатор кнопкой 836 разрешается только на «0» позиции ПБК;
Внимание!
- при поставленной перемычке на включение БВ, одно или оба БВ не включены (определяется по указателю БВ в кабине), необходимо перемычку, где не включился БВ, с одной из
клемм снять и вновь установить на место;
АЗВ 476 - 6А защищает цепи:
- реле 4251 (2) - сброса ПБК на «О» позицию;
- указателей 486 - 487 - БВ;
- указателей 708 - 709 - «Отопления поезда»;
- датчика 897 - положения ЭДТ;
- регулятора 363 ЭДТ - т.ЫЗ, Ы8;
- Ф лампы «С», «СП», «П», «0», «X»;
- Ф лампы «Разъеденителей»;
- Ф лампы «Заземлителей»;
Е5 - РВ 4141(2) МК и РВ 4221(2) MB;
Е6-Е9- все РВ;
Признаки:
- указатели БВ и отопления поезда занимают наклонное положение (по диагонали);
- на табло 802 не восстанавливаются блинкерные реле 067 - 068 и 843 - 844;
- не работают МК;
- не горят лампочки «О - X - С - СП - П» в кабине машиниста; Еб - Е9 - отсутствует подача звукового сигнала «Свисток»;
Прозвонка:
Для определения секции с КЗ в цепи АЗВ 476, (т.к. АЗВ 476 обеих секций связаны между собой через блокировки 3 — 4 разъеденителей 003 проводом 6510), необходимо:
- отключить оба БВ;
- командо-аппарат 480 или 481 «Переднего токоприёмника» перевести в положение «Заземлителя» и вернуть в «0» положение после отключения разъеденителя;
- восстановить АЗВ 476 в обеих секциях;
- в какой из секций АЗВ 476 отключает или не восстанавливается, необходимо:
Выход из положения 1:
Серии Е5
- АЗВ 476 не включать;
- командо-аппарат 359 «Жалюзей» установить в положение «Автомат», для контроля ходовых позиций по загоранию лампочки «Жалюзей» на световом табло сигнализации 828;
- в работе один МК исправной секции;
- для запуска МВ при включенном командо-аппарате 418 необходимо:
- в неисправной секции нажать вручную на якорь РВ 422 на включение на 3 сек и отпустить - МВ заработают;
- передний токоприёмник не поднимать;

Рис. 170 Включение РВ 422 вручную
При необходимости работы МК1 и МК2, необходимо:
- изъять в неисправной секции РВ 414;
- на ЦКР обеи>. секций соединить перемычками провода:
|
ЦКР секции №1 |
ЦКР секции N»2 |
||
|
Е5-Е7 |
3070-4741 |
Е5-Е7 |
3070-4742 |
|
3080 - 4721 |
3080-4722 |
||
|
Е9 |
3070-4741 |
Е9 |
3070-4742 |
|
3080 - 4720 |
3080 - 2460 |
||
Выход из положения 2:
Серии Еб - Е9
- АЗВ 476 не включать;
- в неисправной секции изъять РВ 360. 361, 829;
- восстановить блинкерный сигнализатор;
- включить БВ с кабины управления (указатель БВ не работает);
- включить командо-аппарат 418 МВ;
- для запуска МВ в неисправной секции на РВ 422 перемычкой соединить клеммы 1 - 3 на 3 сек в проводах:
|
Е6-Е7 |
секции №1 |
4821 -4811 |
|
секции №2 |
4822 - 4802 |
|
|
Е9 |
секции №1 |
4821 -4810 |
|
секции №2 |
4822 - 2470 |
- после запуска в работу МВ - перемычку с РВ 422 клемм 1 -3 снять;
- в работе один МК исправной секции;
- передний токоприёмник не поднимать.

Рис.171 Соединение клемм I - 3 на РВ 422 для запуска МВ
При необходимости работы МК 1 и МК2, необходимо:
- изъять в неисправной секции РВ 414;
- на ЦКР обеих секций соединить перемычками провода:
Таблица 28
|
ЦКР секции №1 |
ЦКР секции №2 |
||
|
Е5-Е7 |
3070-4741 |
Е4-Е7 |
3070-4742 |
|
3080-4721 |
3080-4722 |
||
|
ЦКР секции №1 |
ЦКР секции №2 |
||
|
Е9 |
3070 |
-4741 |
PO |
3070-4742 |
|
30S0 |
- 4720 |
3080 - 2460 |
Выход из положения 3:
Серии Е6 - Е9
- АЗВ 476 не включать;
- в релейном шкафу неисправной секции изъять диод 459;
- установить перемычку от провода 624 (с ЦКР) на плюсовую клемму любого реле времени:
|
Е6 |
клемма 4 таймера |
или |
клемма 2 реле времени |
|
Е7-Е9 |
клемма 10 реле времени |
- в работе оба МК;
- для запуска МВ в неисправной секции перемычкой соединить клеммы 1 - 3 на РВ 422 на 3 сек;
- после запуска МВ перемычку снять;
- указатели БВ и отопления поезда данной секции не работают;
- передний токоприёмник не поднимать.

Рис.172 Запитка реле времени
314

Рис. 173 Запитка реле времени
АЗВ 508 - 14А защищает цепи:
Серии Е5 - цепи контакторов РК 32 - 33 - 37 - 38;
- цепи контакторов РК 42 - 43 - 47 - 48;
- цепи контакторов 61 ± 64 и 81 ^ 84 - ослабления поля. Серии Е6-Е9 - цепи контакторов РК 42 48;
- цепи контакторов 63 - 64 и 83 - 84 - ослабления поля. Признаки:
- отсутствует прирост тока на разных позициях;
- при выходе на ходовую позицию на малых скоростях произойдет бросок тока цепи ТЭД и отключит БВ по блинкеру 025 - 026;
- отсутствует ослабление поля:
|
£5 |
полностью |
|
Е6-Е9 |
3,4, 5 ступени ОП |
Необходимо:
- произвести сброс ПБК 330 на «0» позицию;
- восстановить блинкерные реле и включить БВ;
- восстановить АЗВ 508;
- определиться, когда происходит отключение АЗВ 508:
- до набора позиций;
- на позициях;
1. Отключение АЗВ 508 происходит до набора позиций
Серии Е5
Выход из положения 1 - сменить кабину управления;
Выход из положения 2:
- АЗВ 508 не включать;
- на ПБК от клеммы 1 отнять провод 361 с маркировкой ХС1:1 и отвести в сторону;
- соединить перемычкой на ПБК клеммы 3-5, при этом все цепи управления РК находятся под защитой АЗВ 431.

Рис. 174 ПБК 330 серии Е5
Серии Е6 - Е9
Выход из положения 1 - сменить кабину управления; Выход из положения 2:
- АЗВ 508 не включать;
- на ПБК отнять от клеммы 19 провод 362 с маркировкой ХС1:2 и отвести в сторону;
- соединить перемычкой между собой клеммы 13-15;
- при этом, все цепи управления РК и ослабления поля находятся под защитой АЗВ 431.

Рис. 175 ПБК 330 серии Е6 - Е9
2. Отключение АЗВ 508 на позициях
Признаки:
- отключает АЗВ 508 на одной из позиций;
- далее при наборе позиций отсутствует прирост тока. Необходимо:
- восстановить АЗВ 508;
- перевести реверсивную рукоятку в положение «Вперед»;
- снять правый кожух ПБК 330. Выход из положения 1:
- прозвоночную лампу на 60 Вт (большая) закрепить на ПБК:
|
одним концом |
на одну из нечетных клемм 1 27 |
|
другим концом |
поочередно касаться четных клемм |
|
Е5 |
кл. 2,4, 12, 14, 16, 18, 26, 28 |
|
Е6-Е9 |
кл. 16, 18,20, 22. 24,26,28 |
При касании какой из чётных клемм произойдет яркое загорание прозвоночной лампы - в этом проводе имеется КЗ;
необходимо:
- провод с КЗ отнять от четной клеммы;
- включить АЗВ 508;
а) - при отнятии одного из проводов от клеммы ПБК:
|
Е5 |
кл.2, 14, 16,28 |
|
Е6-Е9 |
кл. 16, 28 |
- следовать на «С - СП» соединении; б) - при отнятии одного из проводов от клеммы ПБК:
|
Е5 |
кл. 4, 12, 18, 26 |
|
Е6-Е9 |
кл. 18,20, 22, 24, 26 |
- следовать на всех соединениях. Пояснения:
- при отсутствии прозвоночной лампы на 60 Вт (большой), можно использовать для прозвонки цепей и прозвоночную лампу на 15 Вт (малая).
Выход из положения 2:
- на ПБК прозвоночную лампу на 15 Вт (малая) закрепить:
|
одним концом |
на одну из нечетных клемм 1 27 |
|
другим концом |
на корпус |
- прозвоночная лампа при этом должна гореть.
Если прозвоночная лампа не горит, необходимо проверить:
- включенное положение АЗВ 508";
- положение реверсивной рукоятки «Вперёд»;
- включенное положение контактора 333 ведущей секции;
- перемычкой поочередно касаться четных клемм 2 28 с выдержкой до 10 сек;
|
Е5 |
кл. 2,4, 12, 14, 16, 18, 26,28 |
|
Е6-Е9 |
кл. 16, 18, 20, 22,24, 26, 28 |
- притухание прозвоночной лампы или её потухание укажет на провод в котором имеется КЗ.
Необходимо:
- отнять от четной клеммы провод с КЗ;
- включить АЗВ 508 (при его отключении); а) - при отнятии одного из проводов от клеммы ПБК:
|
Е5 |
кл. 2, 14, 16,28 |
|
Е6-Е9 |
кл. 16,28 |
- следовать на «С - СП» соединении; б) - при отнятии одного из проводов от клеммы ПБК:
|
Е5 |
кл.4, 12, 18, 26 |
|
Е6-Е9 |
кл. 18,20, 22,24, 26 |
- следовать на всех соединениях.
АЗВ 525 - ЮА защищает цепи:
- обогрева масла картера вспомогательного компрессора.
АЗВ 530 -14А защищает цепи:
- ножных печей;
- вентиляторов над головой локомотивной бригады в кабине машиниста; Е5 - Е6- обогрева масла картера МК.
АЗВ 531 - 14А (серии Е7 - Е9) защищает цепи:
- обогрева масла картера МК.
АЗВ 556 -14 (25)А защищает цепи:
- обогрева воды бойлера 5522;
- Ф лампы 5532 - включения бойлера;
- электроплитки 5492;
- Ф лампы 5502 - включения электроплитки; Е5 - вентиль 789 «Свисток».
АЗВ 559 - 14 (25)А защищает цепи: Е5 - вентиля 787 «Тифон»;
- ТЭНы 560 обогрева водоотвода;
- вентилей 570 «Водоотвода» обеих секций (АЗВ 5591). Признаки:
- не работает обогрев кранов водоотвода;
- АЗВ 559-1 - отсутствует продувка ГР от командо-аппарата 557 обеих секций;
Е5 - отсутствует подача звукового сигнала тифоном.
Выход из положения:
- ГР продувать вручную не реже каждых 30 мин;
- от вентиля 787 «Тифон» ведущей секции отнять плюсовый провод 536 и установить перемычку от плюсового провода 535 вентиля «Свисток» на место отсоединенного провода вентиля «Тифон».
- звуковыми сигнатами управлять кнопкой «Свисток».

Рис. 176 Расположение венилей «Тифон» и «Свисток» на панели
АЗВ 565-2 - 2А защищает цепи - холодильника.
ВЗВ 566 - 100А (Е5) - защищает цепи аккумуляторной батареи.
АЗВ 579-2 - 6А защищает цепи обогрева бака воды 580-2.
АЗВ 585-1 - 16А защищает цепи обогрева гцххтранстшсжжшрадиссташии.
АЗВ 591 - 1А защищает цепи:
- реле 592 - тепловых предохранителей;
- Ф лампы нагрева редукторов на табло сигнализации 827 - 828;
- Ф лампы 845 - открытия двери между секциями.
АЗВ 60и -14А защищает цепи прожектора.
АЗВ 601 (608) - 6А защищает цепи:
- провода 624 - штепсельных розеток;
- Ф лампы 635(660) освещения импульсного преобразователя (100 шкафа).
АЗВ 602 - 6А защищает цепи Ф ламп буферных фонарей.
АЗВ 603 (693) - 25А защищает цепи внешних источников питания.
АЗВ 604 - 14А защищает цепи Ф ламп освещения машинного отделения и тележек.
АЗВ 606 - 10 (1 61 \ гщищаеі цепи:
- Ф ламп о*в< {ля кабины машиниста;
- ф- ламп ot в ія релейного шкафа и ЦКР
проводя(
АЗВ 716 и 717 ІА (Е5 - Е7) защищает цепи обогрева окон
кабины машиниста.
АЗВ 752 - 6А защищает цепи:
- ПБЗ 750;
- пескоподачи;
- гребнесмазывателей;
- АЗВ 752-1 - Ф лампы 670 - отпуска тормозов в кабинах? машиниста на пульте управления.
Для подачи песка необходимо: Выход из положения 1:
- в кабине машиниста командо-аппарат 528 «Вспомогательного компрессора» перевести в крайнее левое положение;
- в ведущей секции на ЦКР соединить перемычами провода:
|
Е5-Е7 |
секция №1 |
7590 - 5500 |
|
секция №2 |
7890 - 5500 |
|
|
Е9 |
секция №1 |
7571 -5500 |
|
секция №2 |
7582 - 5500 |
- управлять пескоподачей кнопкой 7% «Догружения осевых сил» (ДОС).
Выход из положения 2:
Ведущая секция М1
- в секции №1:
- отнять от вентиля 771-1 пескоподачи провод 7571 (где подведен один провод);
- соединить перемычкой клеммы вентиля 797-1 догружения осевых сил (провод 5511) и вентиля 771-1 пескоподачи;
- в секция №2:
- отнять от вентиля 772-2 пескоподачи провод 7572 (где подведен один провод);
- соединить перемычкой клеммы вентиля 797-2 догружения осевых сил (провод 5512) и вентиля 771 -2 пескоподачи;
- управлять пескоподачей кнопкой 7% «Догружения осевых сил» (ДОС).
Ведущая секция №2
- в секции №2:
- отнять от вентиля 771-2 пескоподачи провод 7582 (где подведен один провод);
- соединить перемычкой клеммы вентиля 798-2 догружения осевых сил (провод 5522) и вентиля 771-2 пескоподачи;
- в секции №1:
- отнять от вентиля 772-1 пескоподачи провод 7581 (где подведен один провод);
- соединить перемычкой ктеммы вентиля 798-1 догружения осевых сил (провод 5521) и вентиля 771 -1 пескоподачи;
- управлять пескоподачей кнопкой 796 «Догружения осевых сил» (ДОС).
АЗВ 810 - 6А защищает цепи:
- реле 804 - 805 - защиты ЭДТ;
- реле 806 - защиты хода;
- реле 808 - защиты запаздывания защиты от минимального напряжения в контактной сети;
- реле 512 - индикаторное реле контроля работы ГТУ1(3);
- реле 513 - индикаторное реле контроля работы ГТУ2(4);
- РВ 361 - «Жалюзей»;
- Ф лампы «Жалюзей» на панели сигнализации 828;
- вольтметра 840 цепей управления на пульте в кабине машиниста; Серии Е5 - РВ 829 - «Дифференцированной защиты крышевых
вентиляторов»;
Признаки:
- отключит БВ без выпадания блинкерных реле на табло сигнализации 802;
- загорятся лампочки остановки МВ на панели световой сигнализации 827 - 828;
- отсутствует показание вольтметра 840 цепей управления неисправной секции;
Ввиду отсутствия защиты силовых цепей от токов КЗ и перегруза на неисправной секции, необходимо: Выход из положения 1 :
- отключить неисправную секцию переключателем 312;
- следовать на одной исправной секции на всех соединениях; Выход из положения 2:
- переключатель 018-2 переключить в нижнее положение;
- в неисправной секции реле 512 и 513:
|
Е5 |
принудительно подклинить во включённом положении |
|
Е6-Е9 |
изъять |
а) при отключении АЗВ 810-2, необходимо реле 806-2:
|
Е5 |
подклинить во включённом положении принудительно |
|
Е6-Е9 |
изъять |
б) при отключении АЗВ 810-1, необходимо РВ 361-2:
|
Е5 |
подклинить во включённом положении принудительно |
|
Е6-Е9 |
изъять |
- следовать на «С - СП» соединениях с применением ослабления поля;
- после разгона поезда - отключить неисправную секцию переключателем 312;
- в пути следования постоянно вести контроль работы машин и аппаратов неисправной секции.
Выход из положения 3:
- в неисправной секции включить БВ на ток уставки 2500А;
- на ЦКР соединить перемычкой провода:
|
6241 -4111 | |
5210-4111 |
|
6242-4112 1 |
5200-4112 |
- в первом случае БВ включится сразу при постановке перемычки;
- во втором случае БВ включится после включения командо-аппарата 528 «Вспомогательного компрессора» в положение 4;
- в неисправной секции подклинить принудительно контактор 400 во включенном положении;
- в неисправной секции реле 512 и 513
|
Е5 |
подклинить во включённом положении принудительно |
|
Е6-Е9 |
изъять |
а) при отключении АЗВ 810-2, необходимо реле 806-2:
|
Е5 |
подклинить во включённом положении принудительно |
|
Е6-Е9 |
изъять |
б) при отключении АЗВ 810-1, необходимо РВ 361-2:
|
Е5 |
подклинить во включённом положении принудительно |
|
Е6-Е9 |
изъять |
- следовать на «С - СП» соединениях с применением ослабления поля;
- после разгона поезда - отключить неисправную секцию переключателем 312;
- в пути следования постоянно вести контроль работы машин и аппаратов неисправной секции.
1. Обрыв силовых цепей ТЭД
1. Поочередно отключить секцию переключателем 312, если одна из секций окажется в тяге и есть возможность вести поезд графиком одной секцией, необходимо продолжить движение.
Для определения неисправности в секции, необходимо
установить переключатель 312 в нормальное положение;
а) если позволяет скорость:
- выбирать позиции ПБК при скорости:
- до 20 км/ч - до 20 позиции (ходовая «С» соединения);
- более 20 км/ч - перейти на «СП» соединение;
- более 60 км/ч - перейти на «П» соединение; при этом:
Если появится ток тяги при выборе позиций ПБК 330:
- на одной из реостатных позиций «С» соединения, необходимо:
- согласно развёртки КЭ ПБК установить, какой из реостатных контакторов зашунтировал обрыв пусковых сопротивлений;
- на ПБК 330 зашунтировать КЭ данного РК.
Таблица 29
|
Позиция |
Включившийся РК шунтирующий пусковые резисторы |
|||
|
РК 1, IV _ГГГ£Ч1ЛІ^ЬІІ* |
КЭПБК |
РК П, III группы К |
КЭ ПБК |
|
|
2 ^ |
0321,0322 |
1 -2 |
0421,0422 |
15-16 |
|
3 |
0331,0332 |
3-4 |
0431, 0432 |
17-18 |
|
4 |
0341,0342 |
5-6 |
0441,0442 |
19-20 |
|
5 |
- |
- |
||
|
6 |
0351,0352 |
7-8 |
0451,0452 |
21 -22 |
|
7 |
- |
- |
||
|
8 |
- |
0461,0462 |
23-24 |
|
|
9 |
0361,0362 |
9-10 |
- |
|
|
10 |
- |
- |
||
|
11 |
- |
- |
||
|
12 |
0471, 0472 |
25-26 |
||
|
13 |
0371,0372 |
11-12 |
||
|
14 |
- |
- |
||
|
15 |
- |
- |
||
|
16 |
0481,0482 |
27-28 |
||
|
17 |
0381,0382 |
13-14 |
||
|
18 |
- |
- |
||
|
19 |
- |
- |
||
при этом: если на ПБК зашунтированы одна пара клемм:
|
КЭ ПБК |
Условия режимов следования поезда |
|
27-28 |
следовать на «С - СП» соединениях |
|
25-26 |
следовать на «е - СП» соединениях |
|
23-24 |
следовать на «С - СП» соединениях |
|
21 -22 |
следовать на «С - СП» соединениях |
|
19-20 |
следовать на всех соединениях |
|
17- 18 |
следовать на всех соединениях ' |
|
15-16 |
следовать на всех соединениях |
|
13-14 |
переключатель 312 перевести в положение «Разгон СП», ПБК выбирать до 20 позиции |
|
11 - 12 |
переключатель 312 перевести в положение «Разгон СП», ПБК выбирать до 20 позиции |
|
9-10 |
переключатель 312 перевести в положение «Разгон |
|
СП», ПБК выбирать до 20 позиции |
|
|
7-8 |
следовать на всех соединениях |
|
5-6 |
следовать на всех соединениях |
|
3-4 |
следовать на всех соединениях |
|
1-2 |
следовать на всех соединениях |
Если появится ток тяги при выборе 20 позиции ПБК 330 (ходовой):
- включившийся ЛК 031 зашунтировал ЛК 030 и ЛК 041;
- проверить работу ЛК 30 и 41 на включение в обеих секциях; для этого необходимо:
- переключатель 312 установить в положение «Разгон СП»;
если окажется в тяге:
|
секция №1 |
значит неисправность в цепи контакторов секции №2 |
|
секция №2 |
значит неисправность в цепи контакторов секции № 1 |
Если при выборе 21 позици ПБК 330 появится ток тяги:
а) - обеих секций - неисправен ЛК 060. Выход из положения:
- переключатель 312 установить в положение «Разгон СП» и следовать на всех соединениях;
б) - секции №1 - неисправность в цепи ТЭД секции №2. Выход из положения:
- отключить неисправную пару ТЭД в секции №2;
- следовать на всех соединениях;
в) - секции №2 - неисправность в цепи ТЭД секции № 1. Выход из положения:
- отключить неисправную пару ТЭД в секции №1;
- следовать на всех соединениях.
На 39 позици ПБК 330 определяем неисправность пары ТЭД по показанию килоамперметра (кА); Выход из положения:
- отключить неисправную пару ТЭД в неисправной секции;
- следовать на всех соединениях;
2. Обрыв силовых цепей ТЭД
При постановке 1-й позиции и взятии поезда со стояЮси разрешается произвести набор позиций до 4-й;
если при этом:
а) - появится ток тяги, пгюизводить набор позиций и разгон поезда до 20
(ходовой) позиции с применением ослабления поля;
- согласно развёртки КЭ ПБК установить, какой из реостатных контакторов зашунтировал обрыв пусковых сопротивлений;
- на ПБК 330 зашунтировать КЭ данного РК (см. таблицу 29);
б) - ток тяги отсутствует, необходимо:
- затормозить локомотив, реверсивную рукоятку установить в положение «Вперед», КМЭ установить на 1-ю позицию, снять крышку ПБК 330 (правую), перемычкой произвести шунтировку КЭ ПБК с 1 28. Помощник машиниста при этом:
- наблюдает за показанием килоамперметров в кабине машиниста;
- при появлении тока тяги производит сброс позиций ПБК на «0»; Выход из положения:
- на ПБК 330 зашунтировать КЭ данного РК.
Рис. 177 Поочерёдное замыкание КЭ ПБК при прозвонке на обрыв
Если при выполненной прозвонке электровоз не оказался в режиме тяги
- переключателем секций 312 определить неисправную секцию. 1) - секция №1 в режиме тяги Выход из положения 1 - следовать на одной исправной секции; Выход из положения 2 - проверить включение ЛК в секции №2:

|
лкзо |
-2 |
|
ЛК41 |
-2 |
|
ЛК 60 |
-2 |
а) - при не включении ЛК 30-2 или 41-2 отключить со схемы
7-8 ТЭД;
б) - при не включении ЛК 60-2:
- переключатель 312 перевести в положение «Разгон СП»;
- следовать на всех соединениях;
- с 1-й позиции «СП» соединение;
2) - секция №2 в режиме тяги Выход из положения 1 - следовать на одной исправной секции; Выход из положения 2 проверить включение ЛК в секции №1:
|
ЛК 29- |
1 |
|
ЛК 30 - |
1 |
|
ЛК41 - |
1 |
|
ЛК 60- |
1 |
а) - при не включении ЛК 29-1 Выход из положения 1:
- переключателем 312 отключить «Секцию №1»;
- следовать на всех соединениях с применением ослабления поля;
- в режиме тяги только секция №2; Выход из положения 2:
- отнять кабели 0081 и 0091 от Л К 29-1 и соединить их вместе на одной из клемм ЛК 29-1;
- следовать на всех соединениях с применением ослабления поля;
б) - при не включении ЛК 30-1 или 41-1
Выход из положения: - отключить со схемы 1 - 2 ТЭД;
в) - при не включении ЛК 60-1 Выход из положения:
- переключатель 312 перевести в положение «Разгон СП»;
- следовать на всех соединениях, с 1-й позиции «СП» соединение.
3) секция №1 и секция №2 не в тяге
при нахождении переключателя 312 в положении:
- нормальной эксплуатации;
- «Разгон СП»;
- «Отключена секция №1»;
- «Отключена секция №2». Причина:
а) неисправность цепи управления ЛК 30 или ЛК 41; (как правило, отсутствует контакт в КЭ ПБК 330)
КЭ ПБК 33 - 34_!ЛК 30___•
КЭ ПБК 39 - 40 |ЛК41 " ;
Выход из положения:
- отключить со схемы 1 - 2 ТЭД и 7 - 8 ТЭД;
- в режиме тяги - 3-4 ТЭД и 5 - 6 ТЭД;
- ПБК выбирать до 20 позиции;
- на «СП» соединении отсутствует ток тяги электровоза;
- «П» соединение выбирать при скорости движения не менее 80 км/ч;
необходимо помнить, что:
- при переходе на 22-ю позицию цепь разрывают два Ж 60-1 и 60-2;
- существует возможность повреждения ЛК 60-2; При не включении ЛК
необходимо: Исключить со схемы неисправный ЛК
Таблица 31
|
ЛК |
Выход из положения при не включении ЛК |
|
29-1 |
Выход из положения 1: - Отключить перекточателем 312 секцию №1 |
|
Выход из положения 2: - Зашунтировать ЛК 29-1, соединив вместе подводящие кабели 0081 и 0091; |
|
|
29-2 |
Выход из положения 1: - Отключить перекючателем 312 секцию №2; |
|
Выход из положения 2: - Зашунтировать ЛК 29-1 шунтом-плетёнкой входную и выводную шину; |
|
|
30 |
Выход из положения 1: - Отключить 1 - 2 ТЭД и 7 - 8 ТЭД; - ПБК выбирать только до 20-й позиции |
|
Выход из положения 2: - Зашунтировать ЛК 30-1 и 30-2 шунтом-плетёнкой входную и выводную шину; - переключатель 312 установить в положение «Разгон СП»; - ПБК выбирать только до 20-й позиции; |
|
31 |
Выход из положения 1. - отключить в обеих секциях по любой паре ТЭД; - ПБК выбирать только до 20-й позиции; |
|
Выход из положения 2: - на ПБК соединить клеммы 34 - 36 - 40; - переключатель 312 установить в положение «Разгон СП»; - ПБК выбирать только до 20-й позиции; |
|
|
40 |
Выход из положения 1: - следовать на «С - СП» соединениях с применением ослабления поезда; Выход из положения 2: - при не включении ЛК 40 в одной из секций осмотреть блокировку Л К 41 этой же секции; - восстановить контакт в блокировке ЛК 41; |
|
41 |
Выход из положения 1: - отключить в обеих секциях по любой паре ТЭД; - ПБК выбирать только до 20-й позиции |
|
Выход из положения 2: - На ЛК 41-1 и 41-2 соединить шунтом-плетёнкой входную и выводную шину; - переключатель 312 установить в положение «Разгон СП»; - ПБК выбирать только до 20-й позиции; |
|
|
57 |
Выход из положения 1: - переключатель 312 установить в положение «Разгон СП»; - ПБК выбирать только до 20-й позиции; |
|
58 |
Выход из положения 1: - переключатель 312 установить в положение «Разгон СП»; - ПБК выбирать только до 20-й позиции; |
|
59 |
Выход из положения 1: - Отключить 3 - 4 ТЭД и 5 - 6 ТЭД; - ПБК выбирать только до 20-й позиции; |
|
Выход из положения 2: - Зашунтировать Л К 59-1 и 59-2 шунтом-плетёнкой входную и выводную шину; - переключатель 312 установить в положение «Разгон СП»; - ПБК выбирать только до 20-й позиции; |
|
|
60 |
Выход из положения 1: - переключатель 312 установить в положение «Разгон СП»; - следовать на всех соединениях, с 1-й позиции «СП» соединение; |
Если при наборе-сбросе ПБК 330 ЛК не отключится, а останется включенным
необходимо произвести проверку исправной работы контакторов. ________Таблица 32
|
ЛК |
Выход из положения, когда ЛК остался включённым |
|
29-1 |
Признаки: - изменений на работу схемы не оказывает - включен с 1 56 позиции. |
|
Проверка: - при включенных БВ; - обесточенных силовых цепях; - опустить токоприёмники; если при этом: - отключит БВ1 по блинкеру 808, необходимо: - проверить исправность работы ЛК 29-1 ; |
|
|
Выход из положения: - неисправность в пути следования не устранять; - следовать на всех соединениях; |
|
|
29-2 |
Признаки: - отключают оба БВ по блинкеру 015: - с 1-й позиции; - или при переходе на 20-ю позицию с «СП» на «С» соединение; |
|
Проверка: - при включенных БВ; - обесточенных силовых цепях, - опустить токоприёмники; если при этом: - отключит БВ2 по блинкеру 808, необходимо: - проверить исправность работы ЛК 29-2 и ЛК 60-2; |
|
|
Выход из положения 1 : - перекючателем 312 отключить секцию №1 ; |
|
|
Выход из положения 2: - пфеключагель 312 установить в положение «Разгон СП»; - следовать на всех соединениях, с 1-й позиции «СП» соединение; |
Продолжение таблицы 32
|
лк |
Выход из положения, когда ЛК остался включённым |
|
30-1 |
Признаки: - при переходе с «С» на «СП» соединение большой бросок тока по килоамперметру цепи 1 - 2 ТЭД, возможно отключение КВ по блинкеру 025; |
|
Выход из положения 1 : - исключить со схемы 1 - 2 ТЭД; - следовать на всех соединениях; |
|
|
Выход из положения 2: - переключатель 312 установить в положение «Разгон СП»; - ПБК выбирать только до 20-й позиции; |
|
|
30-2 |
Признаки: - при переходе с «С» на «СП» соединение большой бросок тока по кА (7 - 8 ТЭД), возможно отключение БВ по блинкеру 026; |
|
Выход из положения 1 : - исключить со схемы 7-8 ТЭД; - следовать на всех соединениях; |
|
|
Выход из положения 2: - переключатель 312 установить в положение «Разгон СП»; - ПБК выбирать только до 20-й позиции; |
|
|
31-1 |
Признаки: - при переходе с «СП» на «П» соединение происходит сброс ПБК 330 на 38 позицию «СП» соединения независимо от присутствия или отсутствия диода 424: |
|
Пояснение: при этой неисправности переключателем 312 запрещается устанавливать положение: - «Разгон СП»; - «Отключать секцию №2»; |
|
|
Выход из положения 1 : - отключить в секции №1 любую пару ТЭД; - следовать на всех соединениях; |
|
|
Выход из положения 2: - неисправность не устранять; - следовать на «С - СП» соединениях; |
Продолжение таблицы 32
|
лк |
Выход из положения, когда ЛК остался включённым |
|
31-2 |
Признаки: - при переходе с «СП» на «П» соединение происходит сброс ПБК 330 на 38 позицию «СП» соединения независимо от присутствия или отсутствия диода 424; |
|
Пояснение: - при этой неисправности переключателем 312 запрещается устанавливать положение: - «Разгон СП»; - «Отключать секцию №1»; |
|
|
Выход из положения 1: - отключить в секции №2 любую пару ТЭД; - следовать на всех соединениях; |
|
|
Выход из положения 2: - неисправность не устранять; - следовать на «С - СП» соединениях; |
|
|
40-1 |
Признаки: - на 1-й позиции и «С» соединении 1-2 ТЭД не в тяге и работает в генераторном режиме; |
|
Пояснение: - при этой неисправности переключателем 312 запрещается устанавливать положение: - «Разгон СП»; - «Отключать секцию №2»; |
|
|
Выход из положения Т. - отключить со схемы 1 - 2 ТЭД; |
|
|
Выход из положения 2: - отнять от ЛК 40 в секции №1 одну из шин (входную или выводную, см. рис. 179) и отогнуть в сторону; - на «П» соединении в работе шесть ТЭД; |
|
|
40-2 |
Признаки: - на 1-й позиции отключают оба БВ по блинкеру 015; |
|
Пояснение: - при этой неисправности переключателем 312 запрещается устанавливать положение: - «Разгон СП»; - «Отключать секцию №1»; |
|
Продолжение таблицы 3. |
|
|
ЛК |
Выход из положения, ! когда ЛК остался включённым |
|
40-2 |
Выход из положения 1: - исключить со схемы 5-6 ТЭД; |
|
Выход из положения 2: - отнять от Л К 40 в секции №2 одну из шин (входную или выводную, см. рис. 179) и отогнуть в сторону; - на «II» соединении в работе шесть ТЭД; |
|
|
41-1 |
Признаки: - при переходе с «С» на «СП» соединении бросок тока по первому кА; - на «П» соединении 3-4 ТЭД не в тяге; |
|
Пояснение: - на «СП» соединении 1-я и 2-я группы пусковых сопротивлений работают параллельно, но при наборе позиций 1-я группа пусковых сопротивлений выводится, а 2-я группа сопротивлений остаётся не выведенной; - на «П» соединении ЛК 40-1 не включится. |
|
|
Выход из положения Г. - отключить со схемы 3-4 ТЭД; - следовать на всех соединениях; |
|
|
Выход из положения 2: - переключатель 312 установить в положение «Разгон СП»; - ПБК выбирать только до 20-й позиции; |
|
|
41-2 |
Признаки: - на «П» соединении 5-6 ТЭД не в тяге; |
|
Пояснение: - на «П» соединении ЛК 40-2 не включится. |
|
|
Выход из положения 1: - отключить со схемы 5-6 ТЭД; - следовать на всех соединениях; |
|
|
Выход из положения 2: - переключатель 312 установить в положение «Разгон СП»; - ПБК выбирать только до 20-й позиции; |
|
|
57-1 |
Признаки: - при перехоле с «СП» на «С» соединение первый кА показывает ток; |
Продолжение таблицы 32
|
ЛК |
Выход из положения, когда ЛК остался включённым |
|
57-1 |
- при трогании поезда с места большой бросок тока по цепи 1 - 2 ТЭД с отключением БВ1 по блинкеру 025. |
|
Выход из положения Г. - отключить со схемы 1 - 2 ТЭД; - следовать на всех соединениях; |
|
|
Выход из положения 2: - от ЛК 57 - 1 отнять одну из шин (входную или выводную, см. рис. 178) и отогнуть в сторону; - переключатель 312 установить в положение «Разгон СП»; |
|
|
57-2 j |
Признаки: - при трогании поезда с места большой бросок тока по цепи 7-8 ТЭД с отключением обеих БВ по блинкеру 015, 026; - при переходе с «СП» на «С» соединение отключат оба БВ по блинкеру 015. |
|
Выход из положения Т. - отключить со схемы 7-8 ТЭД; - следовать на всех соединениях; |
|
|
Выход из положения 2: - от ЛК 57-2 отнять одну из шин (входную или выводную, см. рис. 178) и отогнуть в сторону; - переключатель 312 установить в положение «Разгон СП»; - на «П» соединении в работе шесть ТЭД, 7-8 ТЭД не в тяге; |
|
|
58-1 |
Признаки: - при переходе на «П» соединение бросок тока по четвёртому килоамперметру; - при переходе на «П» соединение отключит БВ1 по блинкеру 025. |
|
Пояснение: - на «С» соединении шунтируется: - 1 -я и 2-я группы пусковых сопротивлений и 3 - 4 ТЭД; - при переходе на «П» соединение 1 - 2 ТЭД ставится под высокое напряжение без пусковых сопротивлений. |
Продолжение таблицы 32
|
лк |
Выход из положения, когда ЛК остался включённым |
|
58-1 |
Выход из положения 1: - отключить со схемы 1 - 2 ТЭД; - следовать на всех соединениях; |
|
Выход из положения 2: - от ЛК 58 - 1 отнять одну из шин (входную или выводную, см. рис. 178) и отогнуть в сторону; - переключатель 312 установить в положение «Разгон СП»; - следовать на всех соединениях; |
|
|
58-2 |
Признаки: - при переходе на «П» соединение бросок тока по второму килоамперметру; - при переходе на «П» соединение отключит БВ2 по блинкеру 026. |
|
Пояснение: - на «С» соединении шунтируются: - 3-я и 4-я группы пусковых сопротивлений и 5 - 6 ТЭД; - при переходе на «П» соединение 7-8 ТЭД ставится под высокое напряжение без пусковых сопротивлений. |
|
|
Выход из положения 1: - отключить со схемы 5-6 ТЭД; - следовать на всех соединениях; |
|
|
Выход из положения 2: - от ЛК 58 - 2 отнять одну из шин (входную или выводную, см. рис. 178) и отогнуть в сторону; - переключатель 312 установить в положение «Разгон СП»; - следовать на всех соединениях; |
|
|
59-1 |
Признаки: - с 1 -й позиции большой бросок тока; - сила тяги реализуется медленно; |
|
Пояснение: - с 1-й по 20-ю позиции в режиме тяги только секция №1; - с 1-й по 20-ю позиции в режиме тяги секция №2 работает в генераторном режиме; |
Продолжение таблицы 32
|
лк |
Выход из положения, когда ЛК остался включённым |
|
59-1 |
Выход из положения 1 : - исключить со схемы 3-4 ТЭД; - следовать на всех соединениях; |
|
Выход из положения 2: - переключатель 312 установить в положение «Разгон СП»; - следовать на всех соединениях; - с 1-й позиции «СП» соединение; |
|
|
59-2 i l |
Признаки: - с 1-Й позиции большой бросок тока по цепи ТЭД секции №2 с отключением БВ обеих секций по блинкеру 015; - при переходе с «СП» на «С» соединение отключат оба БВ по блинкеру 015; |
|
Пояснение: - при сбросе ПБК 330 с 38 по 21 позиции «СП» соединения отсутствует снижение тока секции №2 по четвёртому килоамперметру; |
|
|
Выход из положения 1 : - исключить со схемы 5-6 ТЭД; - следовать на всех соединениях; |
|
|
Выход из положения 2: - переключатель 312 установить в положение «Разгон СП»; - следовать на всех соединениях; - с 1-й позиции «СП» соединение; |
|
|
60-1 |
Признаки: - при переходе на «СП» соединение отключат оба БВ по блинкеру 015; |
|
Выход из положения 1 : - от ЛК 60 - 1 отнять одну из шин (входную или выводную, см. рис. 178) и отогнуть в сторону; - переключатель 312 установить в положение «Разгон СП»; - следовать на всех соединениях; Выход из положения 2: - переключателем 312 отключить любую секцию №1 или №2 |
Продолжение таблицы 32
|
Г лк |
Выход из положения, когда ЛК остался включённым |
|
60-2 |
Признаки: - при переходе на «СП» соединение отключат оба БВ по блинкеру 015; |
|
Выход из положения 1: - от Л К 60-2 отнять один из кабелей 0112 или 0102 (входной или выводной, см. рис.178) и заизолировать; - переключатель 312 установить в положение «Разгон СП»; - следовать на всех соединениях; |
|
|
Выход из положения 2: - переключателем 312 отключить секцию №1 или секцию №2. |
При сбросе ПБК на «0» позицию не получает питание электромагнитная защелка 304 и нет возможности перевести реверсивную рукоятку в «0» положение. Причина:
- не получает питание реле «0» тока 323 - 324 той секции, где ЛК остался включенным;
- если при этой неисправности отключится БВ, то для его включения, необходимо:
Выход из положения:
- произвести сброс ПБК 330 до «0» позиции;
- восстановить блинкерные сигнализаторы табло 802;
- в секции, где отключено БВ, контактор 400 включить приудитслыю;
- БВ, при необходимости, включать с пульта управления только после проверки в том, что ПБК 330 находится на «0» позиции.
ИСКЛЮЧЕНИЕ ИЗ СХЕМЫ поврежденных линейных контакторов током КЗ
При повреждении током КЗ любого контактора, для исключения его из работы необходимо:
- отнять от входной и выводной шины подводящие кабели (шины), отвести их в стороны, обеспечив надёжную изоляцию от повреждённого контактора.

Рис. 178 Подсоединение силовых кабелей к клеммам А1 и А2
Таблица 33
|
лк |
Исключение из схемы поврежденных ЛК |
|
29-1 |
Выход из положения 1: - отнять от Л К 29-1 кабели 0081 и 0091; - отнятые кабели соединить вместе и заизолировать; - следовать на всех соединениях. |
|
Выход из положения 2: - перекрыть краник 1017/1 (вкпючения БВ1); - переключателем 312 отключить секцию №1; - контактор 400-1 включить принудительно; - переключатель 200-1 установить в положение «ВЭ»; - защита силовых цепей вспомогательных машин только собственной вставкой ВВК; |
|
|
29-2 |
Выход из положения 1: - переключателем 312 отключить секцию №2; Выход из положения 2: - отнять от ЛК 29-2 входную и выводную шины и отогнуть их в стороны; - вставить нож 078-2 (средний) ввода электровоза под низким напряжением в депо; |
Продолжение таблицы 33
|
ЛК |
Исключение из схемы поврежденных ЛК |
|
|
29-2 2 |
- для включения реле 485-2 на ЦКР 2 соединить перемычкой провода: |
|
|
Е5-Е7 6242-5912 |
||
|
Е9 ; 6242 - 2420 |
||
|
- переключателем 312 установить положение «Разгон СП»; - ПБК выбирать только до 20-й позиции с током нагрузки не более 400 А; |
||
|
30-1 |
Выход из положения 1: - отключить со схемы 1 - 2 ТЭД; |
|
|
30-2 |
Выход из положения 1. - отключить со схемы 7-8 ТЭД; |
|
|
31-1 |
Выход из положения 1: - от клеммы AI ЛК 31-1 отнять кабель 0831 и заизолировать; - отключить со схемы 3-4 ТЭД; - следовать на всех соединениях. |
|
|
Выход из положения 2: - от ЛК 31-1 отнять входной и выводной кабели и заизолировать; на ПБК 330 ведущей секции соединить перемычками клеммы 34 - 40 - 48; - переключателем 312 установить положение «Разгон СП»; - ПБК выбирать только до 20-й позиции; |
||
|
Выход из положения 3: - от клеммы А2 ЛК 31-1 отнять кабель 0581 и заизолировать; - отключить со схемы 1 - 2 ТЭД; - следовать на всех соединениях. |
||
|
31 - 2 |
Выход из положения 1: - от ЛК 31-2 отнять входной и выводной кабели и заизолировать; на ПБК 330 ведущей секции соединить перемычками клеммы 34 - 40 - 48; - переключателем 312 установить положение «Разгон СП»; - ПБК выбирать только до 20-й позиции; |
|
Продолжение таблицы 33
|
лк |
Исключение из схемы поврежденных ЛК |
|
31-2 |
Выход из положения 2: - от клеммы AI ЛК 31-2 отнять кабель 0292 и заизолировать; - отключить со схемы 7-8 ТЭД; - следовать на всех соединениях. |
|
Выход из положения 3. - от клеммы А2 ЛК 31-2 отнять кабель 0312 и заизолировать; - отключить со схемы 5-6 ТЭД; - следовать на всех соединениях. |
|
|
40-1 |
Выход из положения Г. - от клеммы А2 (Е5 - El) ЛК 40-1 от клеммы AI (Е9) ЛК 40-1 отнять шину 0081 и отогнуть ее в стороны; - отключить со схемы 3-4 ТЭД; - следовать на всех соединениях. |
|
Выход из положения 2: - перекрыть краник 1017-1 на включение БВ; - переключатель 200-1 установить в положение «ВЭ» временной эксплуатации; - переключателем 312 отключить секцию № 1; - контактор 400-1 включить принудительно; |
|
|
40-2 |
Выход из положения 1: - переключателем 312 отключить секцию №2; |
|
Выход из положения 2: - от клеммы А2 ЛК 40-2 отнять шину 0442 и отогнуть ее в сторону; - отключить со схемы 5-6 ТЭД; - следовать на всех соединениях; |
|
|
Выход из положения 3: - от ЛК 40-2 отнять входную и выводную шины и отвести их в стороны; - следовать на всех соединениях; - на «П» соединении 5-6 ТЭД не в тяге. |
|
|
41 -1 |
Выход из положения 1: Е5 - Е7 - от клеммы А2 - ЛК 41-1 Е9 - от клеммы AI - ЛК 41-1 отнять шину 0451 и отогнуть ее в сторону; - отключить со схемы 3-4 ТЭД; |
Продолжение таблицы 33
|
лк |
Исключение из схемы поврежденных ЛК |
|
- следовать на всех соединениях; |
|
|
1 1 1 41 -1 |
Выход из положения 2: - от клеммы А1 - Л К 41-1 отнять шину 0441 и отогнуть ее в сторону; - отключить со схемы 1 - 2 ТЭД; - следовать на всех соединениях; |
|
41-2 |
Выход из положения 1: Е5 - Е7 - от клеммы А2 - ЛК 41-2; Е9 - от клеммы А1 - ЛК 41-2 отнять шину 0252 и отогнуть ее в сторону; - отключить со схемы 7-8 ТЭД; - следовать на всех соединениях; |
|
Выход из положения 2: - от клеммы А1 - ЛК 41-2 отнять шину 0882 и отогнуть ее в сторону; - отключить со схемы 5-6 ТЭД; - следовать на всех соединениях; |
|
|
57-1 |
Выход из положения 1: - от клеммы А2 - ЛК 57-1 отнять шину 0321 и отогнуть ее в сторону; - отключить со схемы 1 - 2 ТЭД; - следовать на всех соединениях; |
|
Выход из положения 2: - от ЛК 57-1 отнять входную и выводную шины и отвести их в стороны; - переключателем 312 установить положение «Разгон СП»; - с 1 -й позиции «СП» соединение; - на «П» соединении 1 - 2 ТЭД не в тяге; |
|
|
57-2 |
Выход из положения 1 : Е5 - Е7 - от клеммы А2 - ЛК 57-2 Е9 - от клеммы А1 - ЛК 57-2 отнять шину 0082 и отог нуть ее в сторону; - отключить со схемы 7-8 ТЭД; - следовать на всех соединениях; |
|
Выход из положения 2: - от ЛК 57-2 отнять входную и выводную шины и отвести их в стороны; |
Продолжение таблицы 33
|
лк |
Исключение из схемы поврежденных ЛК |
|
57-2 |
- переключателем 312 установить положение «Разгон СП»; - с 1-й позиции «СП» соединение; |
|
58-1 |
Выход из положения 1: £5 -Е7 - от клеммы А1 - ЛК 57-1 Е9 - от клеммы А2 - ЛК 57-1 отнять шину 0301 и отогнуть ее в сторону; - отключить со схемы 3-4 ТЭД; - следовать на всех соединениях; |
|
Выход из положения 2: - от ЛК 58-1 отнять входную и выводную шины и отогнуть их в стороны; - переключателем 312 установить положение «Разгон СП»; - с 1 -й позиции «СП» соединение; |
|
|
58-2 |
ВыхоД из положения 1: Е5 - £7 - от клеммы А1 ЛК 58-2 Е9 - от клеммы А2 ЛК 58-2 отнять шину 0092 и отогнуть ее в сторону; - отключить со схемы 7-8 ТЭД; |
|
Выход из положения 2: Е5 - Е7 - от клеммы А2 Ж 58-2 Е9 - от клеммы А1 ЛК 58-2 отнять шину 0562 и отогнуть ее в сторону; - отключить со схемы 5-6 ТЭД; |
|
|
Выход из положения 3: - от ЛК 58-2 отнять входную и выводную шины и отвести их в стороны; - переключателем 312 установить положение «Разгон СП»; - с 1-й позиции «СП» соединение; |
|
|
59-1 |
Выход из положения 1: - от ЛК 59-1 отнять входную и выводную шины и отогнуть их в стороны; - отключить со схемы 3-4 ТЭД; - следовать на всех соединениях; |
|
Выход из положения 2: Е5 - Е7 - от клеммы А1 ЛК 59-1 Е9 - от клеммы А2 Л К 59-1 отнять шину 0741 и |
Продолжение таблицы 33
|
ЛК |
Исключение из схемы поврежденных ЛК |
|
I 59-1 |
отогнуть ее в сторону; - отключить со схемы 3-4 ТЭД; - следовать на всех соединениях. |
|
59-2 |
Выход из положения 1: - перекрыть краник 1017-2 включения БВ2; - контактор 400-2 включить принудительно; - переключатель 200-2 установить в положение «ВЭ» (временной эксплуатации); - переключателем 312 отключить секцию №2; |
|
Выход из положения 2: Е5-Е7- от клеммы А1 ЛК 59-2 Е9 - от клеммы А2 ЛК 59-2 отнять шину 0082 и отогнуть ее в сторону; - отключить со схемы 5-6 ТЭД; - следовать на всех соединениях. |
|
|
60-1 |
Выход из положения 1: - от Л К 60-1 отнять входную и выводную ШИНЫ и отогнуть их в стороны; - переключателем 312 установить положение «Разгон СП»; - с 1 -й позиции «СП» соединение; |
|
Выход из положения 2: Е5 - £7 - отнять кабель 0751 и заизолировать (в проходе от ПБК, на уровне полика — 10-й по счёту, см. рис. 179); - отключить со схемы 3-4 ТЭД; - следовать на всех соединениях. |
|
|
Выход из положения 2: Е9 - от клеммы 37 отнять кабель 0751 и заизолировать (в проходе от ПБК, на уровне полика — 10-й по счёту, при этом учитывать только клеммы с подводящими кабелями, см.рис.181); - отключить со схемы 3-4 ТЭД; - следовать на всех соединениях. |
|
|
60-2 |
Выход из положения 1: - при заходе в средний проход ВВК 2 (со стороны ПБК), на уровне проходного мостика слева от второй и третьей шины отнять кабели 0112 и 0102 и заизолировать их (см.рис.180); |
Продолжение таблицы 33
|
ЛК |
Исключение из схемы поврежденных ЛК |
|
60-2 |
- переключателем 312 установить положение «Разгон СП»; - с 1 -й позиции «СП» соединение; |
|
Выход из положения 2: - в ВВК 2 отнять кабель 0112 (от ЛК 60-2 или от второй по счёту клеммы при заходе в средний проход ВВК 2, на уровне проходного мостика слева) и заизолировать (см. рис. 182); - переключателем 312 отключить секцию №2; |

Рис. 179 Клеммы подсоединения силовых кабелей к шинам ВВК 1

Рис.180 Клеммы подсоединения силовых кабелей к шинам ВВК 2

Рис. 18! Клеммы подсоединения силовых кабелей к шинам ВВК 1

Рис. 182 Клеммы подсоединения силовых кабелей к гиинам ВВК 2
|
|