3.7 Питание цепей управления, освещения и сигнализации
Цепи управления питаются постоянным током напряжением 50 В, которое вырабатывается генераторами тока управления 502, 503. При неработающих генераторах источником тока является аккумуляторная батарея 506. Питание цепей от источников тока производится через контакты автоматического защитного выключателя 566.
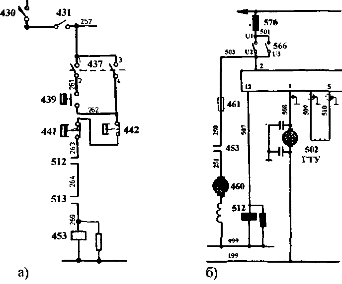
При включении АЗВ 566 (рис.51) напряжение от А.Б. поступает по следующей цепи: На электровозах серии Е5:
- «Плюс» А.Б. 506, провод 512, контакты АЗВ 566, провод 514, зажим вывода «З» РЩ 500, зажим вывода «2» РЩ 500, провод 503, контакты АЗВ 566, провод 501, резистор 576, провод
5000;
- зажим вывода «7» РЩ 500, провод 199, контакты АЗВ 566, провод 513, «Минус» А.Б. 506.

Рис.51 РЩ 500 цепи управления от источников тока выключателя
566 на электровозах серии Е5
На электровозах серии Е6 - Е9 (цепь №1):
- «Плюс» А.Б. 506, провод 511, 100А предохранитель 568 (плюса А.Б.), провод 512, контакты «V2 - VI» АЗВ 566, провод 514, зажим вывода «З» РЩ 500, зажим вывода «2» РЩ 500, провод 503, контакты «U3 - U1» АЗВ 566, провод 501, резистор 576, провод 5000;
- зажим вывода «7» РЩ 500, провод 199, 100А предохранитель
567 (минуса А.Б.), провод 850, контакты «W2 - W1» АЗВ 566, провод 513, «Минус» А.Б. 506.
На электровозах серии Е6 - Е9 (цепь №2):
- «Плюс» А.Б. 506, провод 511, 100А предохранитель 568 (плюса А.Б.), провод 512, контакты «V3 - VI» АЗВ 566, провод 514, зажим вывода «3» РЩ 500, зажим вывода «2» РЩ 500, провод 503, контакты «U3 - U1» АЗВ 566, провод 501, резистор 576, провод 5000.
• зажим вывода «7» РЩ 500, провод 199, 100А предохранитель 567 (минуса А.Б.). провод 850, добавочная А.Б. 507, провод 519, контакты «W3 - Wl» АЗВ 566, провод 513, «Минус» А.Б. 506.

Рис.52 РЩ 500 цепи управления от источников тока выключателя 566 на электровозах серии Е6 — Е9
Резистор 576 предназначен для ограничения тока при коротком замыкании в проводе 5000.
От провода 5000 получают питание все цепи управления, сигнализации, освещения, за исключением цепей, питание к которым поступает от провода 514.
От провода 514 получают питание:
а) импульсный преобразователь для питания обмоток возбуждения тяговых электродвигателей в режиме ЭДТ по цепи (рис.50):
- провод 5141, контактор 0991, провод 0771, зажим «С» импульсного преобразователя 1001;
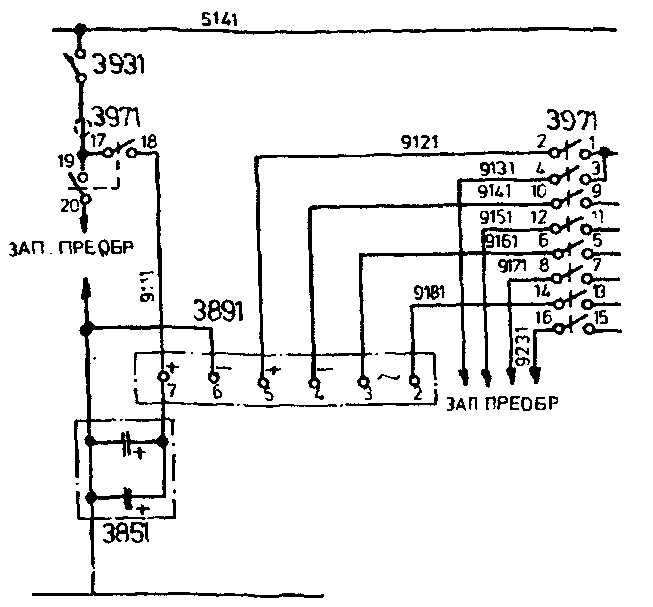
б) блок управления и преобразователь ЭПТ по цепи (рис. 53):
- провод 5141, АЗВ 3931, контакты 17-18 переключателя ЭПТ 3971, провод 9111, зажим «7» блока управления ЭПТ;
в) радиостанция по цепи (рис. 54):
• провод 5141, АЗВ 8951, переключатель 8961, блоки радиостанции.

Рис.53 Схема цепи питания преобразователя ЭПТ3891

Рис.54 Схема цепей питания радиостанции
Питание ЭПТ и радиостанции осуществляется только от
аккумуляторной батареи секции №1.
При включении мотор-вентиляторов питание низковольтных цепей происходит от ГТУ по цепи (рис.51, 52):
- плюсовый зажим ГТУ 5021 (503), провод 505 (517), зажим вывода «1(4)» РЩ 500, предохранитель на 80А, зажим вывода «2» РЩ, контакты АЗВ 566, провод 501, резистор 576, провод 5000.
От зажима вывода «2» РЩ 500 получает также питание двигатель кондиционера по цепи (рис.55, б):
- провод 503, предохранитель 461, провод 250, контактор 453 двигателя кондиционера воздуха, провод 251, обмотка якоря двигателя 460, обмотка возбуждения «D1 - D2» двигателя, провод 999.
При нормально работающих ГТУ 502, 503 и РЩ 500 от зажимов выводов «12» и «14» РЩ 500 получают питание реле сигнализации работы ГТУ 512, 513 (рис.51. 52).

Рис.55 Схема питания цепей кондиционера
3.8 Цепи включения вспомогательного компрессора
|
|