На тормозные характеристики электровоза в режиме реостатного торможения (см. рис. 2) накладываются различные ограничения. В диапазоне скорости от максимального значения до 85 км/ч наибольшая тормозная сила ограничена мощностью тормозных резисторов, длительно допустимый ток которых равен 500 А. Следовательно, для полного использования тормозных возможностей электровоза в этом случае необходимо поддерживать ток якоря постоянным и равным указанному току резисторов. Так как резисторы выполнены нерегулируемыми, в процессе снижения скорости, для того чтобы сохранить ток якоря неизменным, требуется непрерывно регулировать ток возбуждения, который при максимальной скорости составляет 170 А. От скорости 85 до 45—50 км/ч, при которой реостатный тормоз замешается пневматическим, тормозная характеристика ограничивается максимальным током возбуждения 500 А. В интервале, где поддерживается такой ток возбуждения, со снижением скорости происходит уменьшение тока якоря от 500 до 270 А при неизменном токе возбуждения- Ограничения тормозной силы по токам якоря и возбуждения тяговых двигателей определяют предельную область тормозных характеристик.
Кроме того, введено ограничение тормозной силы по сцеплению. Изменение тормозной силы при этом происходит в соответствии с зависимостью коэффициента сцепления Ч/к от -скорости движения — с кривой 1 на рис. 2.
Хотя эта кривая построена для неблагоприятных условий (без учета повышения Чгк подачей песка) возможно большее снижение коэффициента сцепления в эксплуатации. Поэтому предусмотрены четыре ступени ограничения тормозной силы; выбирает ступень машинист в зависимости от конкретных условий сцепления. Реализация тормозной силы по предельным ограничениям возможна при хороших условиях сцепления, а в случае неблагоприятных условий — при периодической подаче песка.
При ручном регулировании тормозной силы трудно обеспечить полное использование тормозных возможностей электровоза и нс выйти за пределы максимальных нагрузок, что особенно опасно в диапазоне высоких скоростей, когда тормозная сила ограничивается мощностью резисторов.
На пассажирских локомотивах, электрический тормоз которых предназначен прежде всего для режимов остановочного торможения, непрерывное изменение токов возбуждения и якоря, обеспечивающее получение предельных значений тормозной силы во всем диапазоне скоростей можно осуществлять только с помощью устройств автоматического регулирования Кроме того, большое значение для обеспечения необходимой плавности торможения по условиям комфортабельности проезда пассажиров имеет темп нарастания тормозной силы в момент включения тормоза. Система автоматического регулирования позволяет получить требуемое изменение тормозной силы и в этом режиме.
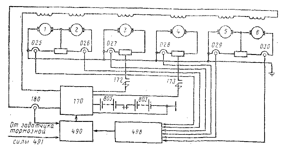
На электровозах ЧС2Т применена система автоматического регулирования торможения (САРТ). Основные узлы САРТ (рис. 91) и их функции следующие. От статического возбудителя на тиристорах 170 получают питание шесть последовательно включенных обмоток возбуждения тяговых двигателей. Возбудитель обеспечивает плавное бесконтактное регулирование тока. Питание его постоянным напряжением осуществляется в начале и в конце торможения от двух последовательно соединенных аккумуляторных батарей 803 и 805, а в остальное время — от э. д. с. якоря, для чего возбудитель подключается к части тормозных резисторов тяговых двигателей 3 и 4 контакторами 172 и 173.
Электронный регулятор 490 обеспечивает автоматическое регулирование процесса торможения по сигналам задатчика тормозной силы 49], датчиков токов всех шести якорей 025 -030 (сигналы датчиков токов поступают в преобразователь 498), датчика тока возбуждения 180. Кроме того, в регулятор 490 вводятся сигналы от скоростного регулятора «Дако», реле защит цепей реостатного тормоза, блока противогазной защиты и др.

Рис. 91. Структурная система автоматического регулирования тормозной силы
|
|