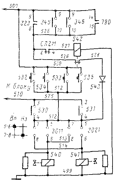
Подача песка под колеса осуществляется при возбуждении электропиевматических вентилей 540, 541 (рис. 23), напряжение к катушкам которых от провода 500 молено подать с помощью ножной педали 534(535), установленной со стороны машиниста, или кнопки 532(533) — со стороны помощника машиниста. Последовательно с катушками вентилей песочниц включены блок-контакты 5-6 и 7-8 реверсивного барабана 3011(3021), включающие в зависимости от направления движения соответствующий вентиль. Автоматическая подача песка происходит в случае срабатывания блока 510 при включенном переключателе 530(531), а также в случае возникновения следующих аварийных ситуаций:

Рис. 23. Схема цепей управления эле-ктропнввматичесйшми вентилями песочниц

Рис. 24. Схема цепей управления эле-итропнсвматичсскими вентилями звуковых сигналов
при срабатывании вспомогательного реле 790 (замыкаются контакты 14-15) автоматической локомотивной сигнализации (АЛСН), приведении в действие аварийного выключателя «Стоп» 345 (346) (контакты 9-10) и при экстренном торможении (контакты 5-6 реле 323). В аварийных ситуациях напряжение от провода 500 через одни из указанных параллельно соединенных контактов подводится к катушке вспомогательного реле 542 через контакты 2-4 'скоростемера типа СЛ2М, которые размыкаются при скорости движения электровоза менее 10 км/ч. Этим предотвращается неоправданная подача песка после остановки локомотива.
Для подачи звуковых сигналов на электровозе установлены тифоны 559, 560 и свистки 563, 564 (рис. 24). При нажатии на ножную педаль 555 (556) одновременно возбуждаются вентили тифо-нов и свистков. Машинист мо-жет также управлять вентиля-' ми свистков с помощью кнопки 557 (558), расположенной у окна, и кнопки 3015 (3025), вмонтированной в штурвал контроллера. Со стороны помощника машиниста расположены кнопки 536 (537) для управления вентилями тифо-нов и кнопка 561 (562) — свистков. Все звуковые сигналы включаются после срабатывания аварийного выключателя «Стоп» 345 (346), контакты 5-6 и 7-8 которых включены в цепь катушек вентилей соответственно ти-фонов и свистков.
К цепям освещения (рис. 25) относятся цепи светильников внутри и снаружи электровоза, буферных фонарей, прожекторов, а также розеток. Для освещения кабины машиниста напряжение от провода 800 через АЗ В 605(606) подводится к переключателям 622(623) и 624(625), с помощью которых можно включить: лампы белого 653, 654, (660, 661) и одну зеленого света 655(662), установленные на потолке; девять ламп 663(664) освещения измерительных приборов с реостатом 682(683) для регулирования степени освещенности; лампу 665 (666) для освещения стола со стороны помощника машиниста.
Машинное помещение и высоковольтную камеру освещают 27 светильников 650 и одна лампа 3038 на контроллере 303, напряжение на которые недается от АЗВ 604 через переключатели 617, 618, расположенные в поперечных коридорах с каждой стороны'электровоза. Начиная с электровоза ЧС2Т-1025, включение светильников 650 разделено: переключателями 618(619) включаются 10 светильников продольного коридора, а переключателями 677 (616)—-17 светильников высоковольтной камеры. Для освещения поперечных коридоров предназначены светильники 651(652). Переключателем 628(629) можно включить светильники 668(669), установленные в шкафах с аппаратами управления. Для освещения ходовых частей использовано 8 светильников 667, включение и выключение которых производятся переключателями 626, 627 с любого конца электровоза. Для проверки диодов предназначена розетка 673, включенная параллельно переключателю 628 (629),

Рис. 25. Схема цепей освещения электровоза
а для переносных ламп — 11 розеток 670—672, напряжение к которым подводится через АЗВ 600.
Буферные фонари белого и красного света 642, 644 ( 646,648) и 643, 645 (647, 649) можно включать и выключать переключателями 612(614) и 613(165). Для управления прожектором 638(639) предусмотрен переключатель 610(611), в одном из положений которого резистор 677(678) в цепи питания лампы шунтирован (яркость полная), а в другом — полностью введен.
|
|