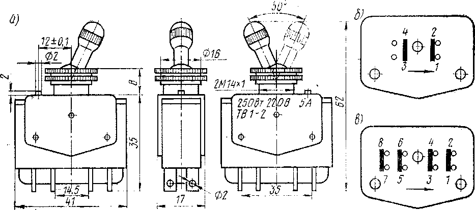
- Переключатели мгновенного действия ТВ1 (рис. 95, а) применяют в устройствах автоматики для коммутации электрических цепей управления и сигнализации. На рис. 95, б дана схема коммутации переключателя ТВ1-1, на рис. 95, в — ТВ1-2. Технические данные переключателей:
Тип переключателя....., ТВ 1-1 ТВ 1-2
Номинальный ток, А . . . . 5 2
Номинальное напряжение, В . 220 220
Отключаемая мощность, Вт . 250 220
Масса, кг........ 0,035
Износоустойчивость, число переключений ....... 10 000

Рис. 95. Переключатели ТВ1-1, ТВ1-2 (а) и схемы их коммутации (б, в)
Переключатель ТВ 1-1 имеет один размыкающий и один замыкающий контакт ТВ 1-2—- два размыкающих и два замыкающих контакта.
Переключатели мгновенного действия применены в качестве сле-^ дующих выключателей: Освещение, Освещение кабины, Маршрутный фонарь, Сигналы верхние — нижний, Буферные фонари, Радиосвязь, ЭПТ. Освещение скоростемера, В к и Дз.
|
|