Реле Р-103 (по схеме РП1—РП2) используют в силовых цепях в качестве защитного от перегрузки. Реле Р403 работают в сочетании с реле Р-102. Последнее осуществляет функцию механизма возврата. Конструкция из двух реле при срабатывании одного из них остается в положении последнего включения (становится на защелку или освобождает от защелки якорь механизма возврата), возврат может быть ручной или электрический.
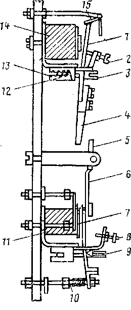
Реле (рис. 87) имеет Г-образный магнитопровод. К якорю / прикреплена изоляционная тяга, обеспечивающая необходимую изоляцию между высоковольтной катушкой 14 и механизмом возврата. На якоре 7 реле возврата установлены три контактных мостика 10.
Технические данные реле Р-103:
Номинальное напряжение .... 3000 В
Ток срабатывания......, 600+20 А
Провод катушки........_ МГМ 4X15 мм
Число витков......... 3
Длительный ток........ 250 А
Технические данные реле Р-102:
Катушка:
номинальное напряжение ... ПО В
ток срабатывания, не более . . 0,42 А
сопротивление при 20° С ... 119...135 Ом
провод..........' ПЭЛ 0 0.25 мм
число витков........ 3610
Б л о к-к онт акты:
число...........два замыкающих -
один размыкающий
длительный ток....... 20 Л
нажатие......... 2...3 Н
(0,2...0,3 кгс)
раствор:
вертикальных верхних . . . 4+2 мм • вертикальных нижних ... не менее 1 мм '
суммарный....... не менее 5 мм
провал.......... 2,5±1 мм
раствор горизонтальных нижних 3+2 мм
Регулировке подлежит реле, смонтированное на панели совместно с. механизмом возврата. Перед регулировкой выполните работы, указанные на стр. 182. Порядок регулировки следующий:
якорь .реле возврата заприте защелкой 6" механизма возврата;
подайте питание на катушку реле перегрузки от источника тока с плавной регулировкой тока до 650 А;
при плавном изменении тока с помощью регулировочного винта 2 и пружины 12 отрегулируйте ток срабатывания реле в соответствии с техническими данными; .
добейтесь четкого срабатывания реле;
проверьте уставку реле не менее трех раз;
регулировочные винты зафиксируйте контргайками, нанесите риски красной эмалью ГФ-92ХК по ГОСТ 9151—75. Регулировочную гайку отключающей пружины запломбируйте;
для регулировки реле используйте источник выпрямленного (по двухполупериодной схеме) напряжения;

Рис. 87. Реле перегрузки Р-103/Р-102:
/ — якорь; 2 — регулировочный винт; 3 — гайка регулировочная; 4 — планка изоляционная; 5 — упор валика; 6 — защелка; 7 — якорь; 8 —- регулировочный винт реле возврата; 9 — гайка регулировочная; 10— мостик контактный; 11 — катушка реле возврата; 12 — пружина; 13 — шкала; 14 — высоковольтная катушка; 15 — флажок сигнальный
регулировку реле возврата выполните от источника тока с плавной регулировкой напряжения от 100 В в той же последовательности, что и реле перегрузки, руководствуясь техническими данными.
|
|