Назначение и технические данные. Трансформатор 1ТР.071 пред-» назначен для исключения электрического соединения между цепями
управления и заземленными частями в системе питания цепей управления. Технические данные трансформатора 1ТР.071:
Мощность............. 9 кВ-А
Частота........-...... 50 Гц
Род тока............. переменный
Марка стали........... . Э12
Площадь сечения сердечника..... 80 см2
Объем масла............ 35 л
К. п. д............... 95%
Масса без масла, не более....... 125 кг
Первичная обмотка (wBXJ:
номинальное напряжение..... 220 В
номинальный ток ........ 50 А
, сопротивление при +20° С..... 0,057±0,0057 Ом
число витков.......... 54X2
тип провода ..........v ПБД 2,44X6,9 мм
Вторичная обмотка:
номинальное напряжение ...... 188 В
номинальный ток ........ 50 А
сопротивление при +20° С..... 0,053±0,0053 Ом
число витков:
a)i"............. 23X2
w2............. 23
j w3............. 23
і . Тип провода............ ПБД-2, 44X6,9 мм
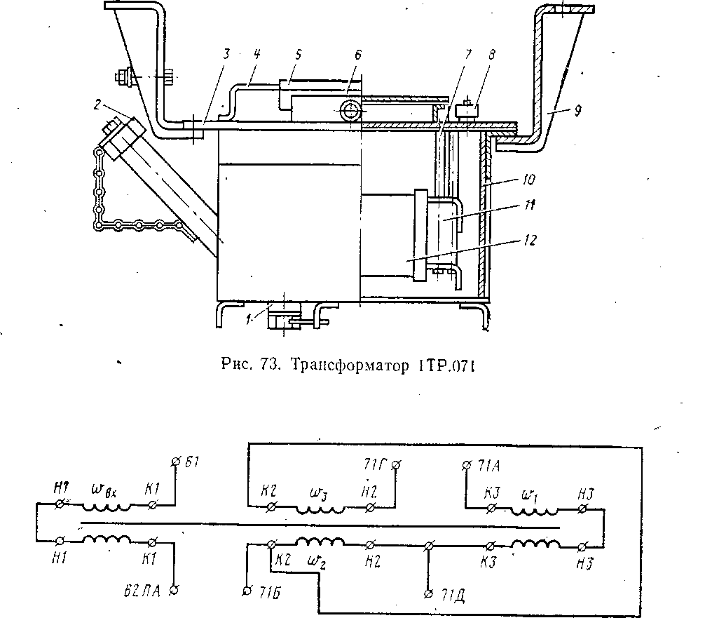
Устройство. Общий вид и схема трансформатфа показаны на рис. 73 и 74. Магнитопровод 11 имеет О-образную форму, набран из отдельных прямоугольных пластин и расположен горизонтально. На каждом стержне магнитопровода имеется катушка 12. Катушки 12 — бескаркасные многослойные. Первичная и вторичная -обмотки состоят ч из двух секций, расположенных в разных катушках. Первой намотана секция первичной обмотки, а затем секция вторичной обмотки. Магнитопровод 11 с катушками 12 подвешивается на стягивающих его
шпильках 7 к крышке 3. На крышке смонтированы выводы. Выводы катушки закрыты коробкой 5, обеспечивающей пылебрызгозащиту выводных зажимов. Трансформатор помещается в баке 10 с трансформаторным маслом ГОСТ 982—68. К баку приварены кронштейны 9 для подвески под вагоном.
Бак имеет сбоку наливной патрубок, к пробке 2 которого прикреплен щуп для контроля уровня масла. На дне бака расположено масло-сливное отверстие, закрытое пробкой 1. На крышке 3 расположены от* верстие для выхода воздуха, закрытое пробкой 8 с отверстиями, и ручки 4 для подъема трансформатора. Бак 10 и пробки 2 и / имеют резиновые-уплотнения, а пробка 8—войлочное. Монтаж проводов осуществляют через втулку 6 коробки 5.
Уход в эксплуатации. За трансформатором 1 ТР.071 уход в эксплуатации аналогичен уходу за дросселем 1ДР.007 (см. стр. 165). Чтобы убедиться в исправности трансформатора, произведите проверку по схеме рис. 75.
Определите ток холостого хода /хх и коэффициент трансформации при питании первичной обмотки переменным напряжением £/пит = = 220 В. Ток холостого хода /хх должен быть не более 4 А.
Коэффициент трансформации определите, контролируя напряжение на вторичной обмотке трансформатора.
Проверьте сопротивление изоляции омметром на 500—1000 В, класс точности 1,0 (например, М1101), между выводами 62ЛА и 71Г и выводами 62ЛА, 71Г и болтом заземления.
Сопротивление изоляции должно быть не менее 1 МОм.
В случае пробоя изоляции (сопротивление изоляции равно нулю) слейте масло, снимите трансформатор с вагона, выньте трансформатор из бака, разъедините межкатушечные соединения и выявите неисправную катушку, измеряя сопротивления изоляции: между секциями обмоток; между выводами обмоток/соединенными между собой, и маг-нитопроводом для каждой катушки в отдельности.
Проверку маслоплотности трансформатора осуществите при слитом масле:
приготовьте мыльный раствор: 50—60 г хозяйственного 60%-ного мыла РТУ 67—64, разрезанного на мелкие куски, на 1 л воды, размешайте кистью до образования пены;
для определения утечки воздуха на сварные швы кистью нанесите мыльный раствор;
подайте в бак-воздух, сжатый до 0,05...0,07 МПа (0,5... 0,7кгс/см2), через отверстие для выхода воздуха, сняв пробку 8 (см. рис. 73) и выдерживая при этом давление не менее 1 мин.
Конструкция считается маслоплотной, если отсутствуют мыльные пузыри, образование которых проверяется визуально.
Характерные неисправности трансформатора 1 ТР.071 и методы их устранения приведены в табл. 16 и далее в тексте.
Замену катушки на новую проводите в следующем порядке:
слейте масло; снимите трансформатор с вагона;
отверните болтовые соединения по периметру крышки и снимите крышку с закрепленным на ней трансформатором;

Рис. 74- Схема трансформатора 1ТР.071

Рис. 75. Схема для проверки исправности трансформатора 1ТР.071 Спит — источник переменного напряжения 10 А, 220 В, 50 Гц- Та - испытуемый трансформатор 1ТР.071; АІ — амперметр электромагнитной системы, класс точности не ниже 1,5, предел измерения 5 А (например, Э381); VI, ГО - вольтметры электромагнитной системы, класс точности не ниже 1,5, предел измерения 300 В (напри-
мер, Э 381) .
Таблица 16
|
Неисправность |
Вероятная причина |
Способ устранения |
|
Завышен ток холосто- |
Межвитковое замыка- |
Выявите неисправную |
|
го хода |
ние в обмотках. |
катушку и замените |
|
Неправильное соедине- |
Устраните согласно рис. |
|
|
ние обмоток |
74 |
|
|
Несоответствие коэф- |
Межвитковое замыка- |
То же |
|
фициента трансформации |
ние в обмотках |
|
|
Неправильное соедине- |
||
|
ние обмоток |
||
|
Обрыв цепи обмоток |
Устраните |
|
|
Занижено сопротивле- |
Качество масла не со- |
Замените |
|
ние изоляции |
ответствует требуемому |
|
|
Повышенная влаж- |
Сушите |
|
|
ность изоляции |
||
|
Нарушена электриче- |
Замыкание выводов на |
Обнаружьте и устра- |
|
ская прочность изоляции |
крышке |
ните |
|
Пробой изоляции ка- |
Выявите неисправную |
|
|
тушки |
катушку и замените |
|
|
Течь масла в баке |
Нарушены сварные |
Выявите место утечки |
|
швы „ |
и устраните |
отсоедините выводы катушек от выводных зажимов, расположенных на крышке;
снимите трансформатор с крышки; разъедините межкатушечные соединения.
выньте шпильки, стягивающие пакет сердечника; расшихтуйте магнитопровод и замените катушку на новую; зашихтуйте магнитопровод; стяните магнитопровод шпильками; соедините выводы обмоток (см. рис. 74); прикрепите трансформатор к крышке;
присоедините выводы катушек к выводным зажимам, расположенным на крышке;
опустите крышку с закрепленным на ней трансформатором в бак и затяни-те болты по периметру крышки;
залейте трансформаторное масло до уровня;
трансформатор подвергните проверке, как описано, выше.
При заниженном сопротивлении изоляции трансформатор необходимо сушить. Для этого:
слейте масло; снимите трансформатор с вагона;
отверните болтовые соединейия по периметру крышки;
снимите крышку с закрепленным на ней трансформатором и сушите в специальном шкафу горячим воздухом с вентиляцией для удаления влаги при температуре +70° С до получения установившегося сопротивления изоляции, но не менее 1 МОм;
после сушки визуально убедитесь в отсутствии внешних повреждений изоляции катушек и выводов;
опустите трансформатор в бак и закрепите болтами;
залейте трансформаторное масло до уровня.
Чтобы выявить катушку с меж-витковым замыканием на снятом трансформаторе (без масла), воспользуйтесь схемой, изображенной на рис. 76.
Плавно повышая напряжение питания, наблюдайте за вольтметрами VI и V2. Установите такое напряжение питания, при котором на одном из вольтметров будет 5 В. Если показания другого вольтметра в это же время меньше 4 В, значит имеется межвитковое замыкание в катушке, к обмотке которой подключен вольтметр, показывающий менее 4 В.
Течь масла между крышкой и баком устраните, подтянув болты или заменив маслостойкое резиновое уплотнение. Течь масла в баке устраните с помощью сварки, предварительно слив масло и отделив выемную часть. Во избежание загорания бак внутри протрите салфеткой, смоченной в бензине по ГОСТ 8505^-57, и высушите. Заварите место течи и покройте снаружи черной эмалью ПФ-115 по ГОСТ 6465—76, а внутри — коричневой эмалью 1202 по ТУМХП 2485-51.

Рис. 76. Схема для определения катушки с межвитковым замыканием:
(Лшт — источник переменного напряжения с пределами регулирования 0 ... 15 В; VI, у2 — вольтметры электромагнитной системы, класс точности не ниже 1,5, предел измерения 7,5 В (например, Э 381); Тр — проверяемый трансформатор
|
|