Кузова вагонов электропоезда ЭР9М — цельнометаллические несущей конструкции, выполнены из набора продольных и поперечных элементов жесткости, перекрытых тонким стальным листом. Продольные элементы жесткости (боковые балки рамы, верхние обвязочные угольники боковых стен, гофры боковых стен, гофры крыши) и поперечные (стойки боковых стен, дуги крыши и поперечные балки рамы) представляют собой единую конструкцию, которая обеспечивает одновременную работу всех элементов кузова.
Большинство деталей и узлов головных, моторных и прицепных вагонов унифицировано и выполнено из штампованных или катаных профилей.
Для изготовления ш применяют углеродистые и низколегированные стали.
Рама кузова — сварная, без хребтовой балки. По центру консольной части рамы расположена сварная балка, соединяющая буферный брус со шкворневой балкой и передающая тяговые и ударные усилия через раскосы на боковые элементы кузова. Металлический пол собран из стальных гофрированных листов толщиной 1,8 мм, приваренных к балкам рамы.
Боковые стены обшиты гофрированными листами толщиной 2 и 2,5 мм. В боковине моторного вагона вместо фасоцного профиля применена 2-образная стойка, что облегчает конструкцию. Лобовые и торцовые стены вагонов представляют собой каркас, обшитый стальным гофрированным листом толщиной 2 и 2,5 мм.
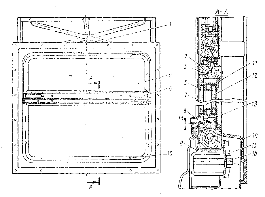
Крыша кузова — цельнометаллическая, изготовлена из равномерно расположенных штампованных дуг 2-образного сечения, обшитых гофрированными листами толщиной 1,5 мм.
Внутренняя обшивка боковых стен и потолка салона состоит из, деревянного каркаса, теплоизоляционных плит (пенопласта ПСБ-С или мипоры), гидроизоляционной пленки ПК-4 и декоративного бумажно-слоистого пластика толщиной 3 мм.
Пол салона выполнен из столярных плит, уложенных на обрешетки из деревянных брусьев, которые крепятся к металлическому гофрированному полу кузова.
Ячейки между брусьями заполнены пенопластом. Плиты пола покрыты линолеумом.
Наружные входные двери (рис. 2) — раздвижные двупольные алюминиевые. Каждая створка / с помощью кронштейнов 4 подвешена
к рейке 3, которая, опираясь на два ряда шариков, заложенных в сепаратор, перемещается в швеллерообразном рельсе 2; привод дверей — электропневматический. Для сигнализации закрытого положения двери оборудованы электрической блокировкой.
Двери пассажирских салонов—раздвижные .(откатные) алюминиевые. Все двери —двупольные, кроме дверей переднего тамбура прицепных и головных вагонов. Створки дверей 3 (рис. 3) подвешены на роликах, которые перекатываются по наклонному рельсу 4. Наклон рельса к середине вагона позволяет обеим створкам двери после открывания их закрываться под действием собственной массы. Внизу створки скользят по направляющему рельсу. Для амортизации при закпывании служит буфер 5.
В закрытом положении створки дверей удерживаются усилием пружин, которое создается, когда направляющие ролики переходят за выступы металлической планки. В летний период для удержания дверей открытыми стопорные угольники, укрепленные на верхнем уголке дверного проема, должны быть переставлены при открытой створке с позиции / на позицию 2.
Окна кабины машиниста обеспечивают хорошую видимость в условиях эксплуатации электропоезда при температуре от +60 до—40°С. Панели остекления лобовых окон кабины машиниста изготовлены из безосколочного стекла, которое не поддается абразивному воздействию и не влияет на нормальное восприятие сигналов. Пленочный электрообогрев предотвращает их обледенение и запотевание (см. гл. XII).
Атмосферные осадки с поверхности стекол удаляются стеклоочистителями с пневматическим приводом. Для защиты от ослепляющего воздействия солнца и других источников света предусмотрены откидные светофильтры, перемещаемые по высоте и ширине окна.
Боковые окна кабины машиниста имеют неподвижную и подвижную (открывающуюся) части. Панель неподвижной части окна и панели лобовых окон представляют собой электрообогревный триплекс; панель открывающейся части бокового окна изготовлена из безосколочного закаленного стекла. Над боковыми окнами установлены указатели маршрута.
В пассажирских салонах установлены широкие (рис. 4) и узкие окна с двойным остеклением. Внутреннюю раму 13 со стеклом 12 крепят шарнирно на петле // к деревянной коробке 2 окна, что позволяет, отвернув винты 10, открыть ее и вымыть внутренние поверхности стекол или заменить любое стекло, не вынимая всего окна. Для удаления конденсата, который может образоваться между стеклами, предусмотрен тазик 8 с носиком.
Все окна пассажирских помещений имеют подъемные форточки 4, которые фиксируются в закрытом и полностью открытом положениях, стержнями, расположенными в ручках 6. Форточки широких окон для облегчения подъема имеют самоуравновешивающийся механизм подъема /. В остальном конструкция узких окон аналогична конструкции широких окон. ч*
ГШ7Вткабине машиниста установлены три сиденья. Сиденья для машиниста и его помощника полумягкие и имеют откидные подлокотники.


Рис. 4- Окно широкое:
./ — механизм подъема; 2 — коробка; 3 — накладка; 4 — форточка; 5 — резиновый профиль; 6 — ручка; 7 — наружное стекло; « — тазик; 9 — прокладка; 10 — винт; петля; 12 — внутреннее стекло; 13 — внутренняя рама; 14 — наличник; 15 — кляммер; 16 — ганка
Можно регулировать высоту сиденья и угол наклона спинки, а также перемещать сиденья параллельно продольной оси вагона. Кроме этого, их можно повернуть вокруг вертикальной .оси на 360°, но зафиксировать можно только одно положение — рабочее. Третье сиденье — откидное для инструктора. В пассажирских салонах установлены в два ряда шестиместные полумягкие диваны (по концам салонов — двухместные). Спинки и подушки сидений изготовлены из латексной губки. Для обшивки использована искусственная кожа.
Над окнами установлены багажные полки с вешалочными крючками. Под крайними широкими окнами в салонах предусмотрены ящички для мелкого мусора. В кабине машиниста имеются две пепельницы. С целью улучшения интерьера стоп-краны размещены в простенке между окнами.
Прицепные и головные вагоны поезда оборудованы туалетными. В туалетной имеются умывальник, унитаз, зеркало, мыльница, вешалочные крючки, поручни,, ящик для туалетной бумаги, кувшин с «ершом», емкость для озонатора. Над потолком туалетной расположен бак для воды. Для улучшения внутреннего вида туалетной бак. для воды, обслуживается со стороны пассажирского помещения. Измененная на электропоезде ЭР9М конфигурация корпуса бака обеспечивает безопасность при его монтаже и демонтаже. Окно туалетной отли-
чается от узкого окна пассажирских салонов тем, что его внутреннее стекло узорчатое.
Электропоезд ЭР9М можно эксплуатировать на линиях, имеющих как высокие, так и низкие платформы. Для этой цели имеются подножки и съемные мостки, которые на дорогах с низкими платформами хранятся в шкафах каждого вагона. При эксплуатации поезда на участках с высокими платформами мостки крепят болтами к полу тамбура.
Автосцепка СА-3 (советская, автосцепка, третий вариант) является тягово-ударной нежесткого типа. Она состоит из корпуса и деталей механизма сцепления. Автосцепка обеспечивает необходимые при эксплуатации подвижного состава рабочие процессы:
автоматическое сцепление при соударении вагонов с маневровой скоростью;
автоматическое запирание замка у сцепленных автосцепок, что
устраняет саморасцеп по ходу поезда;
расцепление вагонов без захода человека между вагонами; • автоматическое возвращение механизма в положение готовности
к сцеплению;
маневровую работу толчками, когда при соударении автосцепки не сцепляются.
Поглощающий'аппарат Р-2П (резиновый второй пассажирский) предназначен для уменьшения продольных усилий, возникающих в поезде. Он является ответственной частью автосцепного устройства: от исправного действия аппарата зависит сохранность и комфортабельность электропоезда. р*1
Аппарат Р-2П состоит из корпуса*5/ (рис. 5), нажимной плиты 2, девяти резино-металлических элементов 3 и промежуточной плиты 4
Полный ход аппарата 70 мм. Ре-зино-металлический элемент аппарата состоит из двух стальных листов толщиной1 2 мм, между которыми расположена специальная морозостойкая резина, жестко связанная (вулканизированная) с листами. Она по своему наружному контуру в сечении имеет параболическое очертание, благодаря чему предотвращается выход сжатой резины за пределы металлических листов. Толщина элемента 41,5 мм. Чтобы исключить относительное смещение резино-металлических элементов и соприкосновение их с кромками корпуса (при сжатии аппарата), на днище его, нажимной и промежуточных плитах, а также на

листах резино-металлических элементов имеются фиксирующие выступы и соответствующие им углубления.
Собирая аппарат, сначала в корпус 1 сбоку заводят нажимную плиту 2 и устанавливают так, чтобы ее упорная часть полностью выходила за окна корпуса. Затем ставят промежуточную плиту 4 таким образом, чтобы ее боковые заплечики обхватывали продольные стенки корпуса. После чего четыре резино-металлических элемента 3 размещают между промежуточной плитой и днищем корпуса. Фиксирующие выступы на элементах должны совпадать с соответствующими углублениями. Под прессом или с помощью специальной струбцины эти элементы через промежуточную шипу сжимают в корпусе аппарата, чтобы между нажимной 2 и промежуточной 4 плитами поставить остальные пять резино-металлических элементов. Затем сжатые элементы освобождают от нагрузки. Они расправляются и запирают введенные в корпус пять резино-металлических элементов. На этом сборка аппарата заканчивается.
Предварительная затяжка аппарата обеспечивается за счет того,что высота резино-металлических элементов в свободном состоянии вместе с промежуточной плитой превышает на 13,5 мм расстояние от нажимной плиты до днища корпуса.
Разбирают аппарат в обратном порядке: предварительно сжимают через промежуточную плиту четыре резино-металлических элемента, вынимают элементы, находящиеся между нажимной и промежуточной плитами.
После снятия нагрузки с промежуточной плиты все остальные элементы аппарата и плита легко вынимаются из корпуса.
Для снижения продольных динамических усилий, возникающих в составе поезда из-за наличия зазоров в автосцепных приборах, а так- * же для обеспечения возможности перехода людей из вагона в вагон установлены переходные площадки с упругими резиновыми уплотнениями (баллонами).
Плотность переходного соединения обеспечивается за счет упругости баллонов, которые применены в конструкции электропоезда ЭР9М вместо переходной металлической рамки, устанавливаемой на серийных вагонах электропоезда ЭР9П. Резиновые баллоны закреплены на профилях торцовой стены вокруг дверного проема. Верхний (поперечный) баллон заменяет верхнюю рессору. Под вертикальными баллонами расположен металлический переходный мостик, который крепится на шпинтонах.
При транспортировке и эксплуатации вагонов разрешается их сцепка только с вагонами, не имеющими буферов.
|
|