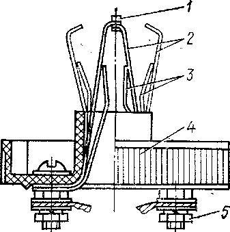
Термоконтакт (рис. 102) предназначен для отключения питания электрического отопления вагонов при значительном повышении температуры в вентиляционном канале в месте установки калориферов"
Рис- 102. Термоконтакт с легкоплавким сплавом:
/ — плавкий контакт; 2 — контактная пластинка; 3 — листовая пружина; 4 — основание; 5 — контактный

Технические данные термоконтакта следующие:
предел контролируемых температур составляет 105 ... 125° С;
разрывная мощность контактов при напряжении 50 В постоянного тока равна 150 Вт.
Работа термоконтакта основана на свойстве легкоплавкого сплава разрушаться при заданной температуре. При повышении температуры до + 105 ... 125° С контакт размягчается и под действием пружин разрывается. После срабатывания термоконтакт легко восстановить, вставив новый контакт. Термоконтакт имеет один размыкающий контакт.
Контакт изготовляют из сплава: 33,5% висмута, 33,5% олова, 33% свинца. Для замены его пользуются специальным приспособлением, в связи с тем, что легкоплавкий сплав относительно хрупок и при сжатии плоскогубцами может разрушиться.
|
|