Электропоезд ЭР2Р имеет тормоза: электрический (реостатно-рекупера-тивный); служебный (ручной); электропневматический колодочный, предназначенный для торможения всеми вагонами, а также для замещения электрического торможения при дотормаживании или срыве последнего; пневматический (колодочный), являющийся резервным для служебного и экстренного торможения, а также при пересылке одиночных вагонов или электропоезда в недействующем состоянии в составе поезда и при срыве стоп-крана или элек-тропневматнческого клапана автостопа.
На электропоезде ЭР2 имеются тормоза тех же видов, кроме электрического (реостатно-рекуперативного).
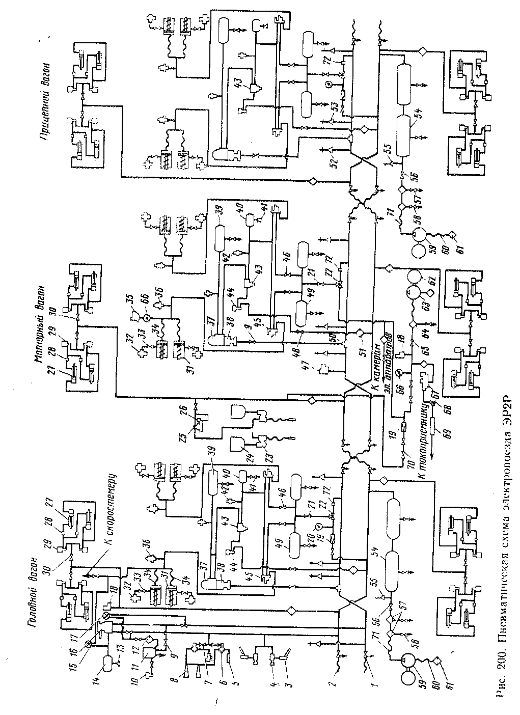
Вдоль всего электропоезда ЭР2Р под полом вагонов проложены два трубопровода — тормозная и напорная магистрали, по концам вагонов заканчивающиеся концевыми кранами 1 (рис. 200) и соединительными рукавами 2. Тормозная магистраль питается сжатым воздухом из напорной магистрали через кран машиниста 16 с контроллером. На трубопроводах, сообщающих кран машиниста с напорной и тормозной магистралями, установлены разобщительные краны 9 (кран двойной тяги) и стоп-краны 52, 53. При поездном положении ручки крана машиниста в тормозной магистрали поддерживается заданное давление; этой же ручкой осуществляется управление электропневматическим и пневматическим тормозами электропоезда.
От тормозной магистрали на каждом вагоне имеются ответвления: через тройник 50 к воздухораспределителю 38. На трубопроводе установлен разобщительный кран 9. В качестве разобщительного крана использован кран двойной тяги, у которого имеющееся в корпусе отверстие, с резьбой труб 1/4" закрыто резьбовой пробкой. От тормозной магистрали имеются ответвления: на моторном вагоне к трехходовому крану 22, через тройник 50 к пневматическому выключателю управления 47. С помощью последнего осуществляется контроль за давлением воздуха в тормозной магистрали. При достижении давления 0,40—0,42 МПа (4—4,2 кгс/см2) замыкается электрический контакт в цепи управления электропоездом и при снижении давления до 0,29—0,27 МПа (2,9—2,7 кгс/см.2) разрывается цепь управления: на головном вагоне имеется ответвление к электропневматическому клапану автостопа // через разобщительный кран 9. \
Напорная магистраль также имеет ответвления: через фильтр 51, кран 48 и вентиль 44 к авторежиму 43, а через фильтр и кран 30 к вентилю 29; на головном и прицепном вагонах к главным резервуарам 54 вместимостью по 170 л каждый; на головном вагоне к регулятору давления 18.
Регулятор давления 18 обеспечивает автоматическое выключение электрокомпрессоров 59 при достижении в напорной магистрали давления сжатого воздуха 0,8 МПа (8 кгс/см2) и включение их при снижении давления до 0,65 МПа (6,5 кгс/см2). На головном вагоне, кроме того , имеются отводы: через разобщительный кран и фильтр 12 к электропневматическому клапану автостопа //;

к кранам 4 стеклоочистителей; через разобщительные краны 7 к клапанам 6 звуковых сигналов.
На моторном вагоне от трубопровода, сообщающего реле давления 45 с тормозными цилиндрами передней тележки, выполнен отвод к пневматическому выключателю 35, который отрегулирован на размыкание электрической цепи при давлении 0,18—0,2 МПа (1,8—2,0 кгс/см2) и на замыкание при давлении 0—0,04 МПа (0--0,4 кгс/см2). На головном вагоне в кабине машиниста установлены два манометра: двухстрелочный манометр 15 для контроля за давлением в уравнительном резервуаре и тормозном цилиндре передней тележки и манометр 17 для контроля за давлением в напорный и тормозной магистралях. Уравнительный резервуар 14 вместимостью 20 л сообщен с краном машиниста 16. Резервуар имеет пробку 13,
Электропневматический клапан автостопа 11 сообщен с включающим вентилем 10. Он обеспечивает автоматическое действие пневматических тормозов в случае разрыва электрической цепи электропневматического тормоза при перемещении ручки крана машиниста в положение электропневматического торможения (положения IV, V и VI).
Для питания сжатым воздухом всей пневматической системы электропоезда на головном и прицепном вагонах установлены воздушные электрокомпрессоры 59. Электрокомпрессор рукавом 60 сообщен с фильтром 61, через который происходит всасывание атмосферного воздуха. Нагнетание сжатого воздуха происходит по рукаву 71, сообщающему электрокомпрессор с первым главным резервуаром 54. На этом трубопроводе установлены два маслоотделителя 57, имеющие водоспускные краны 58 для выпуска конденсата, а также обратный клапан 56. Кроме того, на отводах от нагнетательного трубопровода установлен предохранительный клапан 55.
При повышении давления в напорной сети выше установленного в случае какой-либо неисправности регулятора давления (его электрической или пневматической цепи) срабатывает предохранительный клапан 55, который регулируется на давление 0,89—0,91 МПа (8,9—9,1 кгс/см2).
Для выпуска конденсата на главных резервуарах установлены водоспускные краны.
На каждом вагоне электропоезда установлены воздухораспределители 38 и электровоздухораспределители 37. Воздухораспределитель сообщен с запасным резервуаром 39 вместимостью 78 л и с авторежимом 43. Для повышения стабильности действия авторежима, а также получения наиболее оптимального давления в тормозных цилиндрах объем трубопровода между авторежимом и реле давления 45 увеличен путем подсоединения к нему резервуара 40 вместимостью 12 л, имеющего пробку 41. Для возможности отпуска тормоза вручную на трубопроводах, сообщающих воздухораспределитель с запасным резервуаром и авторежим с реле давления, установлены одинарные выпускные клапаны 42. Вентиль 44 служит для подвода сжатого воздуха к фиксатору авторежима для перефиксации загрузки вагона в момент открывания наружных дверей.
Оба реле давления 45 сообщены трубопроводами с питательными резервуарами 49 вместимостью по 78 л, которые питаются через обратный клапан 21, трехходовой кран 22 и редуктор 19 от напорной магистрали.
Для возможности отключения реле давления на трубопроводе, соединяющем его с резервуаром, установлен разобщительный кран 46. Для возможности регулирования редуктора 19 на головном и прицепном вагонах установлен манометр 20.
На моторном вагоне редуктор установлен на'отводе от трубопровода, идущего к вентилям дверного механизма.
При следовании вагонов в нерабочем состоянии, когда в напорной сети отсутствует сжатый воздух, питание реле давления 45 осуществляется из тор-
мозной магистрали через трехходовой кран, который предварительно должен быть переключен в соответствующее положение, и ниппель 72 диаметром 2,5 мм. Реле давления 45 сообщено трубопроводом через рукава 34 с тормозными цилиндрами 31. На отводах от трубопроводов, идущих к тормозным цилиндрам, установлены сигнализаторы отпуска тормозов 36.
На моторном вагоне тормозные цилиндры сообщены через краны 33 с регуляторами выхода штока 32, действующими от сжатого воздуха тормозных цилиндров и обеспечивающими автоматическое регулирование рычажной передачи в пределах заданных норм выхода штока тормозного цилиндра.
Для централизованного открывания и закрывания наружных раздвижных дверей на каждом вагоне установлены дверные цилиндры 27, полости которых со стороны задних концов сообщены попарно непосредственно с включающим вентилем 29, а полости передних концов сообщены с таким же включающим вентилем через регулировочные вентили 28. Включающие вентили 29 сообщены с напорной магистралью через фильтр и разобщительный кран 30. Регулированием вентилей 28 обеспечивается одновременность открывания и закрывания створок дверей.
На головном вагоне установлены звуковые сигналы — свисток 5 малой звуковой мощности и тифон 8 большой звуковой мощности. Звуковые сигналы сообщены с клапаном 6. При легком нажатии на педаль этого клапана сжатый

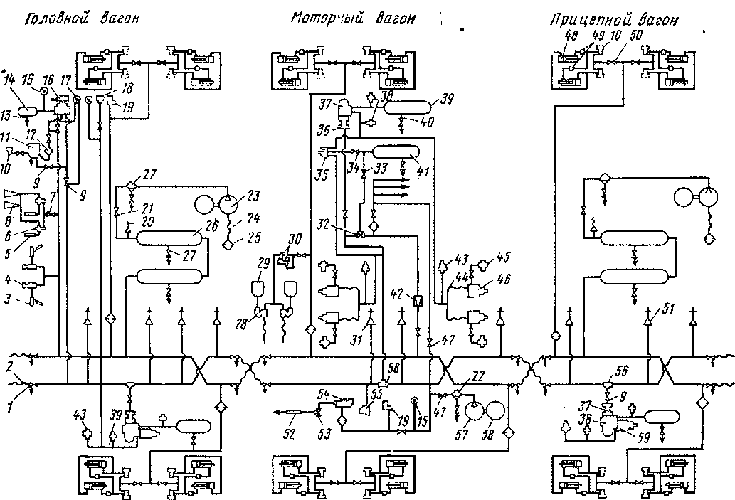
Рис. 201. Пневматическая схема электропоезда ЭР2:
/ - концевой кран; 2, 24, 44 — соединительные рукава; 3 — стеклоочиститель; 4, 27 — краиы; 5 — свисток; 6- клапан звуковых сигналов; 7, 9, 33, 34, 50 — разобщительные краны; 8 — тифои; 10 — включающий вентиль; //—клапан автостопа; 12, 25 — фильтры; 13 — пробка; 14 — уравнительный резервуар; 15, 17 — манометры; 16 — кран машиниста; 18, 19 — регуляторы давления; 20 — предохранительный' кран; 21, 47 — обратные клапаны; 22 — маслоотделитель; 23 — электрокомпрессоры; 26' —главным резервуар; 28— форсунки; 29 — бункера для хранения песка; 30 — клапан форсунки электропиевматическ'ий; 31, 51 — стоп-краны; 32, 53 — трехходовые краны; 35 — реле давления; 36 — воздухораспределитель; 37 — электровоздухораспределитель; 38 — выпускной одинарный клапан; 39 —запасный резервуар; « — рукав токоприемника; 41 — питающий резервуар; «—редуктор; 43 — сигнализатор отпуска тормоза; 45 — регулятор выхода штока; 46, 59 —тормозные цилиндры; 48 — дверные цилиндры; 49 — регулировочные вентили; 52 — изолятор; 54 — клапан токоприемника; 55 — выключатель управления; 56" —тройник; 57 — вспомогательный компрессор; 58 — электродвигатель вспомогательного компрессора
воздух поступает в один из свистков, а при более сильном нажатии — в тот же свисток и оба тифона.
Для очистки лобовых стекол на головном вагоне установлены стеклоочистители 3, сообщенные с кранами 4.
При отсутствии сжатого воздуха в напорной магистрали обеспечение сжатым воздухом привода токоприемника осуществляется вспомогательным компрессором 63. Компрессор приводится в действие электродвигателем 62, который питается от аккумуляторной батареи. Компрессор засасывает воздух через фильтр и нагнетает его через маслоотделитель 64, обратный клапан 65 и далее через фильтр к клапану токоприемника 67. Из клапана токоприемника через трехходовой кран 68 и рукав токоприемника 69 сжатый воздух поступает в цилиндр токоприемника.
Автоматическое включение и выключение вспомогательного компрессора 63 осуществляется регулятором давления 18, установленным на моторном вагоне. Для обеспечения его регулировки установлен манометр 66. По показанию этого манометра также регулируется редуктор 19, установленный на моторном вагоне. Кроме того, на моторном вагоне установлен еще один манометр 66 для контроля давления в тормозных цилиндрах.
После того как электрокомпрессоры 59 повысят давление в напорной сети выше 0,65 МПа (6,5 кгс'см2), регулятор давления выключает вспомогательный компрессор и дальнейшее питание пневматического привода токоприемника осуществляется из напорной магистрали через обратный клапан 70.
Моторный вагон оборудован системой пескоподачи. Для хранения песка установлены два бункера 24 (правый и левый), сообщенные трубопроводом с форсунками 23. Сжатый воздух к форсункам поступает из напорной магистрали через пневматический клапан 25, управляемый включающим вентилем 26.
Принципиальная пневматическая схема электропоезда ЭР2 поясняется рис. 201.
|
|